TOP
|
特許
|
意匠
|
商標
特許ウォッチ
Twitter
他の特許を見る
10個以上の画像は省略されています。
公開番号
2025118118
公報種別
公開特許公報(A)
公開日
2025-08-13
出願番号
2024013248
出願日
2024-01-31
発明の名称
伝熱部材および電子装置
出願人
株式会社サーモグラフィティクス
,
京セラ株式会社
代理人
弁理士法人酒井国際特許事務所
主分類
H01L
23/36 20060101AFI20250805BHJP(基本的電気素子)
要約
【課題】熱拡散性が高い伝熱部材を提供する。
【解決手段】本開示による伝熱部材は、第1伝熱体と、第2伝熱体とを有する。第1伝熱体は、複数のグラフェンが積層された構造を有するグラファイトブロックと、グラフェンの積層方向における一端に位置するグラファイトブロックの第1面に開口する穴部とを有する。第2伝熱体は、穴部に位置し、穴部の内部においてグラファイトブロックと熱的に接続される。積層方向において、第2伝熱体の熱伝導率は、第1伝熱体の熱伝導率よりも高い。積層方向と直交する方向において、第2伝熱体の熱伝導率は、第1伝熱体の熱伝導率よりも低い。
【選択図】図2
特許請求の範囲
【請求項1】
第1伝熱体と、第2伝熱体とを有し、
前記第1伝熱体は、
複数のグラフェンが積層された構造を有するグラファイトブロックと、
前記グラフェンの積層方向における一端に位置する前記グラファイトブロックの第1面に開口する穴部と
を有し、
前記第2伝熱体は、前記穴部に位置し、前記穴部の内部において前記グラファイトブロックと熱的に接続されており、
前記積層方向において、前記第2伝熱体の熱伝導率は、前記第1伝熱体の熱伝導率よりも高く、
前記積層方向と直交する方向において、前記第2伝熱体の熱伝導率は、前記第1伝熱体の熱伝導率よりも低い
伝熱部材。
続きを表示(約 910 文字)
【請求項2】
前記穴部は、前記グラファイトブロックを貫通し、
前記第2伝熱体は、前記グラファイトブロックの前記積層方向における中央部を含む前記穴部の内部領域に位置する
請求項1に記載の伝熱部材。
【請求項3】
前記積層方向において、前記第1伝熱体の熱膨張率は、前記第2伝熱体の熱膨張率よりも高い
請求項1に記載の伝熱部材。
【請求項4】
前記積層方向と直交する方向において、前記第1伝熱体の熱膨張率は、前記第2伝熱体の熱膨張率よりも低い
請求項1に記載の伝熱部材。
【請求項5】
前記積層方向において、前記第1伝熱体の靱性は、前記第2伝熱体の靱性よりも低い
請求項1に記載の伝熱部材。
【請求項6】
前記第2伝熱体は、前記穴部の内部において、複数の前記グラフェンと接合されている
請求項1に記載の伝熱部材。
【請求項7】
前記穴部と前記第2伝熱体との間に接合材を有する
請求項6に記載の伝熱部材。
【請求項8】
前記第1伝熱体および前記第2伝熱体を保護する保護構造を有し、
前記積層方向における前記第1伝熱体の熱膨張率をC1、前記積層方向における前記第2伝熱体の熱膨張率をC2、前記積層方向における前記保護構造の熱膨張率をC3とした場合、前記C1>前記C3、かつ、前記C1-前記C3>|前記C2-前記C3|である
請求項1に記載の伝熱部材。
【請求項9】
前記第1伝熱体および前記第2伝熱体を保護する保護構造を有し、
前記積層方向における前記保護構造の熱伝導率は、前記第1伝熱体の熱伝導率よりも大きい
請求項1に記載の伝熱部材。
【請求項10】
前記第1伝熱体および前記第2伝熱体を保護する保護構造を有し、
前記第1伝熱体と前記保護構造との接合強度は、前記第2伝熱体と前記保護構造との接合強度よりも低い
請求項1に記載の伝熱部材。
(【請求項11】以降は省略されています)
発明の詳細な説明
【技術分野】
【0001】
本開示は、伝熱部材および電子装置に関する。
続きを表示(約 1,600 文字)
【背景技術】
【0002】
従来、電子素子等の熱源において生じた熱を熱源から移動させる伝熱部材が知られている。特許文献1には、金属製の伝熱部材に電子素子を搭載した構造が開示されている。
【先行技術文献】
【特許文献】
【0003】
国際公開第2020/045480号
【発明の概要】
【発明が解決しようとする課題】
【0004】
金属製の伝熱部材には、熱拡散性を向上させるという点で改善の余地があった。ここでいう熱拡散性とは、伝熱部材が伝熱部材の内部あるいは面内において熱を拡散させる能力のことをいう。言い換えれば、熱拡散性とは、熱源から伝わる熱を伝熱部材全体に拡散させる能力のことである。熱拡散性が低い伝熱部材は、熱源に近い場所ほど高温となり、熱源から遠い場所は相対的に低温となる。一方、熱拡散性が高い伝熱部材は、上記のような温度分布の偏りが生じにくい。
【0005】
本開示は、熱拡散性が高い伝熱部材を提供する。
【課題を解決するための手段】
【0006】
本開示の伝熱部材は、伝熱部材は、第1伝熱体と、第2伝熱体とを有する。第1伝熱体は、複数のグラフェンが積層された構造を有するグラファイトブロックと、グラフェンの積層方向における一端に位置するグラファイトブロックの第1面に開口する穴部とを有する。第2伝熱体は、穴部に位置し、穴部の内部においてグラファイトブロックと熱的に接続される。積層方向において、第2伝熱体の熱伝導率は、第1伝熱体の熱伝導率よりも高い。積層方向と直交する方向において、第2伝熱体の熱伝導率は、第1伝熱体の熱伝導率よりも低い。
【図面の簡単な説明】
【0007】
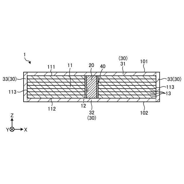
図1は、実施形態に係る伝熱部材の構成の一例を示す模式的な側面図である。
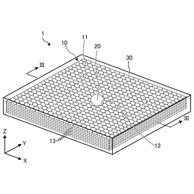
図2は、実施形態に係る伝熱部材の模式的な斜視図である。
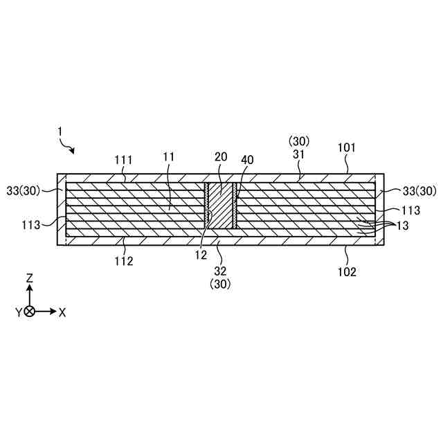
図3は、実施形態に係る伝熱部材の模式的な断面図である。
図4は、熱源で生じた熱が実施形態に係る第1伝熱体および第2伝熱体を移動する様子を模式的に示した図である。
図5は、実施形態に係る伝熱部材の他の構成例を示す模式的な断面図である。
図6は、実施形態に係る伝熱部材の他の構成例を示す模式的な断面図である。
図7は、実施形態に係る電子装置の構成を示す模式的な側面図である。
図8は、実施形態に係る電子装置の構成を示す模式的な平面図である。
図9は、他の実施形態に係る電子装置の構成を示す模式的な側面図である。
図10は、他の実施形態に係る電子装置の構成を示す模式的な平面図である。
【発明を実施するための形態】
【0008】
以下に、本開示による伝熱部材および電子装置を実施するための形態(以下、「実施形態」と記載する)について図面を参照しつつ詳細に説明する。なお、この実施形態により本開示が限定されるものではない。また、各実施形態は、処理内容を矛盾させない範囲で適宜組み合わせることが可能である。また、以下の各実施形態において同一の部位には同一の符号を付し、重複する説明は省略される。
【0009】
また、以下に示す実施形態では、「一定」、「直交」、「垂直」あるいは「平行」といった表現が用いられる場合があるが、これらの表現は、厳密に「一定」、「直交」、「垂直」あるいは「平行」であることを要しない。すなわち、上記した各表現は、例えば製造精度、設置精度などのずれを許容するものとする。
【0010】
また、以下参照する各図面では、説明を分かりやすくするために、互いに直交するX軸方向、Y軸方向およびZ軸方向を規定し、Z軸正方向を鉛直上向き方向とする直交座標系を示す場合がある。
(【0011】以降は省略されています)
この特許をJ-PlatPat(特許庁公式サイト)で参照する
関連特許
個人
フレキシブル電気化学素子
1日前
日本発條株式会社
積層体
12日前
ローム株式会社
半導体装置
3日前
ローム株式会社
半導体装置
8日前
ローム株式会社
半導体装置
10日前
ローム株式会社
半導体装置
10日前
ローム株式会社
半導体装置
10日前
個人
防雪防塵カバー
12日前
株式会社ユーシン
操作装置
1日前
太陽誘電株式会社
コイル部品
1日前
株式会社GSユアサ
蓄電設備
1日前
個人
半導体パッケージ用ガラス基板
11日前
株式会社GSユアサ
蓄電装置
8日前
オムロン株式会社
電磁継電器
2日前
株式会社GSユアサ
蓄電装置
12日前
株式会社ホロン
冷陰極電子源
8日前
株式会社ティラド
面接触型熱交換器
23日前
株式会社GSユアサ
蓄電設備
1日前
太陽誘電株式会社
全固体電池
8日前
トヨタ自動車株式会社
二次電池
12日前
ローム株式会社
電子装置
12日前
日本特殊陶業株式会社
保持装置
12日前
日本特殊陶業株式会社
保持装置
10日前
トヨタ自動車株式会社
バッテリ
2日前
TDK株式会社
電子部品
8日前
ノリタケ株式会社
熱伝導シート
1日前
日本特殊陶業株式会社
保持装置
8日前
トヨタ自動車株式会社
蓄電装置
1日前
日本特殊陶業株式会社
保持装置
8日前
サクサ株式会社
電池の固定構造
1日前
マクセル株式会社
配列用マスク
23日前
日東電工株式会社
積層体
2日前
ローム株式会社
半導体装置
12日前
日本特殊陶業株式会社
電極
8日前
株式会社デンソー
電子装置
12日前
TDK株式会社
コイル部品
10日前
続きを見る
他の特許を見る