TOP
|
特許
|
意匠
|
商標
特許ウォッチ
Twitter
他の特許を見る
公開番号
2025114111
公報種別
公開特許公報(A)
公開日
2025-08-05
出願番号
2024008580
出願日
2024-01-24
発明の名称
ガス発生器
出願人
日本化薬株式会社
代理人
弁理士法人深見特許事務所
主分類
B60R
21/264 20060101AFI20250729BHJP(車両一般)
要約
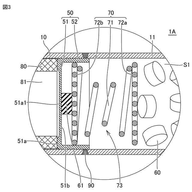
【課題】小型軽量化と組立作業の容易化とが図られたガス発生器を提供する。
【解決手段】ガス発生器1Aは、内部の空間がガス発生剤収容室S1およびフィルタ室に仕切られたハウジングと、ガス発生剤収容室S1に収容されたガス発生剤60、オートイグニッション剤61およびコイルバネ70とを少なくとも備える。コイルバネ70は、ガス発生剤60側に位置する第1押圧部72aと、オートイグニッション剤61側に位置する第2押圧部72bと、これらの間に位置するバネ部71とを有する。第1押圧部72aと第2押圧部72bとは、全体として板状形状をなすように構成される。上記軸方向に沿って見た場合に、第2押圧部72bは、オートイグニッション剤61よりも外形が大きく、かつ、バネ部71は、第1押圧部72aおよび第2押圧部72bよりも外形が小さい括れ部73を含む。
【選択図】図3
特許請求の範囲
【請求項1】
ガス発生剤収容室を規定する部分、および、フィルタが収容されたフィルタ室を規定する部分を含む筒状の周壁部を有するハウジングと、
前記ハウジングの内部に位置し、前記ハウジングの内部の空間を前記周壁部の軸方向において前記ガス発生剤収容室と前記フィルタ室とに仕切る仕切り部と、
前記ガス発生剤収容室に収容された複数の粒状のガス発生剤と、
前記軸方向における前記ハウジングの前記ガス発生剤収容室側の一端に組付けられ、前記ガス発生剤を燃焼させるための点火器と、
前記仕切り部の前記ガス発生剤収容室に面する側の主面に接触するように前記ガス発生剤収容室に収容され、前記点火器の作動に依らずに自動発火するオートイグニッション剤と、
金属線材を巻き回すことで構成されるとともに、前記オートイグニッション剤と前記ガス発生剤との間に圧縮された状態で介装されたコイルバネとを備え、
前記コイルバネは、前記ガス発生剤側に位置する第1押圧部と、前記オートイグニッション剤側に位置する第2押圧部と、前記第1押圧部および前記第2押圧部の間に位置するバネ部とを有し、
前記第1押圧部は、当該第1押圧部が全体として板状形状をなすように前記金属線材の一端が配索されることで構成され、
前記第2押圧部は、当該第2押圧部が全体として板状形状をなすように前記金属線材の他端が配索されることで構成され、
前記ガス発生剤は、前記第1押圧部を介して前記バネ部によって前記点火器側に向けて付勢されることで前記ガス発生剤収容室の内部において固定され、
前記オートイグニッション剤は、前記第2押圧部を介して前記バネ部によって前記フィルタ室側に向けて付勢されることで前記ガス発生剤収容室の内部において固定され、
前記軸方向に沿って見た場合に、前記第2押圧部の外形は、前記オートイグニッション剤の外形よりも大きく、
前記軸方向に沿って見た場合において、前記バネ部が、前記第1押圧部および前記第2押圧部のいずれよりも外形が小さい括れ部を含んでいる、ガス発生器。
続きを表示(約 360 文字)
【請求項2】
前記軸方向に沿って見た場合における前記第1押圧部の外形の大きさと、前記軸方向に沿って見た場合における前記第2押圧部の外形の大きさとが、同一である、請求項1に記載のガス発生器。
【請求項3】
前記第1押圧部および前記第2押圧部が、前記軸方向に沿って見た場合に、前記金属線材が所定の間隔をもって渦巻き状に配置されることで構成されている、請求項1に記載のガス発生器。
【請求項4】
前記第2押圧部が、全体として円板状の形状をなすように構成され、
前記仕切り部には、当該仕切り部の周縁から前記ガス発生剤収容室側に向けて立設された円環状の環状壁部が設けられ、
前記第2押圧部の外径と、前記環状壁部の内径とが、略同一である、請求項1から3のいずれかに記載のガス発生器。
発明の詳細な説明
【技術分野】
【0001】
本発明は、自動車等に装備される乗員保護装置としてのエアバッグ装置に組み込まれるガス発生器に関し、特に、サイドエアバッグ装置等に好適に組み込まれる外形が長尺円柱状のいわゆるシリンダ型ガス発生器に関する。
続きを表示(約 1,300 文字)
【背景技術】
【0002】
従来、自動車等の乗員の保護の観点から、乗員保護装置であるエアバッグ装置が普及している。エアバッグ装置は、車両等衝突時に生じる衝撃から乗員を保護する目的で装備されるものであり、車両等衝突時に瞬時にエアバッグを膨張および展開させることにより、エアバッグがクッションとなって乗員の体を受け止めるものである。
【0003】
ガス発生器は、このエアバッグ装置に組み込まれ、車両等衝突時にコントロールユニットからの通電によって点火器を着火し、点火器において生じる火炎によりガス発生剤を燃焼させて多量のガスを瞬時に発生させ、これによりエアバッグを膨張および展開させる機器である。
【0004】
ガス発生器には、車両等に対する設置位置やガス出力等の仕様に基づき、種々の構成のものが存在している。その一つに、シリンダ型ガス発生器と称されるものがある。シリンダ型ガス発生器は、その外形が長尺円柱状であり、サイドエアバッグ装置やカーテンエアバッグ装置、ニーエアバッグ装置、シートクッションエアバッグ装置等に好適に組み込まれる。
【0005】
通常、シリンダ型ガス発生器においては、ハウジングの軸方向の一端部に点火器が組付けられるとともに当該一端部側に複数の粒状のガス発生剤が収容されたガス発生剤収容室が設けられる。
【0006】
また、近年、ガス発生剤収容室にオートイグニッション剤がさらに収容されたシリンダ型ガス発生器が知られている。オートイグニッション剤は、点火器の作動に依らずに自動発火することにより、シリンダ型ガス発生器が組み込まれたエアバッグ装置が装備された車両等において万が一火災等が発生した場合に、シリンダ型ガス発生器が外部から加熱されることによって異常動作が誘発されないようにするためのものである。
【0007】
上記構成のシリンダ型ガス発生器が開示された文献としては、たとえば特開2022-102514号公報(特許文献1)が挙げられる。当該特許文献1に開示されたシリンダ型ガス発生器においては、オートイグニッション剤とガス発生剤との間に介装されたコイルバネによってこれらが弾性付勢されることにより、これらがガス発生剤収容室の内部において固定されている。
【先行技術文献】
【特許文献】
【0008】
特開2022-102514号公報
【発明の概要】
【発明が解決しようとする課題】
【0009】
ここで、上述したようにオートイグニッション剤を具備することで安全性の向上が図られたシリンダ型ガス発生器にあっては、小型軽量化と、組立作業のさらなる容易化とが重要な課題となっている。
【0010】
したがって、本発明は、上述した問題に鑑みてなされたものであり、小型軽量化と組立作業の容易化とが図られたガス発生器を提供することを目的とする。
【課題を解決するための手段】
(【0011】以降は省略されています)
この特許をJ-PlatPat(特許庁公式サイト)で参照する
関連特許
日本化薬株式会社
インク
24日前
日本化薬株式会社
ガス発生器
13日前
日本化薬株式会社
ガス発生器
1か月前
日本化薬株式会社
ガス発生器
1か月前
日本化薬株式会社
ガス発生器
11日前
日本化薬株式会社
前処理組成物
10日前
日本化薬株式会社
インク組成物
24日前
日本化薬株式会社
防護システム
21日前
日本化薬株式会社
メタノール改質触媒
1か月前
日本化薬株式会社
インク組成物及び捺染方法
10日前
日本化薬株式会社
ガス発生器およびその製造方法
19日前
日本化薬株式会社
プリテンショナー用ガス発生装置
17日前
日本化薬株式会社
インクジェットインク印刷物の製造方法。
24日前
日本化薬株式会社
アクチュエータ、安全装置、および、飛行体
5日前
日本化薬株式会社
インクジェット記録装置用水系顔料インクセット
1か月前
日本化薬株式会社
メタクロレイン及び/又はメタクリル酸の製造用触媒
10日前
日本化薬株式会社
アントラキノン化合物を含有する液晶組成物及び調光素子
12日前
日本化薬株式会社
アントラキノン化合物を含有する液晶組成物及び調光素子
25日前
日本化薬株式会社
アントラキノン化合物を含有する液晶組成物及び調光素子
25日前
日本化薬株式会社
画像表示システム及びヘッドアップディスプレイシステム
6日前
日本化薬株式会社
アントラキノン化合物を含有する液晶組成物及び調光素子
1か月前
日本化薬株式会社
ガス発生器
21日前
日本化薬株式会社
インクジェット捺染用白色顔料インク組成物、及びインクセット
6日前
日本化薬株式会社
インクジェット用インク、インクセット、インクジェット記録方法
6日前
日本化薬株式会社
水系インク組成物、水系インクセット及びインクジェット記録方法
1か月前
日本化薬株式会社
液晶滴下工法用液晶シール剤の製造方法、及び液晶表示パネルの製造方法
11日前
国立大学法人北海道大学
触媒及びそれを用いた不飽和カルボン酸の製造方法
11日前
日本化薬株式会社
アゾ化合物又はその塩、並びにそれらを含有する偏光膜、偏光板及び表示装置
11日前
日本化薬株式会社
縮合多環芳香族化合物、有機半導体材料、光電変換素子用材料、有機薄膜、及び有機光電変換素子
10日前
個人
タイヤレバー
2か月前
個人
前輪キャスター
1か月前
個人
上部一体型自動車
17日前
個人
ホイルのボルト締結
3か月前
個人
ルーフ付きトライク
2か月前
個人
タイヤ脱落防止構造
1か月前
日本精機株式会社
表示装置
2か月前
続きを見る
他の特許を見る