TOP
|
特許
|
意匠
|
商標
特許ウォッチ
Twitter
他の特許を見る
公開番号
2025109641
公報種別
公開特許公報(A)
公開日
2025-07-25
出願番号
2024003649
出願日
2024-01-14
発明の名称
半導体発光素子、および半導体発光素子の製造方法
出願人
株式会社小糸製作所
,
学校法人 名城大学
代理人
弁理士法人プロウィン
主分類
H10H
20/813 20250101AFI20250717BHJP()
要約
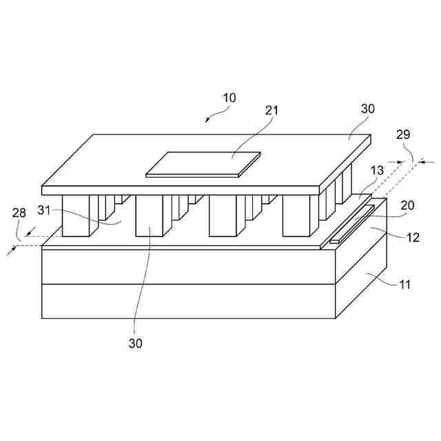
【課題】p型の半導体層からの水素離脱を効率的に行うことが可能な半導体発光素子、および半導体発光素子の製造方法を提供する。
【解決手段】成長基板(11)と、成長基板(11)の主面に対し鉛直方向に立設され、内部に活性層を備えた複数の発光半導体層と、複数の発光半導体層を埋め込み、内部に空隙(31)を有する埋込半導体層(30)と、埋込半導体層(30)の一部が除去され、空隙(31)を露出させる除去領域(28)と、を含む。
【選択図】図1
特許請求の範囲
【請求項1】
成長基板と、
前記成長基板の主面に対し鉛直方向に立設され、内部に活性層を備えた複数の発光半導体層と、
前記複数の発光半導体層を埋め込み、内部に空隙を有する埋込半導体層と、
前記埋込半導体層の一部が除去され、前記空隙を露出させる除去領域と、を含むことを特徴とする半導体発光素子。
続きを表示(約 940 文字)
【請求項2】
請求項1に記載の半導体発光素子であって、
前記発光半導体層は中心に配置されたn型コア層、前記n型コア層の外周に配置された活性層、および前記活性層の外周に配置されたp型半導体層を備え、
前記埋込半導体層がp型の半導体層であることを特徴とする半導体発光素子。
【請求項3】
請求項1に記載の半導体発光素子であって、
前記発光半導体層は、前記成長基板の主面に対し鉛直方向に延伸する柱状の柱状半導体層であり、
前記空隙が一体的に接続されていることを特徴とする半導体発光素子。
【請求項4】
請求項1に記載の半導体発光素子であって、
前記発光半導体層は、前記成長基板の主面に対し鉛直方向に立設されるとともに前記成長基板の主面方向に延在する壁状の壁状半導体層であり、
前記除去領域は前記壁状半導体の延在方向と交差する方向に形成されていることを特徴とする半導体発光素子。
【請求項5】
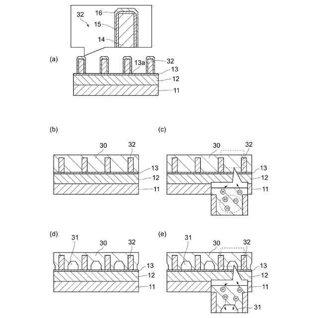
成長基板上に開口部を有するマスクを形成するマスク形成工程と、
選択成長を用いて前記開口部にn型コア層を形成する工程と、前記n型コア層の外周に活性層を形成する工程と、前記活性層の外周にp型半導体層を形成する工程と、を含む複数の発光半導体層を形成する発光半導体層形成工程と、
前記複数の発光半導体層を埋め込むとともに、内部に空隙を形成するように前記成長基板上にp型の埋込半導体層を形成する埋込半導体層形成工程と、
前記埋込半導体層の一部を除去して前記空隙を露出させる除去領域形成工程と、
全体に熱処理を施し、前記p型半導体層、および前記埋込半導体層の活性化を行う活性化工程と、を含むことを特徴とする半導体発光素子の製造方法。
【請求項6】
請求項5に記載の半導体発光素子の製造方法であって、
前記p型半導体層、および埋込半導体層はGaN系の半導体層であり、
前記埋込半導体層形成工程における成長温度、およびV/III比は、前記p型半導体層を形成する工程の成長温度、およびV/III比よりも高いことを特徴とする半導体発光素子の製造方法。
発明の詳細な説明
【技術分野】
【0001】
本発明は、半導体発光素子、および半導体発光素子の製造方法に関する。
続きを表示(約 1,400 文字)
【背景技術】
【0002】
半導体発光素子は、活性層において正孔と電子とが再結合することにより発光する。従来、活性層として平坦なシート状の井戸層が用いられてきた。近年、柱状などの三次元的構造を有する活性層について研究されてきている。特許文献1には、このような半導体発光素子の一例が開示されている。特許文献1に係る半導体発光素子は、n型コア層の周囲に活性層が形成され、活性層の周囲にp型半導体層が形成された複数の柱状半導体層(ナノワイヤ)を備えている。複数のナノワイヤは、さらにp型の埋込半導体層で埋め込まれている。
【先行技術文献】
【特許文献】
【0003】
特開2020-077817号公報
【発明の概要】
【発明が解決しようとする課題】
【0004】
ところで、半導体発光素子を構成するp型の半導体層は、半導体発光素子の製造工程において外部へ露出させ、活性化する必要がある。より具体的には、p型の半導体層を外部へ露出させた状態で熱処理(アニール処理)を施し、水素を離脱させる。
【0005】
上記従来技術に係る半導体発光素子では、製造工程においてp型の埋込半導体層が外部に露出されるので、その状態で活性化処理を行うことも考えられる。しかしながら、埋込半導体層は柱状半導体層を埋め込むだけの厚さを有しているので、埋込半導体層の表面からある深さ以上の領域において十分な水素離脱を行うことは困難である。すなわち、このような活性化処理では、外部に露出している表面から一定の領域までしか活性化できない可能性がある。活性化が不十分だと、p型の半導体層が高抵抗となり、半導体発光素子の素子効率が低下してしまう。
【0006】
そこで本発明は、上記従来の問題点に鑑みなされたものであり、p型の半導体層からの水素離脱を効率的に行うことが可能な半導体発光素子、および半導体発光素子の製造方法を提供することを目的とする。
【課題を解決するための手段】
【0007】
上記課題を解決するために、本発明の半導体発光素子は、成長基板と、前記成長基板の主面に対し鉛直方向に立設され、内部に活性層を備えた複数の発光半導体層と、前記複数の発光半導体層を埋め込み、内部に空隙を有する埋込半導体層と、前記埋込半導体層の一部が除去され、前記空隙を露出させる除去領域と、を含むことを特徴とする。
【0008】
このような本発明の半導体発光素子では、成長基板の主面に対し鉛直方向に立設され、内部に活性層を備えた複数の発光半導体層と、複数の発光半導体層を埋め込み、内部に空隙を有する埋込半導体層とを含む半導体発光素子において、埋込半導体層の一部が除去され、空隙を露出させる除去領域を備えているため、p型の半導体層からの水素離脱を効率的に行うことが可能となる。
【0009】
また本発明の一態様では、前記発光半導体層は中心に配置されたn型コア層、前記n型コア層の外周に配置された活性層、および前記活性層の外周に配置されたp型半導体層を備え、前記埋込半導体層がp型の半導体層であることを特徴とする。
【0010】
また本発明の一態様では、前記発光半導体層は、前記成長基板の主面に対し鉛直方向に延伸する柱状の柱状半導体層であり、前記空隙が一体的に接続されていることを特徴とする。
(【0011】以降は省略されています)
この特許をJ-PlatPat(特許庁公式サイト)で参照する
関連特許
株式会社小糸製作所
車両用灯具
1日前
株式会社小糸製作所
車両用灯具
15日前
株式会社小糸製作所
車両用灯具
27日前
株式会社小糸製作所
車両用灯具
26日前
株式会社小糸製作所
車両用灯具
26日前
株式会社小糸製作所
車両用灯具
19日前
株式会社小糸製作所
車両用灯具
19日前
株式会社小糸製作所
車両用灯具
19日前
株式会社小糸製作所
車両用灯具
29日前
株式会社小糸製作所
車両用灯具
13日前
株式会社小糸製作所
車両用灯具
12日前
株式会社小糸製作所
車両用灯具
12日前
株式会社小糸製作所
車輌用灯具
12日前
株式会社小糸製作所
照明表示装置
26日前
株式会社小糸製作所
画像投影装置
19日前
株式会社小糸製作所
虚像表示装置
28日前
株式会社小糸製作所
表示システム
28日前
株式会社小糸製作所
画像表示装置
6日前
株式会社小糸製作所
道路冠水通知システム
13日前
株式会社小糸製作所
表示制御装置及び表示装置
28日前
株式会社小糸製作所
電子ユニット及び車両用灯具
26日前
株式会社小糸製作所
車両用灯具及び車両用灯具の製造方法
26日前
株式会社小糸製作所
レンズに付着する雪を融かす融雪機構
22日前
株式会社小糸製作所
画像投影ユニットおよび画像投影装置
22日前
株式会社小糸製作所
開閉機構、車両用灯具及び車両用前照灯
26日前
株式会社小糸製作所
画像照射装置、画像投影装置、および画像照射方法
13日前
株式会社小糸製作所
車両用灯具、ハウジング及びハウジングの製造方法
26日前
株式会社小糸製作所
光源ユニット、光源ユニットの製造方法、および車両用灯具
27日前
株式会社小糸製作所
配光制御装置、配光制御プログラムおよび車両用前照灯システム
26日前
株式会社小糸製作所
車両用センサ装置
29日前
株式会社小糸製作所
車両用赤外線センサ内蔵灯具
6日前
個人
半導体装置
28日前
東レ株式会社
太陽電池モジュール
28日前
エイブリック株式会社
縦型ホール素子
22日前
旭化成株式会社
発光素子
8日前
エイブリック株式会社
縦型ホール素子
22日前
続きを見る
他の特許を見る