TOP
|
特許
|
意匠
|
商標
特許ウォッチ
Twitter
他の特許を見る
公開番号
2025109544
公報種別
公開特許公報(A)
公開日
2025-07-25
出願番号
2024003498
出願日
2024-01-12
発明の名称
トレー状部材と、そのトレー状部材の製造方法
出願人
株式会社三五
代理人
個人
,
個人
主分類
B21D
51/18 20060101AFI20250717BHJP(本質的には材料の除去が行なわれない機械的金属加工;金属の打抜き)
要約
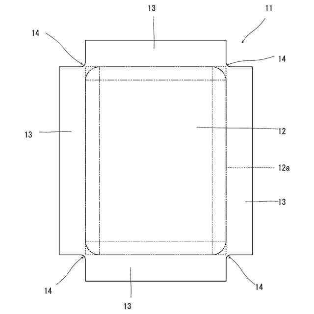
【課題】壁部の端部同士を密着することが出来るトレー状部材とトレー状部材の製造方法を提案する。
【解決手段】矩形状の矩形部12と、矩形部12の外縁12aから外側方向に突出する側縁部13を4つと、周方向に隣り合う側縁部13,13間に設けた肉部14で略十字状に形成された金属製の板材11を用い、矩形部12の一部より形成された底天板部2を有し、底天板部2の周囲に、矩形部12の外周部と側縁部13と肉部14を押圧形成して形成した壁部3を4つ設け、周方向に隣り合う壁部3,3同士を、連接部4において連接し、連接部4における底天板部2側を、絞り加工により形成し、連接部4における底天板部2と反対側を、抜き加工により壁部3の周方向の端面3b,3b同士を密着させて形成した。
【選択図】 図1
特許請求の範囲
【請求項1】
矩形状の矩形部と、該矩形部の外縁から外側方向に突出する側縁部を4つと、周方向に隣り合う側縁部間に設けた肉部で略十字状に形成された金属製の板材を用い、
前記矩形部の一部より形成された底天板部を有し、該底天板部の周囲に、前記矩形部の外周部と前記側縁部と前記肉部を押圧形成して形成した壁部を4つ設け、
周方向に隣り合う壁部同士を、連接部において連接し、
前記連接部における前記底天板部側を、絞り加工により形成し、前記連接部における前記底天板部と反対側を、抜き加工により壁部の周方向の端面同士を密着させて形成したことを特徴とするトレー状部材。
続きを表示(約 620 文字)
【請求項2】
当接する2つの壁部の端部により、その連接部が弧状となるように形成されていることを特徴とする請求項1記載のトレー状部材。
【請求項3】
矩形状の矩形部と、該矩形部の外縁から外側方向に突出する側縁部を4つと、周方向に隣り合う側縁部間に設けた肉部で略十字状に形成された金属製の板材を形成する板材形成工程と、
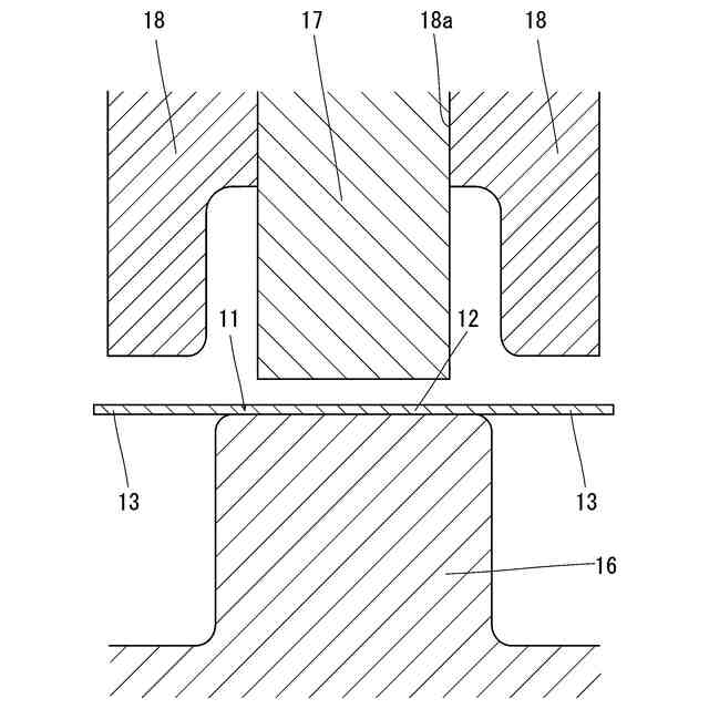
板材形成工程の後に、前記矩形部の一部を、両面から支持部材により保持する保持工程と、
保持工程後に、前記支持部材に対し相対的に移動する形成部材により、前記矩形部の外周部と前記縁部と前記肉部を押圧して、前記矩形部の一部により底天板部を形成するとともに、該底天板部の周囲に4つの壁部と、周方向に隣り合う壁部の端部同士が連接する連接部を形成する壁部形成工程と、を有し、
前記連接部において、前記底天板部側を、絞り加工により一体形成し、前記連接部において、底天板部と反対側を、抜き加工により壁部の周方向の端面同士を密着させたことを特徴とするトレー状部材の製造方法。
【請求項4】
前記抜き加工において、当接する2つの壁部の端部により、その連接部が弧状となるように形成したことを特徴とする請求項3記載のトレー状部材の製造方法。
【請求項5】
前記支持部材を固定し、前記形成部材を移動するようにしたことを特徴とする請求項3又は4記載のトレー状部材の製造方法。
発明の詳細な説明
【技術分野】
【0001】
本発明は、トレー状部材と、そのトレー状部材の製造方法に関する。
続きを表示(約 1,100 文字)
【背景技術】
【0002】
従来、金属製のトレー状部材を、プレス加工により成形する場合、板材の底板部分を、パンチとダイで移動させて絞って、底板の周囲に壁部を形成することが行われている。
【0003】
しかし、壁部の高さを確保しようとすると、深絞り加工となり、壁部が薄板化し、壁部の板厚や平面度を確保することが難しくなり、壁部に反りやしゃくれが発生したり、角部等に割れが生じる虞がある。
【0004】
この問題を解決したものとして、板材を略十字状に形成し、その角部を円弧状に形成し、4つの辺を、底部に対し起こして、底部の周囲に4つの壁部を形成する際に、底部に近い一定範囲にのみ絞り加工を行い、その反対側を突き合わせることで、絞り加工の範囲を狭くすることで薄肉化を回避することが提案されている(特許文献1参照。)
【先行技術文献】
【特許文献】
【0005】
特開平4-56117号公報
【発明の概要】
【発明が解決しようとする課題】
【0006】
しかし、絞り加工以外の部分は、壁部の端部同士が直交するにように形成されているため、端部同士を隙間なく密着させることが難しく、大きな隙間が形成されてしまうという問題がある。
【0007】
また、当接できたとしても、端部同士が線接触となるため、トレー状部材の気密性等を担保することが難しいという問題がある。
【0008】
そこで、本発明は、壁部の端部同士を密着することが出来るトレー状部材とトレー状部材の製造方法を提供することを目的とするものである。
【課題を解決するための手段】
【0009】
前記の課題を解決するために、本発明は、矩形状の矩形部と、該矩形部の外縁から外側方向に突出する側縁部を4つと、周方向に隣り合う側縁部間に設けた肉部で略十字状に形成された金属製の板材を用い、
前記矩形部の一部より形成された底天板部を有し、該底天板部の周囲に、前記矩形部の外周部と前記側縁部と前記肉部を押圧形成して形成した壁部を4つ設け、
周方向に隣り合う壁部同士を、連接部において連接し、
前記連接部における前記底天板部側を、絞り加工により形成し、前記連接部における前記底天板部と反対側を、抜き加工により壁部の周方向の端面同士を密着させて形成したことを特徴とするトレー状部材である。
【0010】
また、当接する2つの壁部の端部により、その連接部が弧状となるように形成されていてもよい。
(【0011】以降は省略されています)
この特許をJ-PlatPat(特許庁公式サイト)で参照する
関連特許
株式会社三五
消音器
2か月前
株式会社三五
排気装置
2か月前
株式会社三五
排気浄化装置
1日前
株式会社三五
ドライブシャフト
1か月前
株式会社三五
筒状部材の形成方法
1か月前
株式会社三五
配管用マーキング装置
14日前
株式会社三五
配管用マーキング装置
2か月前
株式会社三五
管材のインシュレータ
3か月前
株式会社三五
二重テーパ部の製造方法
3か月前
株式会社三五
ハイブリッド車の排気システム
2日前
株式会社三五
テーパ部を有する円筒体の成形方法
16日前
株式会社三五
フランジ部を有する中空部材の形成方法
1か月前
株式会社三五
スプラインの形成装置及びスプラインの形成方法
2か月前
株式会社三五
差厚パイプの押出成形装置及び差厚パイプの押出成形方法
23日前
個人
棒鋼連続引抜装置
8か月前
個人
鋼線の連続伸線方法
7日前
個人
ヘッダー加工機
5か月前
株式会社オプトン
曲げ加工装置
8か月前
株式会社不二越
NC転造盤
4か月前
株式会社不二越
NC転造盤
8か月前
日伸工業株式会社
プレス加工装置
4か月前
日東精工株式会社
中空軸部品の製造方法
4か月前
オムロン株式会社
導線折り曲げ治具
2か月前
株式会社西田製作所
パンチャーヘッド
6か月前
トヨタ紡織株式会社
プレス装置
6か月前
株式会社アマダ
曲げ金型
2か月前
工機ホールディングス株式会社
ニブラ
6か月前
トヨタ紡織株式会社
プレス金型
5か月前
トヨタ紡織株式会社
プレス金型
7か月前
東栄工業株式会社
ダブルデッキヘミング金型
4か月前
トヨタ紡織株式会社
プレス金型
2か月前
株式会社アマダ
曲げ加工機
5か月前
株式会社トラバース
パンチング加工装置
7か月前
株式会社TMEIC
監視装置
7か月前
トヨタ自動車株式会社
打ち抜き加工方法
6か月前
トヨタ自動車株式会社
打ち抜き加工装置
28日前
続きを見る
他の特許を見る