TOP
|
特許
|
意匠
|
商標
特許ウォッチ
Twitter
他の特許を見る
10個以上の画像は省略されています。
公開番号
2025091914
公報種別
公開特許公報(A)
公開日
2025-06-19
出願番号
2023207460
出願日
2023-12-08
発明の名称
ホイールコンベヤの受具用スペーサー
出願人
矢崎化工株式会社
代理人
弁理士法人山名国際特許事務所
主分類
B65G
39/12 20060101AFI20250612BHJP(運搬;包装;貯蔵;薄板状または線条材料の取扱い)
要約
【課題】ホイールコンベヤユニットに取り付けられる受具の下に入れるだけで、搬送物をうまく流れやすくするためのホイールコンベヤの受具用スペーサーを提供する。
【解決手段】ホイールコンベヤユニット30に取り付けられるフック状受具4の下に入れて、ホイールコンベヤユニット30を幅方向Wに傾かせる受具用スペーサー1である。上下二つの面A、Bが、各々内側に向かって傾斜する先細り形状を有する立体形状であり、上下二つの面A、Bの一方の面Aには第1対象物の外周面に当接可能な第1接触面15と、他方の面Bには第2対象物の外周面に当接可能な第2接触面16とを有し、一つの当該受具用スペーサー1で二つの対象物に当接可能である。
【選択図】図4
特許請求の範囲
【請求項1】
ホイールコンベヤユニットに取り付けられるフック状受具の下に入れて、前記ホイールコンベヤユニットを幅方向に傾かせる受具用スペーサーであって、
上下二つの面が、各々内側に向かって傾斜する先細り形状を有する立体形状であり、
前記上下二つの面の一方の面には第1対象物の外周面に当接可能な第1接触面と、他方の面には第2対象物の外周面に当接可能な第2接触面とを有し、一つの当該受具用スペーサーで二つの対象物に当接可能であること、
を特徴とするホイールコンベヤの受具用スペーサー。
続きを表示(約 1,000 文字)
【請求項2】
ホイールコンベヤを構成する左右に向かい合う一対の前記ホイールコンベヤユニットに使用され、
上下をひっくり返して前記第1接触面又は前記第2接触面のいずれかを、前記第1対象物又は第2対象物に接触させて使用され、傾いた前記ホイールコンベヤユニットの左側と右側が同じ高さで左右が線対称に向い合うように構成可能であること、
を特徴とする請求項1に記載のホイールコンベヤの受具用スペーサー。
【請求項3】
ホイールコンベヤユニットに取り付けられるフック状受具の下に入れて、前記ホイールコンベヤユニットを幅方向に傾かせる受具用スペーサーであって、
平面方向から見てコ字状の如く中央の一部を切り欠いた立体形状に形成され、
当該受具用スペーサーの本体の側面を手で圧縮すると変形し、離すと復元して前記受具に着脱自在な構造であること、
を特徴とするホイールコンベヤの受具用スペーサー。
【請求項4】
前記受具の側面に係止穴が形成されていると共に、前記受具用スペーサーの本体の側面に突起が設けられ、
前記受具の下に入れて当該受具用スペーサーを取付ける際、圧縮後の復元時に前記係止穴に前記突起が嵌合し、再度手で圧縮しない限り外れ難くて着脱自在な構造であること、
を特徴とする請求項4に記載のホイールコンベヤの受具用スペーサー。
【請求項5】
ホイールコンベヤユニットに取り付けられるフック状受具の下に入れて、前記ホイールコンベヤユニットを幅方向に傾かせる受具用スペーサーであって、
上下二つの面が、各々内側に向かって傾斜する先細り形状を有し、かつ平面方向から見てコ字状の如く中央の一部を切り欠いた立体形状に形成されていること、
前記上下二つの面の一方の面には、第1対象物の外周面に当接可能な第1接触面と、他方の面には、第2対象物の外周面に当接可能な第2接触面とを有し、一つの当該受具用スペーサーで二つの対象物に当接可能であること、
前記受具用スペーサーの本体の側面の幅方向を手で圧縮すると変形し、離すと復元する構造であり、前記受具の下に入れて取付ける際、圧縮後の復元時に、前記受具の側面に形成した係止穴に前記受具用スペーサーの本体の側面に設けた突起を嵌合させ、再度手で圧縮しない限り外れ難くて着脱自在な構造であること、
を特徴とするホイールコンベヤの受具用スペーサー。
発明の詳細な説明
【技術分野】
【0001】
この発明は、ホイールコンベヤの受具用スペーサーに関し、さらに言えば、自動車の組み立てライン等に使用される流動棚やコンベヤ等を構成する所定間隔の横パイプ間に渡されるホイールコンベヤユニットを取り付ける受具のフック部の下に入れて幅方向の片側を高くし、一対の相対して並ぶホイールコンベヤユニットを逆ハの字状に傾斜をもたせるための受具用スペーサーの技術分野に属する。
続きを表示(約 2,700 文字)
【背景技術】
【0002】
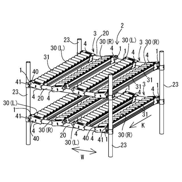
自動車の製造現場にある先入れ先出しの流動棚等に利用されており、横パイプ間に渡されたホイールコンベヤを形成するホイールコンベアユニットが、一対で平行に並んで、その一対のホイールコンベヤユニットを棚の横パイプ間に掛け止める受具で作られた棚は従来から公知である。
しかし、図9に示したように、搬送物5の底面が、ホイールコンベヤをなすホイールコンベヤユニット30のホイール31上の搬送面を面接触で当たる事から、底面に底だれを起こした箱のような搬送物5や、図8に示したように、製品を入れる箱の底面の外表面には補強用のリブが設けられており、そのリブの間にホイール31が嵌まってしまうような搬送物5では、途中で止まってしまってうまく流れなくなる等の不都合が発生した。流そうとしてコンベヤの搬送方向(図9の符号K参照)の角度を急にすると、今度は正常の箱の流れる速度が速くなり過ぎてしまって問題が起こった。
そこで、一対のホイールコンベヤユニット30を逆ハの字状で向かい合わせた状態に固定すれば、変形が起こり難い箱の底面の縁側の底辺角部が、ホイールコンベヤユニット30のホイール31に当たることになるから、搬送物5がうまく流れやすくなる点に着目した(図7参照)。
【0003】
また、従来技術に関し下記特許文献1には、その第4図~第6図に示したようなコンベア式棚装置が例えば自動車の組立ラインの近傍へ設置して便利に使用されている。これは被運搬物として組立部品を収納した多数の運搬用の容器a(箱、以下同じ)を多段に効率良く積込むと共に、特に最前列の容器は急勾配に傾けた態様で支持されている。よって、当該コンベア式棚装置の構成は、その第5図に示したように、ローラー1が上向きに少しせり出した態様でそのローラ軸両端を回転自在に支持した長い溝形鋼状のローラー保持枠2(ホイールコンベヤユニットに相当)を用意し、パイプ等を使用して組立てたコンベアフレーム3へ前記ローラー保持枠2の両端部を架設した構成とされている。
そして、ローラー保持枠2には、多数のローラー1が長手方向に一定のピツチで取付けられている。使用に際しては、ローラー保持枠2の両端部に第6図の枠体の受具4を取付け、コンベアフレーム3に対して受具4を掛止めることによる架設が行なわれている。前記の受具4は、正面方向から見て略Z形鋼状をなして下向きに開口された溝形部4aを有する主体41と、前記溝形部4aに隣接するLクランク部の上に載置して一体的に固着された接続具42とから成る旨記載されている(同文献1の従来の技術の項参照)。
【先行技術文献】
【特許文献】
【0004】
実公平2-49219号公報
【発明の概要】
【発明が解決しようとする課題】
【0005】
前記特許文献1の第5図に示されているようなホイールコンベヤ用の受具4のみを使ってホイールコンベヤユニットを取り付けた棚(第4図参照)では、クリープを起こして底面が外側に膨らんで変形した容器aだと、ホイールに膨らんだ底面がぶつかり流れ難い。
また、流れの悪い容器aに合わせ、ホイールコンベヤユニットたるローラー保持枠2自体の傾斜角度を付けると、今度は流れの良い容器aは、速度が付き過ぎてしまい、搬送物によっては衝撃で破損する問題等が起こる。
さらに、第4図に示したような多段の流動棚等では、傾斜角度を付ける事で、出入り間口の間隔が広くなり、デッドスペースが出来てしまい、これらが解決すべき課題とされている。
【0006】
したがって、本発明の目的は、ホイールコンベヤユニットを取り付ける受具のフック部の下に入れるだけで、一対のホイールコンベヤユニットを逆ハの字状で向かい合わせた状態に固定でき、変形が起こり難い箱の底面の縁側の底辺角部が、ホイールコンベヤのホイールに当たるようにして、搬送物をうまく流れやすくするためのホイールコンベヤの受具用スペーサーを提供することにある。
【課題を解決するための手段】
【0007】
上記の課題を解決する手段として、請求項1に記載した発明は、ホイールコンベヤユニット30に取り付けられるフック状受具4の下に入れて、前記ホイールコンベヤユニット30を幅方向Wに傾かせる受具用スペーサー1であって、
上下二つの面A、Bが、各々内側に向かって傾斜する先細り形状を有する立体形状であり、
前記上下二つの面A、Bの一方の面Aには第1対象物の外周面に当接可能な第1接触面15と、他方の面Bには第2対象物の外周面に当接可能な第2接触面16とを有し、一つの当該受具用スペーサー1で二つの対象物に当接可能であること、
を特徴とするホイールコンベヤの受具用スペーサーである。
【0008】
請求項2に記載した発明は、ホイールコンベヤ3を構成する左右に向かい合う一対の前記ホイールコンベヤユニット30、30に使用され、
上下をひっくり返して前記第1接触面15又は前記第2接触面16のいずれかを、前記第1対象物又は第2対象物に接触させて使用され、傾いた前記ホイールコンベヤユニット30の左側Lと右側Rが同じ高さで左右が線対称に向い合うように構成可能であること、
を特徴とする請求項1に記載のホイールコンベヤの受具用スペーサーである。
【0009】
請求項3に記載した発明は、ホイールコンベヤユニット30に取り付けられるフック状受具4の下に入れて、前記ホイールコンベヤユニット30を幅方向Wに傾かせる受具用スペーサー1であって、
平面方向から見てコ字状の如く中央17の一部を切り欠いた立体形状に形成され、
当該受具用スペーサー1の本体10の側面11を手で圧縮すると変形し、離すと復元して前記受具4に着脱自在な構造であること、
を特徴とするホイールコンベヤの受具用スペーサーである。
【0010】
請求項4に記載した発明は、前記受具4の側面40に係止穴41が形成されていると共に、前記受具用スペーサー1の本体10の側面11に突起12が設けられ、
前記受具4の下に入れて当該受具用スペーサー1を取付ける際、圧縮後の復元時に前記係止穴41に前記突起12が嵌合し、再度手で圧縮しない限り外れ難くて着脱自在な構造であること、
を特徴とする請求項4に記載のホイールコンベヤの受具用スペーサーである。
(【0011】以降は省略されています)
この特許をJ-PlatPat(特許庁公式サイト)で参照する
関連特許
矢崎化工株式会社
ホイールコンベヤの受具用スペーサー
4か月前
個人
収容箱
3か月前
個人
コンベア
5か月前
個人
段ボール箱
6か月前
個人
ゴミ収集器
6か月前
個人
容器
9か月前
個人
段ボール箱
7か月前
個人
角筒状構造体
5か月前
個人
宅配システム
6か月前
個人
バンド
2か月前
個人
土嚢運搬器具
8か月前
個人
楽ちんハンド
5か月前
個人
お薬の締結装置
5か月前
個人
廃棄物収容容器
2か月前
個人
閉塞装置
10か月前
個人
コード類収納具
8か月前
個人
包装容器
1か月前
個人
積み重ね用補助具
2か月前
個人
蓋閉止構造
3か月前
個人
貯蔵サイロ
7か月前
株式会社コロナ
梱包材
5か月前
株式会社バンダイ
物品
19日前
個人
蓋閉止構造
3か月前
個人
ゴミ処理機
9か月前
株式会社和気
包装用箱
9か月前
個人
把手付米袋
4か月前
個人
コード折り畳み器具
4か月前
三甲株式会社
容器
5か月前
三甲株式会社
容器
3日前
三甲株式会社
蓋体
7か月前
三甲株式会社
蓋体
9か月前
三甲株式会社
容器
5か月前
株式会社KY7
封止装置
3か月前
個人
包装箱
10か月前
株式会社新弘
容器
2か月前
個人
輸送積荷用動吸振器
6か月前
続きを見る
他の特許を見る