TOP
|
特許
|
意匠
|
商標
特許ウォッチ
Twitter
他の特許を見る
公開番号
2025086198
公報種別
公開特許公報(A)
公開日
2025-06-06
出願番号
2023200101
出願日
2023-11-27
発明の名称
熱源ユニット
出願人
株式会社パロマ
代理人
個人
,
個人
主分類
F24H
9/02 20060101AFI20250530BHJP(加熱;レンジ;換気)
要約
【課題】従来よりも簡易に組み立てることができる熱源ユニットを提供する。
【解決手段】枠状に組まれたタンクフレーム11にタンク3が設置されたタンクユニット2と、枠状に組まれたHPフレーム21にヒートポンプが設置されたHPユニット20とに分割可能で、且つ、タンクユニット2とHPユニット20とを上下に積み重ねて連結した。また、タンクフレーム11内において、タンク3を左に寄せた位置に設置するとともに、HPフレーム21内において、吸熱部25を左に寄せた位置に設置し、タンクユニット2とHPユニット20とにおいて、同じ右側にタンク3又は吸熱部25のない配管スペースを確保した。さらに、タンクユニット2及びHPユニット20における配管スペース内に、タンク往き管4及びタンク戻り管5をタンクユニット2とHPユニット20とに跨がって配管した。
【選択図】図2
特許請求の範囲
【請求項1】
湯水を溜めるためのタンクと、前記タンク内の湯水を加熱するためのヒートポンプと、前記タンクと前記ヒートポンプとの間で湯水を循環させるための循環手段とを備えた熱源ユニットであって、
枠状に組まれたタンクフレームに前記タンクが設置されたタンクユニットと、枠状に組まれたヒートポンプフレームに前記ヒートポンプが設置されたヒートポンプユニットとに分割可能で、且つ、前記タンクユニットと前記ヒートポンプユニットとが上下に積み重ねて連結されている一方、
前記タンクフレーム内において、前記タンクが左右何れか一方に寄せた位置に設置されているとともに、前記ヒートポンプフレーム内において、前記ヒートポンプを構成する吸熱部が左右で前記タンクと同じ側に寄せた位置に設置され、
前記タンクユニットと前記ヒートポンプユニットとにおいて、左右同じ側に前記タンク又は前記吸熱部のない配管スペースが確保されており、
さらに、前記タンクユニット及び前記ヒートポンプユニットにおける前記配管スペース内に、前記循環手段の一構成要素で前記タンク側から前記ヒートポンプ側へ湯水を送るタンク往き管と、前記循環手段の一構成要素で前記ヒートポンプ側から前記タンク側へ湯水を戻すタンク戻り管とが、前記タンクユニットと前記ヒートポンプユニットとに跨がって配管され、前記タンク往き管と前記タンク戻り管との少なくとも何れか一方の前記タンク側の端部が、前記タンクの側面に接続されていることを特徴とする熱源ユニット。
続きを表示(約 320 文字)
【請求項2】
前記タンクユニットの上側に前記ヒートポンプユニットが設置されている一方、
前記タンクユニットの前記配管スペース内に、前記循環手段の一構成要素であるポンプが設置され、前記タンクの側面下部から前記ポンプにポンプ接続管が接続され、前記タンク内の湯水は、前記ポンプ接続管から前記ポンプを介して前記タンク往き管側へ送られるとともに、
前記タンク往き管の前記ヒートポンプ側の端部と前記タンク戻り管の前記ヒートポンプ側の端部とが、前記ヒートポンプを構成する水熱交換器に接続され、
さらに、前記タンク戻り管の前記タンク側の端部が前記タンクの側面上部に接続されていることを特徴とする請求項1に記載の熱源ユニット。
発明の詳細な説明
【技術分野】
【0001】
本発明は、湯水を溜めるタンクユニット、及びタンクユニットで溜められている湯を保温するためのヒートポンプユニットを備えた熱源ユニットに関するものである。
続きを表示(約 3,600 文字)
【背景技術】
【0002】
湯水を溜めるためのタンクユニット、及びタンクユニットで溜められている湯を保温するためのヒートポンプユニットを備えた従来周知の熱源ユニットには、タンクユニットとヒートポンプユニットとの間で湯を循環させるための循環路が設けられている。たとえば特許文献1に記載の熱源ユニットでは、タンクユニット側から延びるタンク往き管及びタンク戻り管と、ヒートポンプユニット側から延びるヒート往き管及びヒート戻り管とを夫々接続口体を介して接続することにより、タンクユニットとヒートポンプユニットとの間で湯を循環させるための循環路を設けている。
【先行技術文献】
【特許文献】
【0003】
特開2011-220569号公報
【発明の概要】
【発明が解決しようとする課題】
【0004】
循環路の形成は、タンクユニットとヒートポンプユニットとの設置後に行われることになるため、作業スペースを確保しづらい。したがって、循環路を形成するための作業、ひいては熱源ユニットの組み立て作業が非常に煩わしいという問題があった。
【0005】
そこで、本発明は、上記問題に鑑みなされたものであって、従来よりも簡易に組み立てることができる熱源ユニットを提供しようとするものである。
【課題を解決するための手段】
【0006】
上記目的を達成するために、本発明のうち請求項1に記載の発明は、湯水を溜めるためのタンクと、前記タンク内の湯水を加熱するためのヒートポンプと、前記タンクと前記ヒートポンプとの間で湯水を循環させるための循環手段とを備えた熱源ユニットであって、枠状に組まれたタンクフレームに前記タンクが設置されたタンクユニットと、枠状に組まれたヒートポンプフレームに前記ヒートポンプが設置されたヒートポンプユニットとに分割可能で、且つ、前記タンクユニットと前記ヒートポンプユニットとが上下に積み重ねて連結されている一方、前記タンクフレーム内において、前記タンクが左右何れか一方に寄せた位置に設置されているとともに、前記ヒートポンプフレーム内において、前記ヒートポンプを構成する吸熱部が左右で前記タンクと同じ側に寄せた位置に設置され、前記タンクユニットと前記ヒートポンプユニットとにおいて、左右同じ側に前記タンク又は前記吸熱部のない配管スペースが確保されており、さらに、前記タンクユニット及び前記ヒートポンプユニットにおける前記配管スペース内に、前記循環手段の一構成要素で前記タンク側から前記ヒートポンプ側へ湯水を送るタンク往き管と、前記循環手段の一構成要素で前記ヒートポンプ側から前記タンク側へ湯水を戻すタンク戻り管とが、前記タンクユニットと前記ヒートポンプユニットとに跨がって配管され、前記タンク往き管と前記タンク戻り管との少なくとも何れか一方の前記タンク側の端部が、前記タンクの側面に接続されていることを特徴とする。
請求項2に記載の発明は、請求項1に記載の発明において、前記タンクユニットの上側に前記ヒートポンプユニットが設置されている一方、前記タンクユニットの前記配管スペース内に、前記循環手段の一構成要素であるポンプが設置され、前記タンクの側面下部から前記ポンプにポンプ接続管が接続され、前記タンク内の湯水は、前記ポンプ接続管から前記ポンプを介して前記タンク往き管側へ送られるとともに、前記タンク往き管の前記ヒートポンプ側の端部と前記タンク戻り管の前記ヒートポンプ側の端部とが、前記ヒートポンプを構成する水熱交換器に接続され、さらに、前記タンク戻り管の前記タンク側の端部が前記タンクの側面上部に接続されていることを特徴とする。
【発明の効果】
【0007】
本発明によれば、枠状に組まれたタンクフレームにタンクが設置されたタンクユニットと、枠状に組まれたヒートポンプフレームにヒートポンプが設置されたヒートポンプユニットとに分割可能で、且つ、タンクユニットとヒートポンプユニットとが上下に積み重ねて連結されている一方、タンクフレーム内において、タンクが左右何れか一方に寄せた位置に設置されているとともに、ヒートポンプフレーム内において、ヒートポンプを構成する吸熱部が左右でタンクと同じ側に寄せた位置に設置され、タンクユニットとヒートポンプユニットとにおいて、左右同じ側にタンク又は吸熱部のない配管スペースが確保されている。また、タンクユニット及びヒートポンプユニットにおける配管スペース内に、循環手段の一構成要素でタンク側からヒートポンプ側へ湯水を送るタンク往き管と、循環手段の一構成要素でヒートポンプ側からタンク側へ湯水を戻すタンク戻り管とが、タンクユニットとヒートポンプユニットとに跨がって配管されている。したがって、タンクユニットとヒートポンプユニットとの設置後に、配管スペースを利用して循環路の形成に係る作業を実施することができ、循環路を形成するための作業、ひいては熱源ユニットの組み立て作業を非常に簡易に行うことができる。
さらに、タンク往き管とタンク戻り管との少なくとも何れか一方のタンク側の端部が、タンクの側面に接続されている。したがって、タンク往き管とタンク戻り管との少なくとも何れか一方とタンクとを非常に容易に接続することができ、極めて簡易に熱源ユニットを組み立てることができる。加えて、タンクの上下両面にタンク往き管やタンク戻り管を接続する構造と比較すると、タンクの上方と下方との少なくとも何れか一方には配管スペースを設ける必要がないため、タンクフレーム内におけるタンクの大型化やタンクユニットの小型化を図ることができる。
また、請求項2に記載の発明によれば、タンクユニットの上側にヒートポンプユニットが設置されている一方、タンクユニットの配管スペース内に、循環手段の一構成要素であるポンプが設置され、タンクの側面下部からポンプにポンプ接続管が接続され、タンク内の湯水は、ポンプ接続管からポンプを介してタンク往き管側へ送られるとともに、タンク往き管のヒートポンプ側の端部とタンク戻り管のヒートポンプ側の端部とが、ヒートポンプを構成する水熱交換器に接続され、さらに、タンク戻り管のタンク側の端部がタンクの側面上部に接続されている。したがって、比較的重量のあるタンク及びポンプを下側に位置させることができ、熱源ユニットの設置状態を安定させることができる上、特にヒートポンプ側からタンク側へ湯水を戻すための構成を簡易な構成とすることができ、部品点数の削減や組み立て作業の更なる簡易化を図ることができる。また、ポンプ接続管とタンク戻り管との両方がタンクの側面に接続されるため、タンクの上方にも下方にも配管スペースを設ける必要がなく、タンクフレーム内における一層のタンクの大型化やタンクユニットの一層の小型化を図ることができる。
【図面の簡単な説明】
【0008】
熱源ユニットを正面から示した説明図である。
熱源ユニットから前パネルを取り外した状態を正面から示した説明図である。
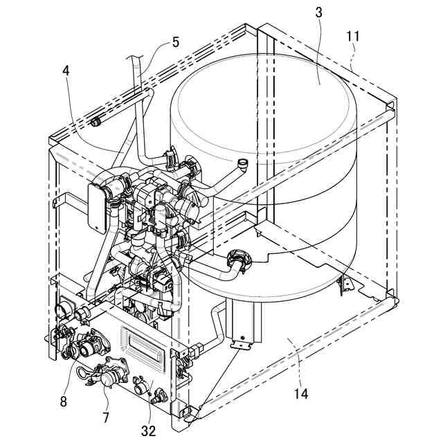
タンクユニット上にヒートポンプユニットを積み重ねた状態を示した斜視説明図である。
図3の状態からタンク往き管及びタンク戻り管を取り外した状態を示した斜視説明図である。
タンクユニットの右側面を示した斜視説明図である。
タンクユニットとヒートポンプユニットとに分割した状態を示した説明図である。
熱源ユニットの第1の変更例を示した説明図である。
熱源ユニットの第2の変更例を示した説明図である。
【発明を実施するための形態】
【0009】
以下、本発明の一実施形態となる熱源ユニットについて、図面にもとづき詳細に説明する。
【0010】
図1は、熱源ユニット1を正面から示した説明図である。図2は、熱源ユニット1から前パネル30を取り外した状態を正面から示した説明図である。図3は、タンクユニット2上にヒートポンプユニット20を積み重ねた状態を示した斜視説明図である。図4は、図3の状態からタンク往き管4及びタンク戻り管5を取り外した状態を示した斜視説明図である。図5は、タンクユニット2の右側面を示した斜視説明図である。図6は、タンクユニット2とヒートポンプユニット20とに分割した状態を示した説明図である。図7は、熱源ユニットの第1の変更例を示した説明図である。図8は、熱源ユニットの第2の変更例を示した説明図である。
(【0011】以降は省略されています)
この特許をJ-PlatPat(特許庁公式サイト)で参照する
関連特許
株式会社パロマ
湯沸器
1か月前
株式会社パロマ
ガスコンロ
4日前
株式会社パロマ
ガスコンロ
4日前
株式会社パロマ
ガスコンロ
4日前
株式会社パロマ
加熱調理装置
5日前
株式会社パロマ
加熱調理装置
8日前
株式会社パロマ
加熱調理装置
1か月前
株式会社パロマ
加熱調理装置
1か月前
株式会社パロマ
加熱調理装置
1か月前
株式会社パロマ
食器洗浄機用ブースター
1か月前
株式会社パロマ
食器洗浄機用ブースター
1か月前
株式会社パロマ
食器洗浄機用ブースター
1か月前
株式会社パロマ
食器洗浄機用ブースター
1か月前
株式会社パロマ
食器洗浄機用ブースター
25日前
株式会社パロマ
食器洗浄機用ブースター
12日前
株式会社パロマ
加熱調理装置及び製造方法
28日前
株式会社パロマ
給湯器の製造方法及び給湯器
1か月前
株式会社パロマ
アフターバーナ及び加熱調理装置
5日前
株式会社パロマ
ヒートポンプ熱源機及び給湯システム
5日前
株式会社パロマ
ヒートポンプ熱源機及び給湯システム
5日前
株式会社パロマ
ガスコンロの製造方法およびガスコンロ
4日前
株式会社トヨトミ
五徳
11日前
株式会社コロナ
空調装置
1か月前
株式会社コロナ
空調装置
26日前
株式会社コロナ
空調装置
11日前
株式会社コロナ
加湿装置
1か月前
株式会社コロナ
給湯装置
3か月前
株式会社コロナ
空調装置
2か月前
個人
油ハネ防止カーテン
今日
株式会社コロナ
空調装置
11日前
株式会社コロナ
空調装置
1か月前
株式会社コロナ
風呂給湯機
1か月前
個人
太陽光パネル傾斜装置
21日前
株式会社コロナ
空気調和機
2か月前
個人
住宅換気空調システム
2か月前
株式会社コロナ
空気調和機
3か月前
続きを見る
他の特許を見る