TOP
|
特許
|
意匠
|
商標
特許ウォッチ
Twitter
他の特許を見る
10個以上の画像は省略されています。
公開番号
2025068245
公報種別
公開特許公報(A)
公開日
2025-04-28
出願番号
2023178011
出願日
2023-10-16
発明の名称
給湯器
出願人
株式会社パロマ
代理人
弁理士法人暁合同特許事務所
主分類
F24H
9/02 20060101AFI20250421BHJP(加熱;レンジ;換気)
要約
【課題】意匠性の低下を抑制する。
【解決手段】本開示の給湯器は、扉孔DH付きで開閉可能な扉Dを前側に備える収納スペースの内部に固定され、自身の前方に突出する排気筒16を有し、この排気筒16は、扉Dが閉じられた状態では、収納スペースの内側から外側に向けて扉孔DHを挿通している給湯器であって、収納スペース内において排気筒16の周囲に配置され、給湯器における排気筒16の周辺部分を前方から覆うカバー部材90を備えている。
【選択図】図9
特許請求の範囲
【請求項1】
扉孔付きで開閉可能な扉を前側に備える収納スペースの内部に固定され、
自身の前方に突出する排気筒を有し、
この排気筒は、前記扉が閉じられた状態では、前記収納スペースの内側から外側に向けて前記扉孔を挿通している給湯器であって、
前記収納スペース内において前記排気筒の周囲に配置され、前記給湯器における前記排気筒の周辺部分を前方から覆うカバー部材を備えた、給湯器。
続きを表示(約 180 文字)
【請求項2】
前記給湯器は、給湯器本体と、前方に開口するとともに前記給湯器本体を覆う筐体と、前記筐体の開口を閉じるフロントカバーと、を備え、
前記カバー部材は、前記フロントカバーにおける前記排気筒の周辺部分を前方から覆うものとされ、前記カバー部材は、前記フロントカバーを前記筐体に締結するビスによって前記筐体に共締めされている、請求項1に記載の給湯器。
発明の詳細な説明
【技術分野】
【0001】
本開示は、給湯器に関する。
続きを表示(約 2,000 文字)
【背景技術】
【0002】
アパート、マンション等の集合住宅のパイプシャフト内に設置された給湯器として、例えば特開2017-211135号公報(下記特許文献1)に記載の給湯器が知られている。この給湯器は、集合住宅のパイプシャフト内に設置された固定フレームに取り付けられる。固定フレームの前面側には、給湯器を覆うことが可能な扉が設置されている。この扉には、給湯器の前面部に設けられている排気筒を扉の前方側に露出させるための開口部が設けられている。上記集合住宅では、開口部の径が排気筒の径よりわずかに大きくなるように設定され、排気筒の外周面とこれに対向する開口部の周縁との間に環状の隙間が形成されている。この隙間は、扉の開閉の際に扉が排気筒に干渉するのを防止する必要があることと、外気を給湯器に供給することを考慮すると不可欠である。
【先行技術文献】
【特許文献】
【0003】
特開2017-211135号公報
【発明の概要】
【発明が解決しようとする課題】
【0004】
しかしながら、給湯器の取り替えが行われたとしても、扉は交換されない場合が多く、給湯器の取り替えに伴って排気筒の径が小さくなった場合には、上記の隙間が大きくなって、美観が損なわれやすい。
【課題を解決するための手段】
【0005】
本開示の給湯器は、扉孔付きで開閉可能な扉を前側に備える収納スペースの内部に固定され、自身の前方に突出する排気筒を有し、この排気筒は、前記扉が閉じられた状態では、前記収納スペースの内側から外側に向けて前記扉孔を挿通している給湯器であって、前記収納スペース内において前記排気筒の周囲に配置され、前記給湯器における前記排気筒の周辺部分を前方から覆うカバー部材を備えた、給湯器である。
【発明の効果】
【0006】
本開示によれば、意匠性の低下を抑制できる。
【図面の簡単な説明】
【0007】
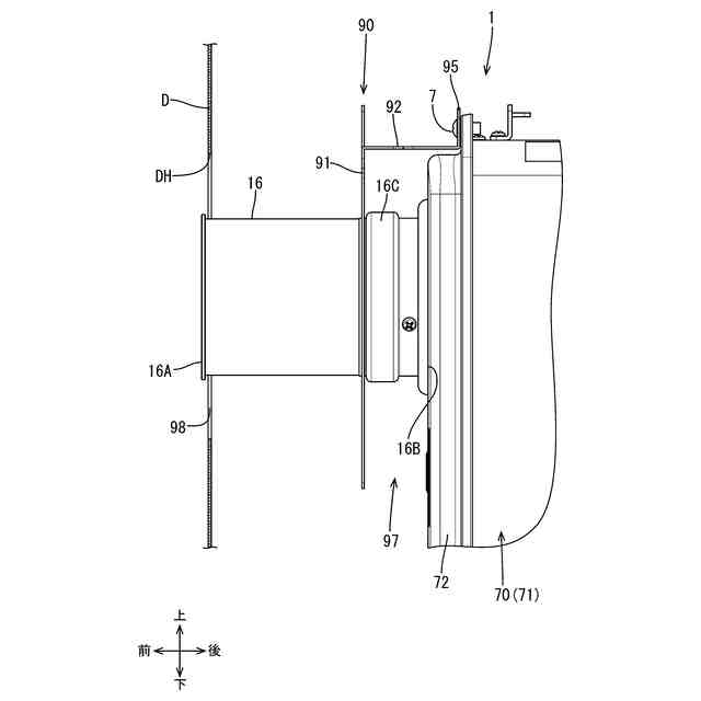
図1は、実施形態にかかる給湯暖房機の正面図である。
図2は、フロントカバーを除いた給湯暖房機の正面図である。
図3は、給湯暖房機の概略回路図である。
図4は、カバー部材が取り付けられた給湯暖房機の斜視図である。
図5は、カバー部材が取り付けられた給湯暖房機の側面図である。
図6は、カバー部材が取り付けられた給湯暖房機の正面図である。
図7は、カバー部材の斜視図である。
図8は、カバー部材が取り付けられていない給湯暖房機の取付構造を扉の前方から見た正面図である。
図9は、カバー部材が取り付けられた給湯暖房機の取付構造を扉の前方から見た斜視図である。
【発明を実施するための形態】
【0008】
[本開示の実施形態の説明]
最初に本開示の実施態様を列挙して説明する。
(1)本開示の給湯機は、扉孔付きで開閉可能な扉を前側に備える収納スペースの内部に固定され、自身の前方に突出する排気筒を有し、この排気筒は、前記扉が閉じられた状態では、前記収納スペースの内側から外側に向けて前記扉孔を挿通している給湯器であって、前記収納スペース内において前記排気筒の周囲に配置され、前記給湯器における前記排気筒の周辺部分を前方から覆うカバー部材を備えた、給湯器である。
【0009】
例えば古い給湯器が新しい給湯器に取り替えられた際に、新しい給湯器の排気筒の径が古い給湯器の排気筒の径よりも小さくなる場合があり得る。その場合、排気筒の外周面とこれに対向する扉孔の孔縁との間に形成される環状の隙間が大きくなる。すると、環状の隙間を通じて、人の視界に、給湯器の構成部品が不自然に入ってしまうことになる。この課題に対し上記の給湯器は収納スペース内において排気筒の周囲に配置され、給湯器における排気筒の周辺部分を前方から覆うカバー部材を備えるものとされている。これにより、環状の隙間を扉の内側から覆うとともに、給湯器の構成部品(例えば、フロントパネルや、排気筒の一部膨出した部分)が、不自然に視界に入るのを防止することで、意匠性の低下を抑制できる。さらに、カバー部材を、扉の色に合わせて塗装したり、影に見立てて黒色に塗布したりすることにより、費用をあまりかけることなく美観低下を防止できる。
【0010】
(2)(1)に記載の給湯器において、前記給湯器は、給湯器本体と、前方に開口するとともに前記給湯器本体を覆う筐体と、前記筐体の開口を閉じるフロントカバーと、を備え、前記カバー部材は、前記フロントカバーにおける前記排気筒の周辺部分を前方から覆うものとされ、前記カバー部材は、前記フロントカバーを前記筐体に締結するビスによって前記筐体に共締めされていることが好ましい。
(【0011】以降は省略されています)
この特許をJ-PlatPat(特許庁公式サイト)で参照する
関連特許
株式会社パロマ
給湯器
2か月前
株式会社パロマ
給湯器
3か月前
株式会社パロマ
湯沸器
1か月前
株式会社パロマ
燃焼装置
3か月前
株式会社パロマ
給湯暖房機
3か月前
株式会社パロマ
給湯暖房機
3か月前
株式会社パロマ
ガスコンロ
4日前
株式会社パロマ
給湯暖房機
3か月前
株式会社パロマ
給湯暖房機
3か月前
株式会社パロマ
給湯暖房機
3か月前
株式会社パロマ
給湯暖房機
3か月前
株式会社パロマ
給湯暖房機
3か月前
株式会社パロマ
給湯暖房機
3か月前
株式会社パロマ
ガスコンロ
4日前
株式会社パロマ
ガスコンロ
4日前
株式会社パロマ
給湯暖房機
3か月前
株式会社パロマ
加熱調理装置
8日前
株式会社パロマ
加熱調理装置
5日前
株式会社パロマ
加熱調理装置
1か月前
株式会社パロマ
加熱調理装置
1か月前
株式会社パロマ
加熱調理装置
1か月前
株式会社パロマ
食器洗浄機用ブースター
1か月前
株式会社パロマ
食器洗浄機用ブースター
1か月前
株式会社パロマ
食器洗浄機用ブースター
1か月前
株式会社パロマ
食器洗浄機用ブースター
1か月前
株式会社パロマ
食器洗浄機用ブースター
1か月前
株式会社パロマ
食器洗浄機用ブースター
25日前
株式会社パロマ
食器洗浄機用ブースター
12日前
株式会社パロマ
加熱調理装置及び製造方法
28日前
株式会社パロマ
給湯器の製造方法及び給湯器
1か月前
株式会社パロマ
アフターバーナ及び加熱調理装置
5日前
株式会社パロマ
ヒートポンプ熱源機及び給湯システム
5日前
株式会社パロマ
ヒートポンプ熱源機及び給湯システム
5日前
株式会社パロマ
給湯暖房機の製造方法、及び給湯暖房機
3か月前
株式会社パロマ
ガスコンロの製造方法およびガスコンロ
4日前
株式会社パロマ
食器洗浄機用ブースター及び食器洗浄システム
1か月前
続きを見る
他の特許を見る