TOP
|
特許
|
意匠
|
商標
特許ウォッチ
Twitter
他の特許を見る
公開番号
2025070156
公報種別
公開特許公報(A)
公開日
2025-05-02
出願番号
2023180276
出願日
2023-10-19
発明の名称
成膜装置
出願人
キヤノントッキ株式会社
代理人
弁理士法人秀和特許事務所
主分類
C23C
14/50 20060101AFI20250424BHJP(金属質材料への被覆;金属質材料による材料への被覆;化学的表面処理;金属質材料の拡散処理;真空蒸着,スパッタリング,イオン注入法,または化学蒸着による被覆一般;金属質材料の防食または鉱皮の抑制一般)
要約
【課題】簡易的な構成で基板を静電チャックから剥離できる成膜装置を提供する。
【解決手段】マスクを介して基板に成膜する成膜装置は、基板が吸着される吸着面を有する基板吸着手段と、マスクを基板に吸着させる第1吸着部材401及び第2吸着部材402を含むマスク吸着手段と、第1吸着部材401と第2吸着部材402とを相対的に移動させることで、基板吸着手段から基板を剥離させる剥離力を発生させる基板剥離手段と、を備える。
【選択図】図5
特許請求の範囲
【請求項1】
マスクを介して基板に成膜する成膜装置において、
前記基板が吸着される吸着面を有する基板吸着手段と、
前記マスクを前記基板に吸着させる第1吸着部材及び第2吸着部材を含むマスク吸着手段と、
前記第1吸着部材と前記第2吸着部材とを相対的に移動させることで、前記基板吸着手段から前記基板を剥離させる剥離力を発生させる基板剥離手段と、
を備えることを特徴とする成膜装置。
続きを表示(約 1,100 文字)
【請求項2】
前記基板剥離手段は、前記第1吸着部材と前記第2吸着部材とを相対的に移動させることで、前記基板吸着手段より前記吸着面側に突出しない第1位置から、前記基板吸着手段より前記吸着面側に突出する第2位置へと移動可能な押圧部材を含み、
前記剥離力は、前記押圧部材により前記基板を前記基板吸着手段から離間させる方向に押圧する力であることを特徴とする請求項1に記載の成膜装置。
【請求項3】
前記基板剥離手段は、前記吸着面と平行な方向に延びるとともに前記第2吸着部材に固定される回動軸と、前記回動軸に回動可能に支持されるアームと、前記第1吸着部材と前記第2吸着部材とを独立して前記吸着面に垂直な方向に移動させる駆動機構と、を含み、
前記アームの第1端部には前記押圧部材が接続され、前記アームの第2端部は前記吸着面に垂直な方向に見たときに前記第1吸着部材と重なる位置に配置され、前記回動軸は前記第1端部と前記第2端部の間に位置することを特徴とする請求項2に記載の成膜装置。
【請求項4】
前記第2吸着部材には、前記吸着面に垂直な方向に貫通する貫通孔が設けられており、
前記基板剥離手段は、前記吸着面に垂直な方向に見たときに前記貫通孔と重なる位置に設けられる孔部を含み、
前記押圧部材の少なくとも一部は、前記貫通孔の内部に配置されることを特徴とする請求項3に記載の成膜装置。
【請求項5】
前記基板吸着手段は、静電気力により基板を吸着する静電チャックを含み、
前記基板剥離手段は、前記第1吸着部材と前記第2吸着部材とを独立して前記吸着面に垂直な方向に移動させる駆動機構を含み、
前記剥離力は、前記第1吸着部材によって前記静電チャックを押圧して変形させる力であることを特徴とする請求項1に記載の成膜装置。
【請求項6】
前記第1吸着部材と前記第2吸着部材は、磁力により前記マスクを前記基板に吸着させるマグネットであることを特徴とする請求項1~5のいずれか1項に記載の成膜装置。
【請求項7】
前記第1吸着部材は、前記基板に吸着された前記マスクの中央部に対応する位置に配置され、
前記第2吸着部材は、前記基板に吸着された前記マスクの前記中央部の周りの縁部に対応する位置に配置されていることを特徴とする請求項6に記載の成膜装置。
【請求項8】
前記第1吸着部材は、前記基板に吸着された前記マスクの中央部に対応する位置に配置され、
前記第2吸着部材は、前記基板に吸着された前記マスクの前記中央部の周りの縁部に対応する位置に配置されていることを特徴とする請求項1~5のいずれか1項に記載の成膜装置。
発明の詳細な説明
【技術分野】
【0001】
本発明は、成膜装置に関する。
続きを表示(約 1,400 文字)
【背景技術】
【0002】
有機EL表示装置(有機ELディスプレイ)は、スマートフォン、テレビ、自動車用ディスプレイ、VR HMD(Virtual Reality Head Mount Display)等、様々な分野で用いられている。有機EL素子の機能層及び電極層は、成膜装置内でそれぞれの層を構成する成膜物質が基板に向けて放出されて基板が成膜されることで形成される。
【0003】
特許文献1には、高精度、且つ高効率に成膜を行うために、静電チャックで基板を吸着し、且つピンで基板を押圧することにより静電チャックから基板を剥離させる構成が開示されている。また、特許文献2には、基板とマスクの密着性を高めて高精度な成膜を行うため、基板にマスクを吸着させる吸着部材として互いに独立して駆動される2以上のマグネットが設けられている構成が開示されている。これらの構成においては、ピンやマグネットを駆動するための専用の駆動機構がそれぞれに設けられている。
【先行技術文献】
【特許文献】
【0004】
特開2014-065969号公報
特開2019-116679号公報
【発明の概要】
【発明が解決しようとする課題】
【0005】
デバイスの製造効率を向上させるとともに近年のデバイスの高精細化に対応するため、上述の各構成を成膜装置に適用することが好ましい。しかし、駆動機構の数が増えると成膜装置が大型化したり、成膜装置の構成が複雑になったりするおそれがある。
【0006】
本発明は上述の課題に鑑みてなされたものであり、簡易的な構成で基板を静電チャックから剥離できる成膜装置を提供することを目的とする。
【課題を解決するための手段】
【0007】
本発明のマスクを介して基板に成膜する成膜装置は、
前記基板が吸着される吸着面を有する基板吸着手段と、
前記マスクを基板に吸着させる第1吸着部材及び第2吸着部材を含むマスク吸着手段と、
前記第1吸着部材と前記第2吸着部材とを相対的に移動させることで、前記基板吸着手段から前記基板を剥離させる剥離力を発生させる基板剥離手段と、
を備えることを特徴とする。
【0008】
本発明によれば、簡易的な構成で基板を静電チャックから剥離できる成膜装置を提供できる。
【図面の簡単な説明】
【0009】
第1実施形態に係る成膜装置の概略構成を示す模式的断面図である。
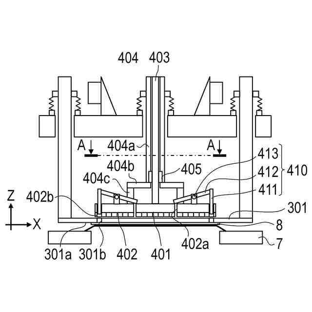
第1実施形態に係るマスク吸着マグネット部の拡大図である。
図2のA-A断面図である。
第1実施形態に係る成膜動作のフローチャートである。
第1実施形態に係る成膜動作の説明図である。
第2実施形態に係る基板の剥離動作の説明図である。
電子デバイスの製造方法を説明する図である。
【発明を実施するための形態】
【0010】
以下に図面を参照して、この発明を実施するための形態を、実施例に基づいて例示的に詳しく説明する。ただし、この実施の形態に記載されている構成部品の寸法、材質、形状それらの相対配置などは、発明が適用される装置の構成や各種条件により適宜変更されるべきものである。すなわち、この発明の範囲を以下の実施の形態に限定する趣旨のものではない。
(【0011】以降は省略されています)
この特許をJ-PlatPat(特許庁公式サイト)で参照する
関連特許
個人
フッ素樹脂塗装鋼板の保管方法
3か月前
株式会社カネカ
製膜装置
1か月前
株式会社カネカ
製膜装置
1か月前
株式会社京都マテリアルズ
めっき部材
1か月前
トヨタ自動車株式会社
治具
21日前
株式会社KSマテリアル
防錆組成物
4か月前
エドワーズ株式会社
真空排気システム
1か月前
日本化学産業株式会社
複合めっき皮膜
3か月前
台灣晶技股ふん有限公司
無電解めっき法
2か月前
東京エレクトロン株式会社
成膜方法
2か月前
日東電工株式会社
積層体の製造方法
6か月前
JFEスチール株式会社
鋼部品
3か月前
株式会社カネカ
気化装置及び製膜装置
1か月前
住友重機械工業株式会社
成膜装置
4か月前
株式会社内村
防食具、防食具の設置方法
2か月前
株式会社アルバック
マスクユニット
1か月前
TOTO株式会社
構造部材
1か月前
住友重機械工業株式会社
成膜装置
5か月前
東京エレクトロン株式会社
基板処理装置
5か月前
黒崎播磨株式会社
溶射装置
1か月前
株式会社アルバック
基板ステージ装置
1か月前
株式会社デンソー
接合体
2か月前
フジタ技研株式会社
被覆部材、及び、表面被覆金型
1か月前
日本コーティングセンター株式会社
炭化ホウ素被膜
1か月前
国立大学法人千葉大学
成膜装置及び成膜方法
2か月前
ケニックス株式会社
蒸発源装置
2か月前
川崎重工業株式会社
水素遮蔽膜
3か月前
信越化学工業株式会社
炭化金属被覆材料
今日
黒崎播磨株式会社
溶射用ランス
5か月前
株式会社アルバック
成膜装置、および搬送方法
3か月前
学校法人静岡理工科大学
放電被覆装置及び放電被覆方法
2か月前
株式会社日本テクノ
ガス浸炭方法、ガス浸炭装置
1か月前
株式会社アルバック
真空蒸着装置、真空蒸着方法
3か月前
東京エレクトロン株式会社
成膜方法及び成膜装置
2か月前
株式会社日本テクノ
ガス浸炭装置、浸炭室
1か月前
株式会社神戸製鋼所
成膜方法
3か月前
続きを見る
他の特許を見る