TOP
|
特許
|
意匠
|
商標
特許ウォッチ
Twitter
他の特許を見る
10個以上の画像は省略されています。
公開番号
2025064089
公報種別
公開特許公報(A)
公開日
2025-04-17
出願番号
2023173551
出願日
2023-10-05
発明の名称
フィラメント3次元結合体の製造装置
出願人
株式会社エアウィーヴ
代理人
個人
主分類
D04H
3/033 20120101AFI20250410BHJP(組みひも;レース編み;メリヤス編成;縁とり;不織布)
要約
【課題】溶融フィラメント同士の融着点における接着強度が低下することなく、より均一なフィラメント3次元結合体を形成できるフィラメント3次元結合体の製造装置を提供する。
【解決手段】フィラメント3次元結合体の製造装置は、多数本のフィラメントが3次元に結合した結合体の製造装置であって、多数本の直線状の溶融フィラメントからなる溶融フィラメント群を供給する溶融フィラメント供給部と、前記溶融フィラメント群の供給方向に対して垂直な第1方向に離隔対向し、前記溶融フィラメント群の前記第1方向の両端部を受け止めて、対向する相手方向に案内する傾斜面53a,53bを有する一対の案内部材5a,5bと、前記傾斜面53a,53bに冷却水を供給する冷却水供給部とを備え、前記一対の案内部材5a,5bが前記傾斜面53a,53bの表面に親水性層HLを有する。
【選択図】図5
特許請求の範囲
【請求項1】
多数本のフィラメントが3次元に結合した結合体の製造装置であって、
多数本の直線状の溶融フィラメントからなる溶融フィラメント群を供給する溶融フィラメント供給部と、
前記溶融フィラメント群の供給方向に対して垂直な第1方向に離隔対向し、前記溶融フィラメント群の前記第1方向の両端部を受け止めて、対向する相手方向に案内する傾斜面を有する一対の案内部材と、
前記案内部材の傾斜面に冷却水を供給する冷却水供給部と、
を備え、
前記一対の案内部材が前記傾斜面の表面に親水性層を有することを特徴とするフィラメント3次元結合体の製造装置。
続きを表示(約 870 文字)
【請求項2】
前記親水性層が、クロム(Cr)、スズ(Sn)、亜鉛(Zn)、チタン(Ti)、ニッケル(Ni)、カドミウム(Cd)、アルミニウム(Al)、金(Au)、銀(Ag)、鉛(Pb)、白金(Pt)の群から選ばれた少なくとも1種の金属からなるメッキ層である請求項1記載のフィラメント3次元結合体の製造装置。
【請求項3】
前記一対の案内部材が、前記傾斜面を有する傾斜部と、前記傾斜部の前記溶融フィラメント群の供給方向下流端に接続し、前記溶融フィラメント群の供給方向と平行で供給方向下流側に延在する平行部とを有し、
前記平行部の対向する側面も表面に親水性層を有している
請求項1又は2記載のフィラメント3次元結合体の製造装置。
【請求項4】
前記一対の案内部材の前記傾斜面に、前記第1方向に対して垂直な第2方向と交差する方向に多数の溝が形成されている請求項1又は2記載のフィラメント3次元結合体の製造装置。
【請求項5】
前記多数の溝が所定間隔で平行に延在している請求項4記載のフィラメント3次元結合体の製造装置。
【請求項6】
前記多数の溝の延在方向に対して垂直な断面形状が、三角形状、四角形状、円弧状のいずれかである請求項4記載のフィラメント3次元結合体の製造装置。
【請求項7】
前記多数の溝の前記第2方向との交差角度が90°である請求項4記載のフィラメント3次元結合体の製造装置。
【請求項8】
前記多数の溝が、
前記第2方向との交差角度が30°以上60°以下である第1溝群と、
前記第2方向との交差角度が120°以上150°以下である第2溝群と、
を有している請求項4記載のフィラメント3次元結合体の製造装置。
【請求項9】
前記第1溝群の溝が所定間隔で平行に延在し、前記第2溝群の溝も所定間隔で平行に延在している請求項8記載のフィラメント3次元結合体の製造装置。
発明の詳細な説明
【技術分野】
【0001】
本発明は、マットレスや枕などのクッション素材として使用できるフィラメント3次元結合体の製造装置に関するものである。
続きを表示(約 1,800 文字)
【背景技術】
【0002】
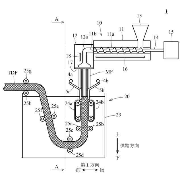
リサイクルに手間がかかる金属スプリングやウレタンフォームの欠点を克服するクッション素材として、熱可塑性エラストマーからなるフィラメントを3次元的に融着結合させて得られるフィラメント3次元結合体(立体網状構造体)が注目されている。このクッション素材は、リサイクルが容易な上、蒸れにくく水洗いができる利点がある。
【0003】
フィラメント3次元結合体の製造方法として、例えば特許文献1には、鉛直方向下向きに流れ落ちる多数の溶融フィラメントからなる溶融フィラメント群(溶融状態の熱可塑性樹脂の線状集合体)を冷却水中に落下させ、水の浮力によって溶融フィラメントループを形成させると同時に、ループ形成時の撓みによって溶融フィラメント同士を接触させ、その接触点を融着結合させてフィラメント3次元結合体(立体網状構造体)を製造する方法が記載されている。
【0004】
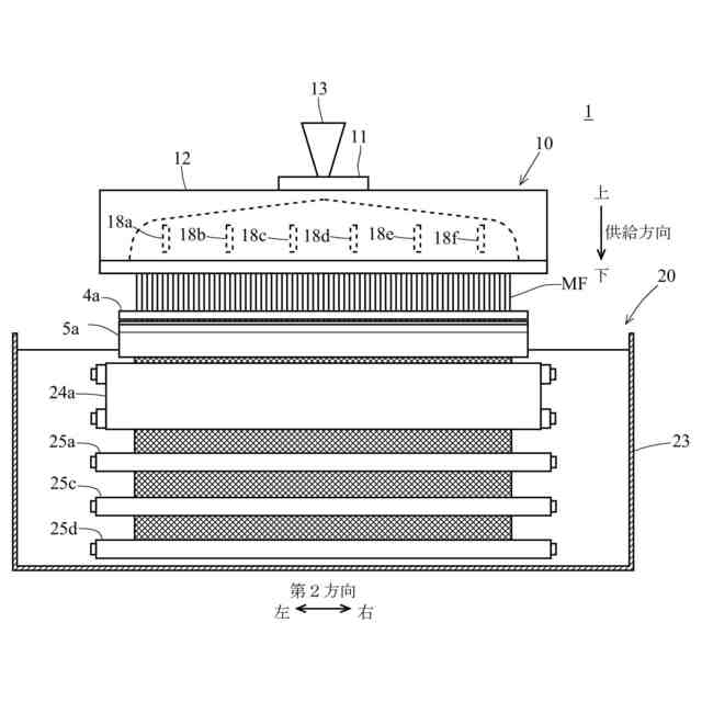
また、特許文献1には、フィラメント3次元結合体の厚みを一定にするために、溶融フィラメント群の厚み方向両端部から溶融フィラメント群の厚み方向中央部に向かって傾斜する一対のシュート(案内部材)を設けるとともに、シュート表面の全面に冷却水を行き渡らせるために、シュート表面を晒しなどの透水シートで覆い、その透水シートに冷却水を供給することによって、シュート表面の全面に冷却水層を形成することも記載されている。冷却水を行き渡らせることにより、シュート表面への溶融フィラメントの付着を防止する効果が得られる。
【0005】
しかしながら、シュート表面を透水シートで覆う手法においては、透水シートにしわが発生したり、異物(サビ等)が付着する不具合や、長期間の製造により透水シートが摩耗し、破れるなどの不具合が生じる欠点があった。その欠点を克服する方法として、特許文献2には、シュート表面をサンドブラストによって粗面化することによって、透水シートを用いることなく、シュート表面に冷却水層を形成することが記載されている。
【0006】
図10(a)は、シュート(案内部材)531の表面531aを、サンドブラスト処理によって粗面化した場合の状態を示す概念図である。本図に示すように、表面531aの表面には凹凸が形成されている。図10(b)は、シュート531の表面531aに供給される冷却水が、当該凹凸によって滞留または減速され、冷却水膜Wが形成されている様子を示している。
【先行技術文献】
【特許文献】
【0007】
特開2004-218116号公報
国際公開第2012/35736号公報
【発明の概要】
【発明が解決しようとする課題】
【0008】
しかしながら、サンドブラスト処理では凹部の深さや広さをシュート表面の全てのエリアで一定とすることは難しく、凹部の傾斜角が小さいので、冷却水を滞留または減速させる能力が低く、冷却水が少ない場合、均一な冷却水の薄膜を形成するのが難しかった。局所的であっても、凹部が浅いエリア(相対的に凸部となるエリア)では冷却水を滞留または減速させる能力が低下するので、シュート表面に冷却水を供給しても、水の表面張力で冷却水膜が形成されないまま流れ落ちることがある。その結果、冷却水膜が形成されていないシュート表面に溶融フィラメントが一時的に付着して、シュート表面を移動するスピードが不規則になることでフィラメント3次元結合体が不均一になるといった課題があった。
【0009】
なお、シュート表面に確実に冷却水膜を形成するために、冷却水の供給量を多くすると、溶融フィラメントが冷えて、溶融フィラメント同士の融着点における接着強度が低下するという問題が生じる。また、凹部が浅いエリアにおいて冷却水を滞留または減速させるために、シュート表面を全体的に粗くすると、溶融フィラメントがシュート表面で滑りにくくなるので、溶融フィラメントが一時的に付着しやすくなるといった二律背反の課題がある。
【0010】
本発明は上記課題に鑑みなされたものであり、溶融フィラメント同士の融着点における接着強度が低下することなく、より均一なフィラメント3次元結合体を形成することが可能となるフィラメント3次元結合体の製造装置を提供することを目的とする。
【課題を解決するための手段】
(【0011】以降は省略されています)
この特許をJ-PlatPat(特許庁公式サイト)で参照する
関連特許
東レ株式会社
編地
3か月前
東レ株式会社
織編物
4か月前
個人
マフラーの製造方法
5か月前
日本エステル株式会社
クッション体
1か月前
株式会社島精機製作所
横編機
5か月前
東レ株式会社
編物、繊維製品および詰め物
3か月前
株式会社ワコール
充填材
3か月前
グンゼ株式会社
編地及び繊維製品
今日
東レ株式会社
不織布およびエアフィルター濾材
3か月前
ユニチカ株式会社
化粧料含浸用基布の製造方法
1か月前
株式会社島精機製作所
筒状編地の編成方法
4か月前
モリト株式会社
紐体を用いた連結体
1か月前
株式会社秋江
布製品
4か月前
ユニチカトレーディング株式会社
油吸着材用不織布
18日前
セーレン株式会社
緯編地
3か月前
日本エクスラン工業株式会社
アクリレート系繊維不織布
4か月前
東レ株式会社
不織布の製造装置および不織布の製造方法
11日前
ティー・ディー・イー株式会社
クリーナー
5か月前
日本製紙クレシア株式会社
ローション不織布
1か月前
株式会社島精機製作所
編地の編成方法、および編地
26日前
株式会社島精機製作所
編地の編成方法、および編地
1か月前
セイコーエプソン株式会社
シート製造装置
5か月前
セイコーエプソン株式会社
シート製造装置
4か月前
セイコーエプソン株式会社
シート成形装置
4か月前
セイコーエプソン株式会社
シート製造装置
4か月前
帝人フロンティア株式会社
しみ防止布帛および繊維製品
3か月前
セイコーエプソン株式会社
シート製造装置
4か月前
株式会社ヴィオレッタ
メッシュ経編地及び繊維製品
2か月前
ユニチカ株式会社
シート
3か月前
日本製紙クレシア株式会社
複合型不織布
29日前
株式会社エアウィーヴ
フィラメント3次元結合体の製造装置
5か月前
花王株式会社
吸収性物品用不織布
6日前
東レ株式会社
不織布およびその製造方法ならびに積層体、衣料、雑貨
18日前
日本毛織株式会社
編地及び衣類
18日前
東洋紡エムシー株式会社
肌への密着性に優れるフェイスマスク用基材
4日前
東レ株式会社
エレクトレットメルトブロー不織布およびその製造方法
27日前
続きを見る
他の特許を見る