TOP
|
特許
|
意匠
|
商標
特許ウォッチ
Twitter
他の特許を見る
10個以上の画像は省略されています。
公開番号
2025076273
公報種別
公開特許公報(A)
公開日
2025-05-15
出願番号
2024115555
出願日
2024-07-19
発明の名称
シート製造装置
出願人
セイコーエプソン株式会社
代理人
個人
,
個人
,
個人
主分類
D04H
1/736 20120101AFI20250508BHJP(組みひも;レース編み;メリヤス編成;縁とり;不織布)
要約
【課題】紙片の計量精度を向上させるシート製造装置を提供すること。
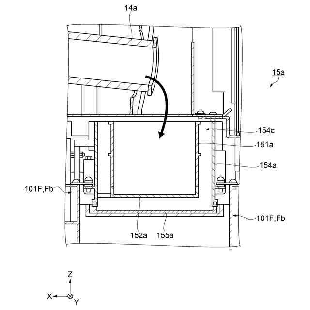
【解決手段】シート製造装置1は、紙片Cを計量する計測部15aを備え、計測部15aは、第1フレーム部101Fと、第1フレーム部101Fと分かれている第2フレーム部154aと、閉状態において、計量される紙片Cが載置され、開状態において、計量された紙片Cを下流の合流部17へ送るフタ部152aと、フタ部152aに載置された紙片Cの質量を計測するセンサー部153aと、フタ部152aと合流部17との間を閉塞可能なシャッター部155aと、を有し、センサー部153aは、第1フレーム部101Fに取り付けられ、シャッター部155aは、第2フレーム部154aに取り付けられる。
【選択図】図2
特許請求の範囲
【請求項1】
紙片を計量する第1計測部を備え、
前記第1計測部は、
第1フレーム部と、
前記第1フレーム部と分かれている第2フレーム部と、
閉状態において、計量される紙片が載置され、開状態において、計量された紙片を下流の搬送管へ送る第1フタ部と、
前記第1フタ部に載置された紙片の質量を計測する第1センサー部と、
前記第1フタ部と前記搬送管との間を閉塞可能な第1シャッター部と、を有し、
前記第1センサー部は、前記第1フレーム部に取り付けられ、
前記第1シャッター部は、前記第2フレーム部に取り付けられることを特徴とするシート製造装置。
続きを表示(約 970 文字)
【請求項2】
前記第1フレーム部と前記第2フレーム部との間には、振動吸収部が配設されることを特徴とする、請求項1に記載のシート製造装置。
【請求項3】
前記第1フタ部は、紙片が載置される際には閉じ、紙片を前記搬送管へ送る際には開き、
前記第1シャッター部は、前記第1フタ部の開動作に連動して開くことを特徴とする、請求項1に記載のシート製造装置。
【請求項4】
前記第1シャッター部は、バネ部材の付勢力によって前記第1フタ部の閉動作に連動して閉じることを特徴とする、請求項3に記載のシート製造装置。
【請求項5】
前記第1計測部は、前記第1フタ部を開閉する開閉機構を有することを特徴とする、請求項4に記載のシート製造装置。
【請求項6】
前記第1計測部とは別に紙片を計量する第2計測部をさらに備え、
前記第2計測部は、
第3フレーム部と、
前記第3フレーム部と分れている第4フレーム部と、
閉状態において、計量される紙片が載置され、開状態において、計量された紙片を前記搬送管へ送る第2フタ部と、
前記第2フタ部に載置された紙片の質量を計測する第2センサー部と、
前記第2フタ部と前記搬送管との間を閉塞可能な第2シャッター部と、を有し、
前記第2センサー部は、前記第3フレーム部に取り付けられ、
前記第2シャッター部は、前記第4フレーム部に取り付けられることを特徴とする、請求項1に記載のシート製造装置。
【請求項7】
前記第1計測部と前記第2計測部とは、異なるタイミングで紙片を計量することを特徴とする、請求項6に記載のシート製造装置。
【請求項8】
前記第1フタ部が開状態であるときに、前記第2フタ部は閉状態であり、計量される紙片が前記第2フタ部に載置され、
前記第2フタ部が開状態であるときに、前記第1フタ部は閉状態であり、計量される紙片が前記第1フタ部に載置されることを特徴とする、請求項7に記載のシート製造装置。
【請求項9】
前記第1フレーム部と前記第3フレーム部とは、同一であることを特徴とする、請求項6に記載のシート製造装置。
発明の詳細な説明
【技術分野】
【0001】
本発明は、シート製造装置に関する。
続きを表示(約 1,600 文字)
【背景技術】
【0002】
従来、紙片などから得られる繊維を圧縮成形して、シートなどを製造する装置が知られていた。このような装置には、紙片や繊維の集合体を計量する機構を備えるものがある。例えば、特許文献1には、屑綿の重量測定の補正を自動的に行う装置が開示されている。
【先行技術文献】
【特許文献】
【0003】
特開平7-3537号公報
【発明の概要】
【発明が解決しようとする課題】
【0004】
しかしながら、特許文献1に記載の装置では、繊維の集合体である屑綿の計量精度を向上させることが難しいという課題があった。詳しくは、圧縮機構やコンベア類などの稼働に伴う振動が、計量器に伝搬するおそれがあった。また、気流を用いて屑綿などを搬送する機構を採用すると、計量器が気流の影響を受けるおそれがあった。すなわち、紙片の計量精度を向上させるシート製造装置が求められていた。
【課題を解決するための手段】
【0005】
シート製造装置は、紙片を計量する第1計測部を備え、前記第1計測部は、第1フレーム部と、前記第1フレーム部と分かれている第2フレーム部と、閉状態において、計量される紙片が載置され、開状態において、計量された紙片を下流の搬送管へ送る第1フタ部と、前記第1フタ部に載置された紙片の質量を計測する第1センサー部と、前記第1フタ部と前記搬送管との間を閉塞可能な第1シャッター部と、を有し、前記第1センサー部は、前記第1フレーム部に取り付けられ、前記第1シャッター部は、前記第2フレーム部に取り付けられることを特徴とする。
【図面の簡単な説明】
【0006】
実施形態に係るシート製造装置の構成を示す模式図。
計測部などの構成を示す断面図。
第1フレーム部の構成を示す斜視図。
第2フレーム部などの配置を示す斜視図。
計測部などの構成を示す断面図。
バケット部およびセンサー部の配置を示す断面斜視図。
フタ部およびシャッター部が開いた状態を示す断面図。
フタ部およびシャッター部が開いた状態を示す断面斜視図。
フタ部の開閉機構の構成を示す斜視図。
振動吸収部の配置を示す斜視図。
振動吸収部を示す断面図。
【発明を実施するための形態】
【0007】
以下の実施形態では、乾式にて古紙などの紙片を再生するシート製造装置1を例示し、図面を参照して説明する。本発明のシート製造装置は、乾式であることに限定されず、湿式であってもよい。なお、本明細書において乾式とは、液体中で実施されずに、大気などの空気中で実施されることをいう。
【0008】
以下の各図においては、相互に直交する座標軸としてXYZ軸を付し、各矢印が指す方向を+方向とし、+方向と反対の方向を-方向とする。Z軸は鉛直方向に沿う仮想軸であって+Z方向を上方とし、-Z方向を下方とする。-Z方向は重力が作用する方向である。シート製造装置1において、原料や紙片、ウェブ、およびシートなどの搬送方向の先を下流、搬送方向を遡る側を上流ということもある。図示の便宜上、各部材の大きさを実際とは異ならせている。
【0009】
図1に示すように、本実施形態に係るシート製造装置1は、第1ユニット群101、第2ユニット群102、および第3ユニット群103を有する。なお、図1においては、古紙である紙片C、シートP3、スリット片S、および不要な端材などが移動する方向を白抜きの矢印で示している。
【0010】
シート製造装置1は紙片CからシートP3を製造する。シート製造装置1では、-X方向からの側面視にて、-Y方向から+Y方向に向かって、第1ユニット群101、第3ユニット群103、および第2ユニット群102が配置される。
(【0011】以降は省略されています)
この特許をJ-PlatPat(特許庁公式サイト)で参照する
関連特許
セイコーエプソン株式会社
記録装置
3日前
セイコーエプソン株式会社
電子時計
1日前
セイコーエプソン株式会社
プロジェクター
1日前
セイコーエプソン株式会社
三次元造形装置
2日前
セイコーエプソン株式会社
プロジェクター
1日前
セイコーエプソン株式会社
トルク伝達機構
1日前
セイコーエプソン株式会社
表示装置の制御方法
1日前
セイコーエプソン株式会社
三次元造形物の製造方法
1日前
セイコーエプソン株式会社
乾燥装置及び印刷システム
1日前
セイコーエプソン株式会社
媒体搬送装置及び記録装置
1日前
セイコーエプソン株式会社
液体噴射ヘッド及び液体噴射装置
1日前
セイコーエプソン株式会社
液体噴射ヘッド及び液体噴射装置
1日前
セイコーエプソン株式会社
バンド、時計、およびバンド長さ調整機構
1日前
セイコーエプソン株式会社
投写方法、プロジェクター及びプログラム
1日前
セイコーエプソン株式会社
投射位置の判定方法および投射位置の判定装置
1日前
セイコーエプソン株式会社
記録装置、積載装置、及び記録装置の制御方法
2日前
セイコーエプソン株式会社
流量調節装置、三次元造形装置および射出成形装置
1日前
セイコーエプソン株式会社
表示制御方法、表示制御プログラム、及びプロジェクター
1日前
セイコーエプソン株式会社
記録装置及び記録方法
3日前
セイコーエプソン株式会社
ベイパーチャンバー、冷却装置、電子機器、波長変換装置及びプロジェクター
2日前
セイコーエプソン株式会社
ベイパーチャンバー、冷却装置、電子機器、波長変換装置及びプロジェクター
2日前
国立大学法人東北大学
弾性表面波デバイス
1日前
東レ株式会社
編地
4か月前
東レ株式会社
不織布の製造装置
1か月前
日本エステル株式会社
クッション体
2か月前
東レ株式会社
編物、繊維製品および詰め物
4か月前
株式会社ワコール
充填材
5か月前
グンゼ株式会社
編地及び繊維製品
1か月前
東レ株式会社
不織布およびエアフィルター濾材
5か月前
ユニチカ株式会社
化粧料含浸用基布の製造方法
2か月前
大日本印刷株式会社
インテリア用品
1日前
ユニチカ株式会社
機能性不織布の製造方法
1日前
モリト株式会社
紐体を用いた連結体
2か月前
ユニチカトレーディング株式会社
油吸着材用不織布
1か月前
セーレン株式会社
緯編地
4か月前
東洋紡エムシー株式会社
農作物保護用生分解性不織布。
1か月前
続きを見る
他の特許を見る