TOP
|
特許
|
意匠
|
商標
特許ウォッチ
Twitter
他の特許を見る
公開番号
2025035735
公報種別
公開特許公報(A)
公開日
2025-03-14
出願番号
2023142973
出願日
2023-09-04
発明の名称
無水塩化アルミニウムの製造方法
出願人
株式会社高純度化学研究所
代理人
個人
,
個人
主分類
C01F
7/58 20060101AFI20250307BHJP(無機化学)
要約
【課題】AlCl
3
を含む塩化物溶融塩を、AlCl
3
単塩の融点より遥かに低温で減圧下に蒸留して、水分量を100ppm以下まで低減する、AlCl
3
の製造方法の提供。
【解決手段】蒸発器と真空ポンプを少なくとも備える蒸発装置で、AlCl
3
35~70モル%と、1,3-ジメチルイミダゾリウムクロリド、1-エチル-3-メチルイミダゾリウムクロリド(EMIC)、1-メチル-3-プロピルイミダゾリウムクロリド、1-ブチル-3-メチルイミダゾリウムクロリド、1-メチル-3-ペンチルイミダゾリウムクロリド、1-ヘキシル-3-メチルイミダゾリウムクロリド、1-ヘプチル-3-メチルイミダゾリウムクロリドまたは1-メチル-3-オクチルイミダゾリウムクロリドであるオニウム塩化物 65~30モル%とからなる室温溶融塩(AlCl
3
とオニウム塩化物の合計100モル%)を入れた蒸発器を30~80℃及び0.01~8Paで加熱して、該室温溶融塩からAlCl
3
を気化させる工程1と、気相のAlCl
3
蒸気を冷却して凝固させ、水分量が100ppm以下のAlCl
3
を回収する工程2とを有する無水AlCl
3
の製造方法。
【選択図】なし
特許請求の範囲
【請求項1】
蒸発器と真空ポンプとを少なくとも備える蒸発装置において、
塩化アルミニウム 35~70モル%と、
1,3-ジメチルイミダゾリウムクロリド、1-エチル-3-メチルイミダゾリウムクロリド(EMIC)、1-メチル-3-プロピルイミダゾリウムクロリド、1-ブチル-3-メチルイミダゾリウムクロリド、1-メチル-3-ペンチルイミダゾリウムクロリド、1-ヘキシル-3-メチルイミダゾリウムクロリド、1-ヘプチル-3-メチルイミダゾリウムクロリドまたは1-メチル-3-オクチルイミダゾリウムクロリドであるオニウム塩化物 65~30モル%とからなる室温溶融塩(ただし、塩化アルミニウムとオニウム塩化物との合計は100モル%である。)を入れた蒸発器を30~80℃の温度および0.01~8Paの減圧下に加熱して、前記室温溶融塩から塩化アルミニウムを気化させる工程1と、
気相となった塩化アルミニウム蒸気を冷却して凝固させ、水分量が100ppm以下の塩化アルミニウムを回収する工程2と、を有することを特徴とする無水塩化アルミニウムの製造方法。
続きを表示(約 2,100 文字)
【請求項2】
前記蒸発装置が、キャリアガスを供給するためのガス吹き込みパイプと、ガス出口パイプとをさらに備え、
前記工程1および2の間、前記ガス吹き込みパイプを通してキャリアガスを室温溶融塩内に導入し、バブリングによるキャリアガスと室温溶融塩との気液接触を行うことを特徴とする請求項1に記載の無水塩化アルミニウムの製造方法。
【請求項3】
蒸発器と、キャリアガスを供給するためのガス吹き込みパイプと、ガス出口パイプとを少なくとも備える蒸発装置において、
塩化アルミニウム 35~70モル%と、
1,3-ジメチルイミダゾリウムクロリド、1-エチル-3-メチルイミダゾリウムクロリド(EMIC)、1-メチル-3-プロピルイミダゾリウムクロリド、1-ブチル-3-メチルイミダゾリウムクロリド、1-メチル-3-ペンチルイミダゾリウムクロリド、1-ヘキシル-3-メチルイミダゾリウムクロリド、1-ヘプチル-3-メチルイミダゾリウムクロリドまたは1-メチル-3-オクチルイミダゾリウムクロリドであるオニウム塩化物 65~30モル%とからなる室温溶融塩(ただし、塩化アルミニウムとオニウム塩化物との合計は100モル%である。)を入れた蒸発器を30~80℃の温度で加熱して、前記室温溶融塩から塩化アルミニウムを気化させる工程1と、
気相となった塩化アルミニウム蒸気を冷却して凝固させ、水分量が100ppm以下の塩化アルミニウムを回収する工程2とを有し、
前記工程1および2の間、前記ガス吹き込みパイプを通してキャリアガスを室温溶融塩中に導入し、バブリングによるキャリアガスと室温溶融塩との気液接触を行うことを特徴とする無水塩化アルミニウムの製造方法。
【請求項4】
蒸発器と、キャリアガスを供給するためのガス吹き込み用底面フィルターと、ガス出口パイプとを少なくとも備える蒸発装置において、
塩化アルミニウム 35~70モル%と、
1,3-ジメチルイミダゾリウムクロリド、1-エチル-3-メチルイミダゾリウムクロリド(EMIC)、1-メチル-3-プロピルイミダゾリウムクロリド、1-ブチル-3-メチルイミダゾリウムクロリド、1-メチル-3-ペンチルイミダゾリウムクロリド、1-ヘキシル-3-メチルイミダゾリウムクロリド、1-ヘプチル-3-メチルイミダゾリウムクロリドまたは1-メチル-3-オクチルイミダゾリウムクロリドであるオニウム塩化物 65~30モル%とからなる室温溶融塩(ただし、塩化アルミニウムとオニウム塩化物との合計は100モル%である。)を入れた蒸発器を30~80℃の温度で加熱して、前記室温溶融塩から塩化アルミニウムを気化させる工程1と、
気相となった塩化アルミニウム蒸気を冷却して凝固させ、水分量が100ppm以下の塩化アルミニウムを回収する工程2とを有し、
前記工程1および2の間、前記ガス吹き込み用底面フィルターを通してキャリアガスを室温溶融塩中に導入し、バブリングによるキャリアガスと室温溶融塩との気液接触を行うことを特徴とする無水塩化アルミニウムの製造方法。
【請求項5】
蒸発器と、真空ポンプと、キャリアガスを供給するためのガス吹き込み用底面フィルターと、ガス出口パイプとを少なくとも備える蒸発装置において、
塩化アルミニウム 35~70モル%と、
1,3-ジメチルイミダゾリウムクロリド、1-エチル-3-メチルイミダゾリウムクロリド(EMIC)、1-メチル-3-プロピルイミダゾリウムクロリド、1-ブチル-3-メチルイミダゾリウムクロリド、1-メチル-3-ペンチルイミダゾリウムクロリド、1-ヘキシル-3-メチルイミダゾリウムクロリド、1-ヘプチル-3-メチルイミダゾリウムクロリドまたは1-メチル-3-オクチルイミダゾリウムクロリドであるオニウム塩化物 65~30モル%とからなる室温溶融塩(ただし、塩化アルミニウムとオニウム塩化物との合計は100モル%である。)を入れた蒸発器を30~80℃の温度および0.01~8Paの減圧下に加熱して、前記室温溶融塩から塩化アルミニウムを気化させる工程1と、
気相となった塩化アルミニウム蒸気を冷却して凝固させ、水分量が100ppm以下の塩化アルミニウムを回収する工程2とを有し、
前記工程1および2の間、前記ガス吹き込み用底面フィルターを通してキャリアガスを室温溶融塩中に導入し、バブリングによるキャリアガスと室温溶融塩との気液接触を行うことを特徴とする無水塩化アルミニウムの製造方法。
【請求項6】
前記ガス吹き込み用底面フィルターがディフュージョン煉瓦製またはガラス繊維製であることを特徴とする、請求項4または5に記載の無水塩化アルミニウムの製造方法。
【請求項7】
前記オニウム塩化物が1-エチル-3-メチルイミダゾリウムクロリド(EMIC)であることを特徴とする請求項1~5のいずれか一項に記載の無水塩化アルミニウムの製造方法。
発明の詳細な説明
【技術分野】
【0001】
本発明は、高純度の無水塩化アルミニウムの製造方法に関する。
続きを表示(約 2,100 文字)
【背景技術】
【0002】
無水塩化アルミニウムは、炭化水素の異性化もしくは脱水素反応、フリーデル・クラフツ反応の触媒、またはクラッキングの触媒等の用途に広く用いられている。無水塩化アルミニウムは、アルミニウム溶湯の中に塩素ガスを吹き込む直接反応方式において、昇華生成した塩化アルミニウムガスを冷却器で凝固させるのがその一般的な製造方法である。この方法は、アルミニウムと塩素ガスとを直接反応させるため、高い反応温度を必要とする。そのため、塩素ガス中にわずかに含まれる水分、酸素または二酸化炭素が、高温のアルミニウムと反応して水素ガスを発生したり、酸化アルミニウムや炭素粉などを生成して、高純度アルミニウムの製造において、純度および歩留まりの低下を引き起こす原因となる。
【0003】
純粋の無水塩化アルミニウムは白色固体であるが、工業的に製造される無水塩化アルミニウムは、淡黄色から灰色を呈している。その色相が淡黄色の場合は主として他の金属塩化物が混入し、灰色の場合は原料のアルミニウムおよび不定型炭素が混入している。このような不純物を除去する方法として、反応炉内で700~800℃に保持したアルミニウム溶湯中に、二酸化炭素含有量を20容量ppm以下に低減した精製塩素ガスを導入し、生成した塩化アルミニウムガスを冷却器で凝固させ固体の無水塩化アルミニウムを回収する方法が開示されている(特許文献1)。
【0004】
また、リチウム電池用原料の要求を満たす高純度無水塩化アルミニウムを製造する場合、生成回収した塩化アルミニウムを再度、昇華精製することが行われている。しかしながら、固体状の塩化アルミニウムを再加熱するため、熱効率および生産性が低いことが問題である。
【先行技術文献】
【特許文献】
【0005】
特許第3528424号公報
特許平6-263438号公報
【非特許文献】
【0006】
上田幹人および宇井幸一著、「表面技術」、60巻、p.491~496、2009年
【発明の概要】
【発明が解決しようとする課題】
【0007】
ところで、塩化アルミニウムは昇華性の物質であり、塩化アルミニウム単塩では溶融塩を形成することができない。そのため、室温で塩化アルミニウムの溶融塩を形成する場合、ルイス酸である塩化アルミニウムとルイス塩基である無機塩化物または有機塩化物とを混合することが行われている。非特許文献1によると、塩化アルミニウム、1-ブチルピリジニウムクロリド(BPC)および1-エチル-3-メチルイミダゾリウムクロリド(EMIC)の各材料の融点は常温よりはるかに高いが、塩化アルミニウムとBPCとの混合塩、または、塩化アルミニウムとEMICとの混合塩では、その融点は常温以下になり、さらに圧力条件を調整すれば、塩化アルミニウムをより低温で蒸留することができる。特許文献2では、EMICと粗塩化アルミニウムとからなる常温溶融塩を冷却管付きフラスコに投入し、常圧窒素気流下で120℃に加熱して、塩化アルミニウムを蒸留し、冷却管に付着した白色固体を回収する方法が報告されている。
【0008】
本発明は、水分量を100ppm以下まで低減した無水塩化アルミニウムの製造方法であって、塩化アルミニウムを含む塩化物溶融塩を、塩化アルミニウム単塩の融点よりはるかに低い温度でかつ減圧下で蒸留することによる、塩化アルミニウムの製造方法を提供することを目的とする。
【課題を解決するための手段】
【0009】
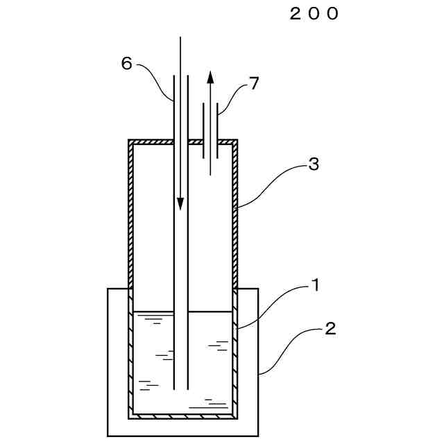
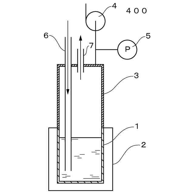
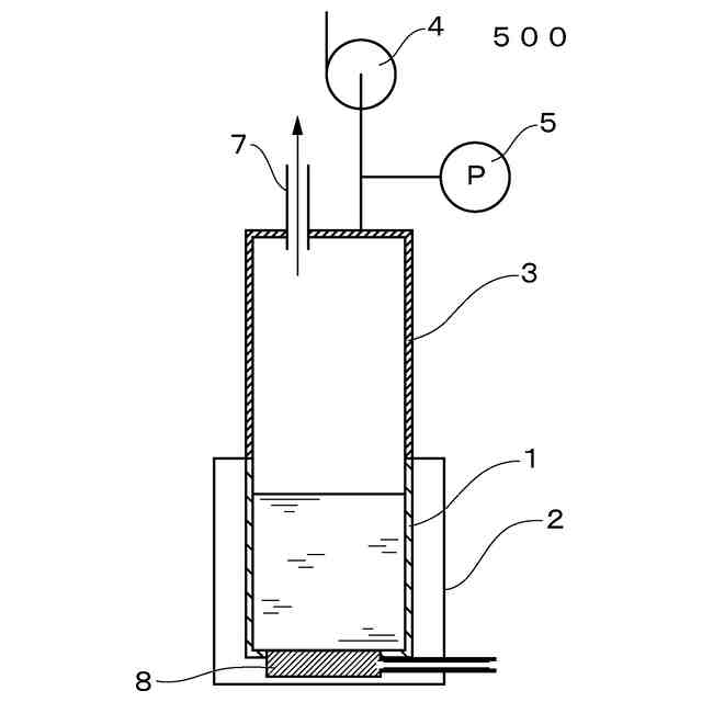
本発明の無水塩化アルミニウムの製造方法は、蒸発器と真空ポンプとを少なくとも備える蒸発装置において、塩化アルミニウム 35~70モル%と、1,3-ジメチルイミダゾリウムクロリド、1-エチル-3-メチルイミダゾリウムクロリド(EMIC)、1-メチル-3-プロピルイミダゾリウムクロリド、1-ブチル-3-メチルイミダゾリウムクロリド、1-メチル-3-ペンチルイミダゾリウムクロリド、1-ヘキシル-3-メチルイミダゾリウムクロリド、1-ヘプチル-3-メチルイミダゾリウムクロリドまたは1-メチル-3-オクチルイミダゾリウムクロリドであるオニウム塩化物 65~30モル%とからなる室温溶融塩(ただし、塩化アルミニウムとオニウム塩化物との合計は100モル%である。)を入れた蒸発器を30~80℃の温度および0.01~8Paの減圧下に加熱して、前記室温溶融塩から塩化アルミニウムを気化させる工程1と、気相となった塩化アルミニウム蒸気を冷却して凝固させ、水分量が100ppm以下の塩化アルミニウムを回収する工程2と、を有することを特徴とする。
【0010】
前記蒸発装置は、キャリアガスを供給するためのガス吹き込みパイプと、ガス出口パイプとをさらに備え、前記工程1および2の間、前記ガス吹き込みパイプを通してキャリアガスを室温溶融塩内に導入し、バブリングによるキャリアガスと室温溶融塩との気液接触を行うことが好ましい。
(【0011】以降は省略されています)
この特許をJ-PlatPat(特許庁公式サイト)で参照する
関連特許
個人
一酸化炭素の製造方法
1か月前
東洋アルミニウム株式会社
水素発生材料
16日前
東洋アルミニウム株式会社
水素発生材料
16日前
株式会社信日康
2次元構造を有する酸化ケイ素
8日前
株式会社トクヤマ
酸性次亜塩素酸水の製造方法
1か月前
株式会社フクハラ
高純度窒素ガス生成システム
1日前
住友化学株式会社
無機アルミニウム化合物粉末
1か月前
浅田化学工業株式会社
アルミナ水分散液の製造方法
29日前
デンカ株式会社
アルミナ粉末、無機粉末および樹脂組成物
24日前
デンカ株式会社
アルミナ粉末、無機粉末および樹脂組成物
24日前
デンカ株式会社
アルミナ粉末、無機粉末および樹脂組成物
24日前
DOWAエコシステム株式会社
水酸化亜鉛の製造方法
1日前
JFEエンジニアリング株式会社
ドライアイス製造システム
1か月前
トヨタ自動車株式会社
光触媒を用いた水素ガス製造装置
1か月前
マイクロ波化学株式会社
水素の製造方法
22日前
株式会社豊田自動織機
多孔質クラスレートシリコンの製造方法
8日前
デンカ株式会社
無機粉末及びそれを用いた樹脂組成物
29日前
JX金属株式会社
低α線酸化ビスマス
1日前
日本特殊陶業株式会社
アンモニアの合成システム
1か月前
本田技研工業株式会社
金属シリコンの製造方法
17日前
信越化学工業株式会社
第四級アンモニウム修飾シリカ分散液の製造方法
1日前
パナソニックIPマネジメント株式会社
水素生成装置
1か月前
清水建設株式会社
二酸化炭素固定化方法
9日前
パナソニックIPマネジメント株式会社
水素生成装置
8日前
下関三井化学株式会社
リン化合物溶液の製造方法
1日前
トヨタ自動車株式会社
反応容器
16日前
日産化学株式会社
シリカ二次粒子と該シリカ二次粒子を含む膜形成用組成物
1か月前
下関三井化学株式会社
リン酸カルシウムの製造方法
1日前
株式会社SUN METALON
金属酸化物の還元体の製造方法
29日前
個人
相転移速度を増加させる方法及びカルボン酸基含有物質の使用
9日前
株式会社ジョンクェルコンサルティング
グラフェンの製造方法
1か月前
日本ゼオン株式会社
硫化カルボニルの製造方法
1か月前
日本コンクリート工業株式会社
比表面積を低下させた粉体の製造方法及び粉体製造装置
10日前
岩谷産業株式会社
重水素化アンモニアの製造設備および重水素化アンモニアの製造方法
29日前
プライムプラネットエナジー&ソリューションズ株式会社
粒子の製造方法
29日前
株式会社オキサイド
高純度フッ化アルミニウムの製造方法及びフッ化物単結晶の製造方法
29日前
続きを見る
他の特許を見る