TOP
|
特許
|
意匠
|
商標
特許ウォッチ
Twitter
他の特許を見る
公開番号
2024154678
公報種別
公開特許公報(A)
公開日
2024-10-31
出願番号
2023068638
出願日
2023-04-19
発明の名称
排ガス処理システムのための制御装置および制御方法
出願人
株式会社荏原製作所
代理人
個人
,
個人
,
個人
,
個人
主分類
H01L
21/31 20060101AFI20241024BHJP(基本的電気素子)
要約
【課題】本発明は、複数の処理器を有する排ガス処理システムの動作を制御する制御装置の共通化を実現することができる制御装置および制御方法を提供する。
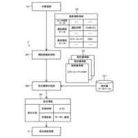
【解決手段】制御装置6は、複数の処理器2A~2Cを有する排ガス処理システム1の動作を制御する制御装置6であって、複数の処理器2A~2Cに対応し、複数の処理器2A~2Cの動作を個別に制御する複数の副制御装置8A~8Cと、複数の副制御装置8A~8Cに電気的に接続された主制御装置7を備え、主制御装置7は、複数の副制御装置8A~8Cに電力を供給する電源10と、複数の処理器2A~2Cの動作を統括的に制御する統括制御部11を備え、複数の副制御装置8A~8Cのそれぞれは、対応する処理器2A~2Cを動作させるための機器3,4に電気的に接続された個別制御部13を備えている。
【選択図】図1
特許請求の範囲
【請求項1】
複数の処理器を有する排ガス処理システムの動作を制御する制御装置であって、
前記複数の処理器に対応し、前記複数の処理器の動作を個別に制御する複数の副制御装置と、
前記複数の副制御装置に電気的に接続された主制御装置を備え、
前記主制御装置は、
前記複数の副制御装置に電力を供給する電源と、
前記複数の処理器の動作を統括的に制御する統括制御部を備え、
前記複数の副制御装置のそれぞれは、対応する処理器を動作させるための機器に電気的に接続された個別制御部を備えている、制御装置。
続きを表示(約 1,800 文字)
【請求項2】
前記機器は、前記対応する処理器に連結された運転用バルブである、請求項1に記載の制御装置。
【請求項3】
前記機器は、前記対応する処理器から物理量を検出し、前記物理量を表す信号を出力する運転用センサである、請求項1に記載の制御装置。
【請求項4】
前記複数の副制御装置のそれぞれは、前記複数の処理器のうちの少なくとも1つに異常が発生した場合に、前記異常が発生した処理器に連結された緊急遮断バルブを閉じるインターロック動作を行うインターロック部をさらに備え、
前記インターロック部は、前記緊急遮断バルブ、および前記少なくとも1つの処理器に設けられたインターロック用センサに電気的に接続されており、
前記インターロック部は、前記インターロック用センサが前記少なくとも1つの処理器に異常が発生したことを検出したときに、前記緊急遮断バルブを閉じるように構成されている、請求項1に記載の制御装置。
【請求項5】
前記個別制御部は、前記インターロック部を通じて、前記緊急遮断バルブに電気的に接続されており、
前記緊急遮断バルブは、前記個別制御部と前記緊急遮断バルブとの電気的な接続が遮断されたときに閉じるように構成されており、
前記インターロック部は、前記個別制御部と前記緊急遮断バルブとの間に配置された個別リレースイッチを備え、
前記個別リレースイッチは、前記インターロック用センサが前記少なくとも1つの処理器に異常が発生したことを検出したときに、前記個別制御部と前記緊急遮断バルブとの電気的な接続を遮断するように構成されている、請求項4に記載の制御装置。
【請求項6】
前記制御装置は、前記複数の副制御装置を電気的に接続するインターロック同期配線をさらに備え、
前記インターロック部は、前記インターロック同期配線および前記個別リレースイッチに電気的に接続可能な切替装置をさらに備え、
前記切替装置は、その内部電気経路を切り替えることにより、前記異常が発生した処理器に連結された前記緊急遮断バルブのみを閉じる単独インターロックモード、前記複数の処理器のうちの少なくとも2つに連結された前記緊急遮断バルブを閉じる連動インターロックモード、および前記インターロック動作を無効にするインターロック無効モードの間で切り替え可能に構成されている、請求項5に記載の制御装置。
【請求項7】
前記主制御装置は、前記電源に接続された電源リレースイッチをさらに備え、
前記複数の副制御装置のそれぞれは、前記複数の処理器のうちの少なくとも1つに設けられたインターロック用センサに接続された個別リレースイッチを備え、
前記電源リレースイッチは前記個別リレースイッチに電気的に接続されており、
前記電源リレースイッチは、前記インターロック用センサが前記少なくとも1つの処理器に異常が発生したことを検出したときに、前記電源から前記複数の副制御装置への前記電力の供給を遮断して、前記複数の処理器の運転を停止させるように構成されている、請求項1乃至3のいずれか一項に記載の制御装置。
【請求項8】
複数の処理器を有する排ガス処理システムの動作を制御する方法であって、
前記複数の処理器に対応する複数の副制御装置により、前記複数の処理器の動作を個別に制御し、
前記複数の副制御装置に電気的に接続された主制御装置の電源から、前記複数の副制御装置に電力を供給し、
前記主制御装置により、前記複数の処理器の動作を統括的に制御することを含む、制御方法。
【請求項9】
前記複数の処理器の動作を個別に制御することは、前記対応する処理器に連結された運転用バルブの動作を制御することを含む、請求項8に記載の制御方法。
【請求項10】
前記複数の処理器のうちの少なくとも1つの処理器に異常が発生したことがインターロック用センサによって検出されたときに、前記複数の副制御装置のうちの少なくとも1つにより、前記異常が発生した処理器に連結された緊急遮断バルブを閉じるインターロック動作を行うことをさらに含む、請求項8に記載の制御方法。
(【請求項11】以降は省略されています)
発明の詳細な説明
【技術分野】
【0001】
本発明は、複数の処理器を有する排ガス処理システムの動作を制御する制御装置および制御方法に関する。
続きを表示(約 2,700 文字)
【背景技術】
【0002】
半導体デバイス、液晶パネル、LED等を製造する半導体製造プロセスにおいては、真空にされたプロセスチャンバ内にプロセスガスを導入してエッチング処理やCVD処理等の各種処理を行っている。プロセスチャンバ、およびプロセスチャンバに接続されている排気系機器は、クリーニングガスを流すことにより定期的に洗浄されている。これらプロセスガスやクリーニングガス等の排ガスは、シラン系ガス、ハロゲンガス、PFCガス等を含み、人体に悪影響を及ぼすことや、地球温暖化の原因になる等の地球環境に悪影響を及ぼすことがあり、大気にそのまま放出することができない。そこで、これらの排ガスは、半導体処理装置の下流側に設置された排ガス処理システムによって無害化処理された後に大気に放出されている。
【先行技術文献】
【特許文献】
【0003】
特開2008-161861号公報
【発明の概要】
【発明が解決しようとする課題】
【0004】
近年の半導体ウェハの大型化に伴って、半導体処理装置から排出される排ガスの量が増加している。増加した排ガスを効率的に処理するために、複数の処理器を有する排ガス処理システムが使用されている。複数の処理器を有する排ガス処理システムは、1つの処理器に異常が発生した場合に、予備の処理器に切り替えて運転を継続させるバックアップ機能を有している。
【0005】
従来の複数の処理器を有する排ガス処理システムでは、1つの制御装置によって複数の処理器を制御するように構成されており、処理器の数が増減するたびに制御装置の仕様や制御回路を変更する必要がある。また、制御装置は、排ガス処理システムを安全に運転するために、温度センサ、漏水センサなどの各種センサによって処理器の異常を検出した場合に、処理器の運転を停止させるインターロック部を備える。制御装置は、処理器の数が増減するたびにインターロック部の構成を変更する必要がある。このようなことから、制御装置の構成を共通化できないという問題があった。
【0006】
そこで、本発明は、複数の処理器を有する排ガス処理システムの動作を制御する制御装置の共通化を実現することができる制御装置および制御方法を提供する。
【課題を解決するための手段】
【0007】
一態様では、複数の処理器を有する排ガス処理システムの動作を制御する制御装置であって、前記複数の処理器に対応し、前記複数の処理器の動作を個別に制御する複数の副制御装置と、前記複数の副制御装置に電気的に接続された主制御装置を備え、前記主制御装置は、前記複数の副制御装置に電力を供給する電源と、前記複数の処理器の動作を統括的に制御する統括制御部を備え、前記複数の副制御装置のそれぞれは、対応する処理器を動作させるための機器に電気的に接続された個別制御部を備えている、制御装置が提供される。
一態様では、前記機器は、前記対応する処理器に連結された運転用バルブである。
一態様では、前記機器は、前記対応する処理器から物理量を検出し、前記物理量を表す信号を出力する運転用センサである。
【0008】
一態様では、前記複数の副制御装置のそれぞれは、前記複数の処理器のうちの少なくとも1つに異常が発生した場合に、前記異常が発生した処理器に連結された緊急遮断バルブを閉じるインターロック動作を行うインターロック部をさらに備え、前記インターロック部は、前記緊急遮断バルブ、および前記少なくとも1つの処理器に設けられたインターロック用センサに電気的に接続されており、前記インターロック部は、前記インターロック用センサが前記少なくとも1つの処理器に異常が発生したことを検出したときに、前記緊急遮断バルブを閉じるように構成されている。
一態様では、前記個別制御部は、前記インターロック部を通じて、前記緊急遮断バルブに電気的に接続されており、前記緊急遮断バルブは、前記個別制御部と前記緊急遮断バルブとの電気的な接続が遮断されたときに閉じるように構成されており、前記インターロック部は、前記個別制御部と前記緊急遮断バルブとの間に配置された個別リレースイッチを備え、前記個別リレースイッチは、前記インターロック用センサが前記少なくとも1つの処理器に異常が発生したことを検出したときに、前記個別制御部と前記緊急遮断バルブとの電気的な接続を遮断するように構成されている。
【0009】
一態様では、前記制御装置は、前記複数の副制御装置を電気的に接続するインターロック同期配線をさらに備え、前記インターロック部は、前記インターロック同期配線および前記個別リレースイッチに電気的に接続可能な切替装置をさらに備え、前記切替装置は、その内部電気経路を切り替えることにより、前記異常が発生した処理器に連結された前記緊急遮断バルブのみを閉じる単独インターロックモード、前記複数の処理器のうちの少なくとも2つに連結された前記緊急遮断バルブを閉じる連動インターロックモード、および前記インターロック動作を無効にするインターロック無効モードの間で切り替え可能に構成されている。
一態様では、前記主制御装置は、前記電源に接続された電源リレースイッチをさらに備え、前記複数の副制御装置のそれぞれは、前記複数の処理器のうちの少なくとも1つに設けられたインターロック用センサに接続された個別リレースイッチを備え、前記電源リレースイッチは前記個別リレースイッチに電気的に接続されており、前記電源リレースイッチは、前記インターロック用センサが前記少なくとも1つの処理器に異常が発生したことを検出したときに、前記電源から前記複数の副制御装置への前記電力の供給を遮断して、前記複数の処理器の運転を停止させるように構成されている。
【0010】
一態様では、複数の処理器を有する排ガス処理システムの動作を制御する方法であって、前記複数の処理器に対応する複数の副制御装置により、前記複数の処理器の動作を個別に制御し、前記複数の副制御装置に電気的に接続された主制御装置の電源から、前記複数の副制御装置に電力を供給し、前記主制御装置により、前記複数の処理器の動作を統括的に制御することを含む、制御方法が提供される。
一態様では、前記複数の処理器の動作を個別に制御することは、前記対応する処理器に連結された運転用バルブの動作を制御することを含む。
(【0011】以降は省略されています)
この特許をJ-PlatPat(特許庁公式サイト)で参照する
関連特許
株式会社荏原製作所
ポンプ装置
7日前
株式会社荏原製作所
立形多段ポンプ
3日前
株式会社荏原製作所
蒸気発電プラント
14日前
株式会社荏原製作所
周波数制御システム
7日前
株式会社荏原製作所
研磨方法および研磨装置
9日前
株式会社荏原製作所
シールリングおよび往復動ポンプ
3日前
株式会社荏原製作所
基板接合方法および基板接合システム
7日前
株式会社荏原製作所
ドレッサ洗浄装置および基板研磨装置
8日前
株式会社荏原製作所
基板洗浄装置のキャリブレーション方法および基板洗浄方法
16日前
オリオン機械株式会社
ヒータおよびこれを有する液体温調装置
10日前
株式会社荏原製作所
情報処理装置、情報処理方法、情報処理プログラム、及び、記録媒体
1日前
株式会社荏原製作所
情報処理装置、基板研磨装置、推論装置、機械学習装置、情報処理方法、推論方法、及び、機械学習方法
14日前
住友化学株式会社
メタノールの製造方法
7日前
東ソー株式会社
絶縁電線
2日前
APB株式会社
蓄電セル
今日
個人
フレキシブル電気化学素子
14日前
日本発條株式会社
積層体
25日前
ローム株式会社
半導体装置
21日前
ローム株式会社
半導体装置
23日前
ローム株式会社
半導体装置
23日前
ローム株式会社
半導体装置
1日前
株式会社ユーシン
操作装置
14日前
ローム株式会社
半導体装置
16日前
日新イオン機器株式会社
イオン源
10日前
ローム株式会社
半導体装置
23日前
太陽誘電株式会社
コイル部品
14日前
太陽誘電株式会社
全固体電池
21日前
株式会社ホロン
冷陰極電子源
8日前
株式会社ホロン
冷陰極電子源
21日前
オムロン株式会社
電磁継電器
15日前
個人
半導体パッケージ用ガラス基板
24日前
株式会社GSユアサ
蓄電設備
14日前
株式会社GSユアサ
蓄電設備
14日前
株式会社GSユアサ
蓄電装置
25日前
株式会社GSユアサ
蓄電装置
21日前
ノリタケ株式会社
熱伝導シート
14日前
続きを見る
他の特許を見る