TOP
|
特許
|
意匠
|
商標
特許ウォッチ
Twitter
他の特許を見る
10個以上の画像は省略されています。
公開番号
2025179816
公報種別
公開特許公報(A)
公開日
2025-12-10
出願番号
2025083907
出願日
2025-05-20
発明の名称
印刷動作の順序外レンダリングを管理する印刷動作管理方法及び印刷システム
出願人
京セラドキュメントソリューションズ株式会社
代理人
個人
,
個人
,
個人
主分類
G06F
3/12 20060101AFI20251203BHJP(計算;計数)
要約
【課題】順序外を管理する印刷システムを提供する。
【解決手段】
印刷システムは、印刷ジョブを受信する印刷装置を含む。印刷装置は、RIPマネージャー及び少なくとも一つのレンダラーを含むラスター画像処理(RIP)システムを有する制御部を含む。RIPシステムは、複数のコピーの第一のコピーをレンダリングする。第一のコピーにはページが含まれる。ページが印刷された後、第一のコピーのページは記憶装置から削除される。後続のコピーの印刷中に、エンジンマネージャーは、ページがレンダリング済みページ用のストレージで利用できないことを検出する。RIPマネージャーは、順序外レンダリングを実行するように割り当てられたレンダラーを使用してページを再レンダリングし、印刷用にページをレンダリングするように指示される。
【選択図】図1
特許請求の範囲
【請求項1】
印刷動作を管理する方法であって、
印刷装置に対応するラスター画像処理のRIPシステムで印刷ジョブを処理し、前記印刷ジョブが、少なくとも一つのページを備える文書の複数のコピーを含み、
前記RIPシステムを使用して複数のコピーの第一のコピーのページをレンダリングし、
前記RIPシステムに関連付けられたストレージ内に第一のコピーのページを格納し、
前記RIPシステムに関連付けられた前記ストレージのストレージ閾値に達したかを判断し、
前記ストレージから第一のコピーが印刷された後、前記ページを削除し、
前記文書の後続のコピーを印刷するために、前記第一のコピーの前記ページが前記ストレージの内で利用可能でないことを検出し、
前記RIPシステムのRIPマネージャーに、前記ページのレンダリングを指示し、
前記ページにRIPを割り当て、
割り当てられた前記RIPで前記ページをレンダリングし、前記後続のコピーとともに印刷する
ことを特徴とする印刷動作管理方法。
続きを表示(約 1,200 文字)
【請求項2】
前記ページが利用可能でないことを検出する際、前記RIPシステム内のエンジンマネージャーを使用して前記RIPマネージャーと対話する
ことを特徴とする請求項1に記載の印刷動作管理方法。
【請求項3】
前記RIPマネージャーに指示する際、前記エンジンマネージャーから前記RIPマネージャーに指示を送る
ことを特徴とする請求項2に記載の印刷動作管理方法。
【請求項4】
前記エンジンマネージャーは、前記印刷装置の印刷エンジンとデータを交換する
ことを特徴とする請求項2に記載の印刷動作管理方法。
【請求項5】
更に、前記RIPシステムのエンジンマネージャーによって前記ストレージから前記第一のコピーのページを読み出す
ことを特徴とする請求項1に記載の印刷動作管理方法。
【請求項6】
更に、前記印刷装置で前記第一のコピーを印刷する
ことを特徴とする請求項1に記載の印刷動作管理方法。
【請求項7】
更に、前記第一のコピーが印刷された後、前記ストレージから少なくとも一つのページを削除する
ことを特徴とする請求項5に記載の印刷動作管理方法。
【請求項8】
印刷動作を管理する方法であって、
印刷装置に対応するラスター画像処理のRIPシステムで印刷ジョブを処理し、前記印刷ジョブが、少なくとも一つのページを有する文書の複数のコピーを含み、
前記RIPシステムを使用して、前記複数のコピーの第一のコピーのページをレンダリングし、
前記RIPシステムに関連付けられたディレクトリーファイル内に第一のコピーのページを格納し、
前記RIPシステムに関連付けられた前記ディレクトリーファイルに対するディレクトリーファイル閾値制限に達したと判断し、
前記ディレクトリーファイルから前記第一のコピーが印刷された後、前記ページを削除し、
前記第一のコピーの前記ページが、前記文書の後続のコピーを印刷するための前記ディレクトリーファイル内で利用できないことを検出し、
前記RIPシステムのRIPマネージャーに、前記ページのレンダリングを指示し、
前記ページにRIPを割り当て、
割り当てられた前記RIPで前記ページをレンダリングし、前記後続のコピーとともに印刷する
ことを特徴とする印刷動作管理方法。
【請求項9】
ページが利用可能でないことを検出することは、RIPシステム内のエンジンマネージャーを使用してRIPマネージャーと対話することを含む
ことを特徴とする請求項8に記載の印刷動作管理方法。
【請求項10】
RIPマネージャーに指示することは、エンジンマネージャーからRIPマネージャーに指示を送る
ことを特徴とする請求項9に記載の印刷動作管理方法。
(【請求項11】以降は省略されています)
発明の詳細な説明
【技術分野】
【0001】
本発明は、印刷ジョブの一つ又は複数のページを順番通りにレンダリングする印刷システム及び関連する方法に関する。
続きを表示(約 4,300 文字)
【背景技術】
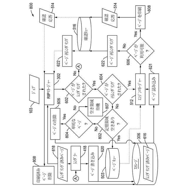
【0002】
印刷ジョブの場合、ジョブのページはまずレンダリングされ、次に印刷装置内で印刷のために送信される。ページの最後のコピーが印刷装置の印刷エンジンに送信された後、スペースを確保するためにページが削除される。特定の状況下では、ページが印刷される前、又は最後の印刷エンジンに送信される前に、ページをストレージから削除することができる。印刷エンジンが削除されたページを必要とする場合、そのページを再度レンダリングする必要があり、ページの順序がずれてレンダリングされる。
【0003】
複数のジョブがアクティブになることがあり得る。削除されたページは、まだ他のページをレンダリングしているジョブに属するか、レンダリングが完了したジョブに属するかのどちらかである。順序外のページのレンダリングに必要なリソースは、他のページや他のジョブで占有されている可能性があるものの、順序外のページを処理するために利用できるようにしたいという技術的要求がある。すなわち、この「順序外」(アウトオブシーケンス)のレンダリングは、印刷動作中の通常の印刷フローを中断させていた。
【0004】
また、特許文献1を参照すると、大容量のハードディスクを具備した複合機において,ハードディスクが何らかの理由で使用できない場合にも、画像処理動作を適正に実行可能とする画像形成装置が開示されている。
【先行技術文献】
【特許文献】
【0005】
特開2000-138787号公報
【発明の概要】
【発明が解決しようとする課題】
【0006】
しかしながら、上述のような従来技術では、順序外のページを処理するためのリソースの解放に対応できなかった。
【0007】
本発明は、このような状況に鑑みてなされたものであって、上述の問題点を解消する画像形成装置を提供することを課題とする。
【課題を解決するための手段】
【0008】
印刷動作を管理する方法が開示される。この方法は、印刷装置に対応するラスター画像処理(RIP)システムで印刷ジョブを処理することを含む。印刷ジョブは、少なくとも一つのページを有する文書の複数のコピーを含む。本方法は、また、RIPシステムを使用して複数のコピーの第一のコピーのページをレンダリングすることを含む。本方法は、また、第一のコピーのページをRIP関連するストレージ内に格納することを含む。本方法は、また、RIPシステムに関連するストレージのストレージ閾値に達したと判断することを含む。本方法は、また、第一のストレージから印刷された後に削除することを含む。本方法は、また、前記文書の後続のコピーを印刷するために、前記第一のコピーのページが前記ストレージ内で利用可能でないこと。本方法は、また、ページをレンダリングするように RIPマネージャーに指示することを含む。本方法は、また、ページにRIPを割り当てることを含む。本方法は、また、後続の印刷するために、割り当てられたRIPでページをレンダリングすることを含む。
印刷動作を管理する方法が開示される。この方法は、印刷装置に対応するラスター画像処理(RIP)システムで印刷ジョブを処理することを含む。印刷ジョブは、少なくとも一つのページを有する文書の複数のコピーを含む。本方法は、また、RIPシステムを用いて複数のコピーのうちの第一のコピーのページをレンダリングすることを含む。本方法は、また、RIPシステムに関連付けられたディレクトリーファイル内に第一のコピーのページを格納することを含む。本方法は、また、RIPシステムに関連付けられたディレクトリーファイルのディレクトリーファイル閾値制限に達したと判断することを含む。本方法は、また、第一のコピーがディレクトリーファイルから印刷された後にページを削除することを含む。本方法は、また、第一のコピーからのページが、文書の後続のコピーを印刷するためにディレクトリーファイル内で利用可能でないことを検出することを含む。本方法は、また、ページをレンダリングするように RIPシステムのRIPマネージャーに指示することを含む。本方法は、また、ページにRIPを割り当てることを含む。本方法は、また、後続のコピーとともに印刷するために、割り当てられたRIPでページをレンダリングすることを含む。
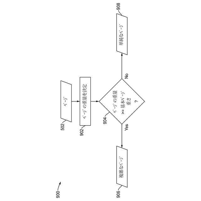
印刷動作を管理する方法が開示される。この方法は、印刷装置に対応するラスター画像処理(RIP)システムで印刷ジョブを処理することを含む。印刷ジョブは少なくとも一以上のページを含む。本方法は、また、RIPシステムを用いて複数のページの第一のページをレンダリングすることを含む。本方法は、また、RIPシステムに関連するストレージのストレージ閾値に達したと判断することを含む。本方法は、また、第一のページがRIPシステム内で処理するための単純なページであると判断することを含む。本方法は、また、RIPシステムに関連するストレージから第一のページを削除することを含む。本方法は、また、第一のページが印刷のためにストレージ内で利用可能でないことを検出することを含む。本方法は、また、第一のページをレンダリングするようにRIPシステムのRIPマネージャーに指示することを含む。本方法は、また、RIPシステムのRIPを第一のページに割り当てることを含む。本方法は、また、複数のページとともに印刷するために、割り当てられたRIPで第一のページをレンダリングすることを含む。
印刷動作を管理する方法が開示される。この方法は、印刷装置に対応するラスター画像処理(RIP)システムで印刷ジョブを処理することを含む。印刷ジョブは、少なくとも一つのページを含む。本方法は、また、RIPシステムを使用して、印刷ジョブのための少なくとも一つのページのページをレンダリングすることを含む。本方法は、また、印刷装置でページを印刷することを含む。本方法は、また、RIPシステムに関連する記憶装置からページを削除することを含む。本方法は、また、印刷されたページのエラーを検出することを含む。本方法は、また、ページが再印刷のためにストレージ内で利用可能でないことを検出することを含む。本方法は、また、ページをレンダリングするようにRIPシステムのRIPマネージャーに指示することを含む。本方法は、また、RIPシステムのRIPをページに割り当てることを含む。本方法は、また、再印刷のために割り当てられたRIPでページをレンダリングすることを含む。
印刷動作を管理する方法が開示される。この方法は、印刷装置に対応するラスター画像処理(RIP)システムで印刷ジョブを処理することを含む。印刷ジョブは、少なくとも一つのページを有する文書の複数のコピーを含む。本方法は、また、 RIPシステムを使用して複数のコピーの第一のコピーのページをレンダリングすることを含む。本方法は、また、第一のコピーのページが文書の後続のコピーを印刷するために利用可能でないことを検出することを含む。本方法は、また、ページをレンダリングするようにRIPシステムのRIPマネージャーに指示することを含む。本方法は、また、ページにRIPを割り当てることを含む。本方法は、また、後続のコピーとともに印刷するために、割り当てられたRIPでページをレンダリングすることを含む。
印刷装置が開示されている。印刷装置は、印刷動作を実行する印刷エンジンを含む。印刷装置は、プロセッサー及びメモリーを有するデジタルフロントエンド(DFE)も含む。DFEは、印刷エンジンと連携して印刷動作を管理する。メモリーは、プロセッサー上で実行されると、DFEに対応するラスター画像処理(RIP)システムで印刷ジョブを処理する動作を実行するようにプロセッサーを構成する命令を記憶する。印刷ジョブは、少なくとも一つのページを有する複数のコピーを含む。動作は、RIPシステムを使用して、複数のコピーの第一のコピーのページをレンダリングすることをさらに含む。動作は、第一のコピーのページが、文書の後続のコピーを印刷するために利用可能でないことを検出することをさらに含む。動作は、前記RIPシステムのRIPマネージャーに前記ページのレンダリングを指示することをさらに含む。動作は、ページにRIPを割り当てることをさらに含む。動作は、さらに、後続のコピーとともに印刷するために、割り当てられたRIPでページをレンダリングすることを含む。
【発明の効果】
【0009】
本発明によれば、印刷動作の順序外レンダリングを管理することが可能な印刷動作管理方法を提供することができる。
【図面の簡単な説明】
【0010】
本発明のその他の様々な特徴及び付随する利点は、添付の図面と併せて考慮すると、より十分に理解されるであろう。
開示された実施形態によるジョブを管理するための印刷システムを示す図を示す。
開示された実施形態による印刷システム内で使用するための印刷装置の構成要素のブロック図を示す。
開示された実施形態による印刷システムでジョブを処理する際に使用するRIPシステムのブロック図を示す。
開示された実施形態によるRIPシステム内で使用される例示的なRIPのブロック図を示す。
開示された実施形態による印刷動作の管理に使用するRIPシステムのブロック図を示す。
開示された実施形態による、順序外レンダリング処理中の印刷動作(空間閾値制限)を管理するためのフロー図を示す。
開示された実施形態による印刷動作(ディレクトリーファイル閾値制限)を管理するための別のフロー図を示す。
開示された実施形態による印刷動作(単純なページ検出)を管理するための別のフロー図を示す。
開示された実施形態によるRIPシステムにおけるページ複雑さ判断のフロー図を示す。
開示された実施形態によるページの複雑さの判断に使用されるコンポーネントのブロック図を示す。
開示された実施形態による印刷動作を管理するための別のフロー図を示す。
【発明を実施するための形態】
(【0011】以降は省略されています)
この特許をJ-PlatPat(特許庁公式サイト)で参照する
関連特許
個人
詐欺保険
1か月前
個人
縁伊達ポイン
1か月前
個人
5掛けポイント
1か月前
個人
RFタグシート
1か月前
個人
職業自動販売機
26日前
個人
ペルソナ認証方式
1か月前
個人
QRコードの彩色
2か月前
個人
自動調理装置
1か月前
個人
情報処理装置
1か月前
個人
立体グラフの利用方法
5日前
個人
残土処理システム
2か月前
個人
農作物用途分配システム
1か月前
個人
サービス情報提供システム
28日前
個人
タッチパネル操作指代替具
1か月前
NISSHA株式会社
入力装置
6日前
個人
データ復元システム
今日
個人
知的財産出願支援システム
2か月前
個人
インターネットの利用構造
1か月前
個人
携帯端末障害問合せシステム
1か月前
個人
学習用データ生成装置
7日前
個人
スケジュール調整プログラム
1か月前
株式会社キーエンス
受発注システム
2か月前
株式会社キーエンス
受発注システム
2か月前
株式会社キーエンス
受発注システム
2か月前
個人
エリアガイドナビAIシステム
1か月前
個人
食品レシピ生成システム
2か月前
キヤノン株式会社
表示システム
2か月前
キヤノン株式会社
画像認識装置
20日前
キヤノン株式会社
情報処理装置
20日前
キヤノン株式会社
情報処理装置
20日前
エッグス株式会社
情報処理装置
1か月前
個人
音声・通知・再配達UX制御構造
2か月前
株式会社ワコム
電子ペン
1か月前
株式会社ワコム
電子ペン
1か月前
個人
帳票自動生成型SaaSシステム
2か月前
キヤノン株式会社
印刷システム
1か月前
続きを見る
他の特許を見る