TOP
|
特許
|
意匠
|
商標
特許ウォッチ
Twitter
他の特許を見る
公開番号
2025179672
公報種別
公開特許公報(A)
公開日
2025-12-10
出願番号
2024086578
出願日
2024-05-28
発明の名称
硫酸ニッケル水溶液の製造方法
出願人
住友金属鉱山株式会社
代理人
弁理士法人山内特許事務所
主分類
C01G
53/10 20060101AFI20251203BHJP(無機化学)
要約
【課題】粗硫酸ニッケル原料を十分に溶解しつつ、加温用エネルギーを低減できる硫酸ニッケル水溶液の製造方法を提供する。
【解決手段】硫酸ニッケル水溶液の製造方法は、粗硫酸ニッケル原料から採取した試料の溶解性を評価する評価工程と、評価工程の結果に基づき設定した溶解処理温度で、粗硫酸ニッケル原料を水に溶解して粗硫酸ニッケル水溶液を得る溶解工程とを有する。粗硫酸ニッケル原料の溶解性に応じて、粗硫酸ニッケル原料が十分に溶解する範囲において溶解処理温度を低く設定できるので、加温用エネルギーを低減できる。
【選択図】図2
特許請求の範囲
【請求項1】
粗硫酸ニッケル原料から採取した試料の溶解性を評価する評価工程と、
前記評価工程の結果に基づき設定した溶解処理温度で、前記粗硫酸ニッケル原料を水に溶解して粗硫酸ニッケル水溶液を得る溶解工程と、を備える
ことを特徴とする硫酸ニッケル水溶液の製造方法。
続きを表示(約 1,100 文字)
【請求項2】
前記評価工程は、
前記試料のニッケル含有率を特定するニッケル含有率特定工程、
前記試料のアンモニア含有率を特定するアンモニア含有率特定工程、および、
基準温度、基準時間で、基準重量の前記試料を水に溶解させ溶け残りが生じるか否かを試験する溶解試験工程、
のうちのいずれか一または複数を有する
ことを特徴とする請求項1記載の硫酸ニッケル水溶液の製造方法。
【請求項3】
前記試料の前記ニッケル含有率が基準ニッケル含有率以上の場合、前記溶解工程における前記溶解処理温度を第1温度とし、
前記試料の前記ニッケル含有率が前記基準ニッケル含有率未満であり、前記試料の前記アンモニア含有率が基準アンモニア含有率以上であり、前記溶解試験工程において前記試料が溶け残った場合、前記溶解工程における前記溶解処理温度を前記第1温度と同じかそれよりも低い第2温度とし、
前記試料の前記ニッケル含有率が前記基準ニッケル含有率未満であり、前記試料の前記アンモニア含有率が前記基準アンモニア含有率以上であり、前記溶解試験工程において前記試料が完全溶解した場合、前記溶解工程における前記溶解処理温度を前記第2温度よりも低い第3温度とし、
前記試料の前記ニッケル含有率が前記基準ニッケル含有率未満であり、前記試料の前記アンモニア含有率が前記基準アンモニア含有率未満である場合、前記溶解工程における前記溶解処理温度を前記第3温度と同じかそれよりも低い第4温度とする
ことを特徴とする請求項2記載の硫酸ニッケル水溶液の製造方法。
【請求項4】
前記第1温度は79℃以上、90℃以下であり、
前記第2温度は45℃以上、90℃以下であり、
前記第3温度は35℃以上、40℃以下であり、
前記第4温度は20℃以上、40℃以下である
ことを特徴とする請求項3記載の硫酸ニッケル水溶液の製造方法。
【請求項5】
前記基準ニッケル含有率は22~26重量%(乾燥量基準)の範囲内で設定された値であり、
前記基準アンモニア含有率は0.1~0.5重量%(乾燥量基準)の範囲内で設定された値であり、
前記基準温度は40~45℃の範囲内で設定された値であり、
前記基準時間は0.5~1.5時間の範囲内で設定された値であり、
前記基準重量は硫酸ニッケル六水和物を水に溶解させた硫酸ニッケル水溶液の比重が1.35~1.42となる重量の範囲内で設定された値である
ことを特徴とする請求項3または4記載の硫酸ニッケル水溶液の製造方法。
発明の詳細な説明
【技術分野】
【0001】
本発明は、硫酸ニッケル水溶液の製造方法に関する。さらに詳しくは、本発明は、粗硫酸ニッケル原料から硫酸ニッケル水溶液を製造する方法に関する。
続きを表示(約 2,400 文字)
【背景技術】
【0002】
高純度の硫酸ニッケル水溶液を製造する方法として、以下の方法が知られている(例えば、特許文献1)。まず、粗硫酸ニッケル原料を溶解して粗硫酸ニッケル水溶液を得る(溶解工程)。つぎに、粗硫酸ニッケル水溶液を加圧反応槽内で硫化剤と反応させ、亜鉛を硫化澱物として除去する(硫化工程)。つぎに、中和反応により粗硫酸ニッケル水溶液に含まれる鉄を中和澱物として除去し、中和終液を得る(中和工程)。最後に、溶媒抽出により中和終液中のニッケルを抽出、逆抽出して高純度の硫酸ニッケル水溶液を得る(溶媒抽出工程)。
【先行技術文献】
【特許文献】
【0003】
特開2024-56178号公報
【発明の概要】
【発明が解決しようとする課題】
【0004】
溶解工程では、粗硫酸ニッケル原料を水に溶解して粗硫酸ニッケル水溶液を得る。この際、水溶液を加温して粗硫酸ニッケル原料の溶解を促進することが行われる。溶解工程において粗硫酸ニッケル原料が溶け残ると、残渣として系外に排出されるため、ニッケルロスとなる。そこで、粗硫酸ニッケル原料の溶け残りが生じないように溶解処理温度が設定される。溶解処理温度を高くするほど粗硫酸ニッケル原料が溶解しやすくなるが、多くの加温用エネルギーを消費するため製造コストが高くなる。
【0005】
本発明は上記事情に鑑み、粗硫酸ニッケル原料を十分に溶解しつつ、加温用エネルギーを低減できる硫酸ニッケル水溶液の製造方法を提供することを目的とする。
【課題を解決するための手段】
【0006】
第1態様の硫酸ニッケル水溶液の製造方法は、粗硫酸ニッケル原料から採取した試料の溶解性を評価する評価工程と、前記評価工程の結果に基づき設定した溶解処理温度で、前記粗硫酸ニッケル原料を水に溶解して粗硫酸ニッケル水溶液を得る溶解工程と、を備えることを特徴とする。
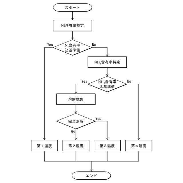
第2態様の硫酸ニッケル水溶液の製造方法は、第1態様において、前記評価工程は、前記試料のニッケル含有率を特定するニッケル含有率特定工程、前記試料のアンモニア含有率を特定するアンモニア含有率特定工程、および、基準温度、基準時間で、基準重量の前記試料を水に溶解させ溶け残りが生じるか否かを試験する溶解試験工程、のうちのいずれか一または複数を有することを特徴とする。
第3態様の硫酸ニッケル水溶液の製造方法は、第2態様において、前記試料の前記ニッケル含有率が基準ニッケル含有率以上の場合、前記溶解工程における前記溶解処理温度を第1温度とし、前記試料の前記ニッケル含有率が前記基準ニッケル含有率未満であり、前記試料の前記アンモニア含有率が基準アンモニア含有率以上であり、前記溶解試験工程において前記試料が溶け残った場合、前記溶解工程における前記溶解処理温度を前記第1温度と同じかそれよりも低い第2温度とし、前記試料の前記ニッケル含有率が前記基準ニッケル含有率未満であり、前記試料の前記アンモニア含有率が前記基準アンモニア含有率以上であり、前記溶解試験工程において前記試料が完全溶解した場合、前記溶解工程における前記溶解処理温度を前記第2温度よりも低い第3温度とし、前記試料の前記ニッケル含有率が前記基準ニッケル含有率未満であり、前記試料の前記アンモニア含有率が前記基準アンモニア含有率未満である場合、前記溶解工程における前記溶解処理温度を前記第3温度と同じかそれよりも低い第4温度とすることを特徴とする。
第4態様の硫酸ニッケル水溶液の製造方法は、第3態様において、前記第1温度は79℃以上、90℃以下であり、前記第2温度は45℃以上、90℃以下であり、前記第3温度は35℃以上、40℃以下であり、前記第4温度は20℃以上、40℃以下であることを特徴とする。
第5態様の硫酸ニッケル水溶液の製造方法は、第3または第4態様において、前記基準ニッケル含有率は22~26重量%(乾燥量基準)の範囲内で設定された値であり、前記基準アンモニア含有率は0.1~0.5重量%(乾燥量基準)の範囲内で設定された値であり、前記基準温度は40~45℃の範囲内で設定された値であり、前記基準時間は0.5~1.5時間の範囲内で設定された値であり、前記基準重量は硫酸ニッケル六水和物を水に溶解させた硫酸ニッケル水溶液の比重が1.35~1.42となる重量の範囲内で設定された値であることを特徴とする。
【発明の効果】
【0007】
本発明によれば、粗硫酸ニッケル原料の溶解性に応じて、粗硫酸ニッケル原料が十分に溶解する範囲において溶解処理温度を低く設定できるので、加温用エネルギーを低減できる。
【図面の簡単な説明】
【0008】
一実施形態に係る硫酸ニッケル水溶液の製造方法を示す全体工程図である。
一実施形態における評価工程のフローチャートである。
【発明を実施するための形態】
【0009】
つぎに、本発明の実施形態を図面に基づき説明する。
図1に示すように、本発明の一実施形態に係る硫酸ニッケル水溶液の製造方法は、溶解工程S1、硫化工程S2、中和工程S3、および溶媒抽出工程S4を有する。ただし、少なくとも溶解工程S1が実行されればよく、その他の工程S2、S3、S4は必要に応じて実行されればよい。また、別の工程が追加されてもよい。
【0010】
粗硫酸ニッケル原料として、例えば、銅製錬の副産物として得られる粗硫酸ニッケル結晶が用いられる。粗硫酸ニッケル原料は亜鉛、鉄などの不純物を含む。
(【0011】以降は省略されています)
この特許をJ-PlatPat(特許庁公式サイト)で参照する
関連特許
住友金属鉱山株式会社
酸化物単結晶基板の製造方法
1日前
住友金属鉱山株式会社
硫酸ニッケル水溶液の製造方法
今日
住友金属鉱山株式会社
硫酸ニッケル水溶液の製造方法
今日
住友金属鉱山株式会社
チェーンコンベアのスプロケット回転作業用治具、及び、チェーンコンベアの手回し運転方法
1か月前
個人
一酸化炭素の製造方法
1か月前
株式会社タクマ
固体炭素化設備
1か月前
東洋アルミニウム株式会社
水素発生材料
20日前
東洋アルミニウム株式会社
水素発生材料
20日前
三菱重工業株式会社
加熱装置
1か月前
株式会社信日康
2次元構造を有する酸化ケイ素
12日前
株式会社トクヤマ
酸性次亜塩素酸水の製造方法
1か月前
株式会社フクハラ
高純度窒素ガス生成システム
5日前
日揮触媒化成株式会社
珪酸液およびその製造方法
1か月前
デンカ株式会社
窒化ケイ素粉末
1か月前
デンカ株式会社
窒化ケイ素粉末
1か月前
住友化学株式会社
無機アルミニウム化合物粉末
1か月前
デンカ株式会社
窒化ケイ素粉末の製造方法
2か月前
デンカ株式会社
セラミックス粉末の製造方法
2か月前
デンカ株式会社
アルミナ粉末、無機粉末および樹脂組成物
28日前
デンカ株式会社
アルミナ粉末、無機粉末および樹脂組成物
28日前
デンカ株式会社
アルミナ粉末、無機粉末および樹脂組成物
28日前
浅田化学工業株式会社
アルミナ水分散液の製造方法
1か月前
DOWAエコシステム株式会社
水酸化亜鉛の製造方法
5日前
JFEエンジニアリング株式会社
ドライアイス製造システム
1か月前
トヨタ自動車株式会社
光触媒を用いた水素ガス製造装置
1か月前
トヨタ自動車株式会社
光触媒を用いた水素ガス製造装置
1か月前
日揮触媒化成株式会社
粉体及びその製造方法、並びに樹脂組成物
2か月前
マイクロ波化学株式会社
水素の製造方法
26日前
日本電気株式会社
繊維状カーボンナノホーン集合体の接着分離方法
1か月前
株式会社豊田自動織機
多孔質クラスレートシリコンの製造方法
12日前
エヌ・イーケムキャット株式会社
ゼオライトの製造方法
1か月前
デンカ株式会社
窒化ホウ素粉末、及び樹脂成形体
1か月前
デンカ株式会社
窒化ホウ素粉末、及び樹脂成形体
1か月前
株式会社大阪チタニウムテクノロジーズ
四塩化チタン製造方法
2か月前
デンカ株式会社
窒化ケイ素粉末、及びその製造方法
2か月前
デンカ株式会社
無機粉末及びそれを用いた樹脂組成物
1か月前
続きを見る
他の特許を見る