TOP
|
特許
|
意匠
|
商標
特許ウォッチ
Twitter
他の特許を見る
公開番号
2025179648
公報種別
公開特許公報(A)
公開日
2025-12-10
出願番号
2024086540
出願日
2024-05-28
発明の名称
電子制御装置
出願人
株式会社デンソー
代理人
個人
,
個人
主分類
G09C
1/00 20060101AFI20251203BHJP(教育;暗号方法;表示;広告;シール)
要約
【課題】生成するたびに異なる乱数とすることができる電子制御装置を提供すること。
【解決手段】電子制御装置は、CPUとROMとNVMを備えており、乱数を生成する機能を有している。CPUは、ステップS30において、乱数の生成毎にユニークな値となる乱数生成回数を取得する。また、CPUは、ステップS32において、電子制御装置に固有のデバイスIDを取得する。そして、CPUは、ステップS38において、乱数生成回数とデバイスIDを用いて乱数を生成する。
【選択図】図4
特許請求の範囲
【請求項1】
乱数を生成する機能を有した電子制御装置であって、
前記乱数の生成毎に異なる値となるユニーク値を取得するユニーク値取得部(S30)と、
前記電子制御装置に固有の固有値を取得する固有値取得部(S32)と、
前記ユニーク値と前記固有値を用いて前記乱数を生成する生成部(S38,S38a)と、を備えている電子制御装置。
続きを表示(約 910 文字)
【請求項2】
フリーランタイマのタイマ値を取得するタイマ値取得部(S33)をさらに備え、
前記生成部は、前記ユニーク値と前記固有値に加えて前記タイマ値を用いて前記乱数を生成する請求項1に記載の電子制御装置。
【請求項3】
前記ユニーク値取得部は、前記ユニーク値として、前記生成部による前記乱数の生成回数を取得する請求項1または2に記載の電子制御装置。
【請求項4】
前記ユニーク値取得部は、前記ユニーク値として、前記電子制御装置が起動するたびに異なる値を取得する請求項1または2に記載の電子制御装置。
【請求項5】
前記ユニーク値取得部による前記ユニーク値の取得が可能か否かを判定する判定部(S34,34a)をさらに備え、
前記生成部は、前記ユニーク値の取得が可能でないと判定されると、前記乱数の生成を停止する請求項1または2に記載の電子制御装置。
【請求項6】
前記生成部は、前記ユニーク値と前記固有値と前記タイマ値の一部のみを用いて前記乱数を生成するものであり、インプット追加処理を行うことで、前記ユニーク値と前記固有値と前記タイマ値の全てを用いて前記乱数を生成する請求項2に記載の電子制御装置。
【請求項7】
制御用のソフトウェアと前記固有値が記憶された記憶装置を備え、
前記固有値は、前記電子制御装置の製造過程で前記記憶装置に書き込まれている請求項1または2に記載の電子制御装置。
【請求項8】
前記ソフトウェアと前記固有値は、前記記憶装置の異なる記憶領域に記憶されており、
前記固有値が記憶された前記記憶領域は、前記ソフトウェアのリプログラミングで書き換えない領域である請求項7に記載の電子制御装置。
【請求項9】
前記生成部は、異なる用途で用いられる複数の前記乱数を予め生成する請求項1または2に記載の電子制御装置。
【請求項10】
制御対象としてモータを制御する請求項1または2に記載の電子制御装置。
(【請求項11】以降は省略されています)
発明の詳細な説明
【技術分野】
【0001】
本開示は、電子制御装置に関する。
続きを表示(約 1,300 文字)
【背景技術】
【0002】
特許文献1に開示されているように、疑似乱数生成器がある。
【先行技術文献】
【特許文献】
【0003】
特表2019-531541号公報
【発明の概要】
【発明が解決しようとする課題】
【0004】
ところで、電子制御装置は、乱数生成用の情報を用いて乱数を生成する機能を有したものがある。電子制御装置は、その情報によっては、ばらつきが小さい乱数を生成する虞がある。上記点において、または言及されていない他の観点において、電子制御装置にはさらなる改良が求められている。
【0005】
開示される一つの目的は、生成するたびに異なる乱数とすることができる電子制御装置を提供することである。
【課題を解決するための手段】
【0006】
ここに開示された電子制御装置は、
乱数を生成する機能を有した電子制御装置であって、
乱数の生成毎に異なる値となるユニーク値を取得するユニーク値取得部(S30)と、
電子制御装置に固有の固有値を取得する固有値取得部(S32)と、
ユニーク値と固有値を用いて乱数を生成する生成部(S38,S38a)と、を備えている。
【0007】
このように、電子制御装置は、ユニーク値と固有値を用いて乱数を生成する。そのため、電子制御装置は、生成するたびに異なる乱数とすることができる。
【0008】
この明細書において開示された複数の態様は、それぞれの目的を達成するために、互いに異なる技術的手段を採用する。請求の範囲およびこの項に記載した括弧内の符号は、後述する実施形態の部分との対応関係を例示的に示すものであって、技術的範囲を限定することを意図するものではない。この明細書に開示される目的、特徴、および効果は、後続の詳細な説明、および添付の図面を参照することによってより明確になる。
【図面の簡単な説明】
【0009】
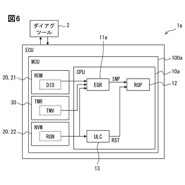
第1実施形態における電子制御装置の概略構成を示すブロック図である。
第1実施形態におけるダイアグツールの処理動作を示すフローチャートである。
第1実施形態における電子制御装置の処理動作を示すフローチャートである。
第1実施形態における電子制御装置の乱数生成処理を示すフローチャートである。
変形例における電子制御装置の乱数生成処理を示すフローチャートである。
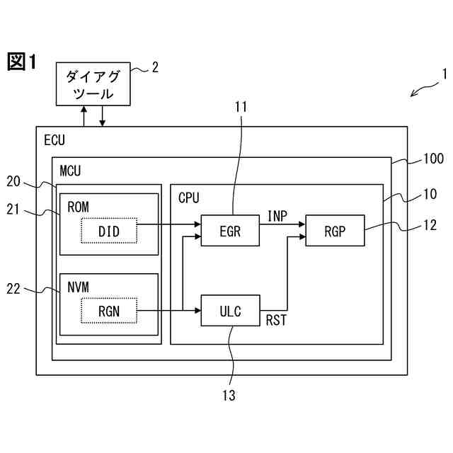
第2実施形態における電子制御装置の概略構成を示すブロック図である。
第2実施形態における電子制御装置の乱数生成処理を示すフローチャートである。
【発明を実施するための形態】
【0010】
以下において、図面を参照しながら、本開示を実施するための複数の形態を説明する。各形態において、先行する形態で説明した事項に対応する部分には同一の参照符号を付して重複する説明を省略する場合がある。各形態において、構成の一部のみを説明している場合は、構成の他の部分については先行して説明した他の形態を参照し適用することができる。
(【0011】以降は省略されています)
この特許をJ-PlatPat(特許庁公式サイト)で参照する
関連特許
株式会社デンソーウェーブ
筐体
1か月前
株式会社デンソー
回転機
1か月前
株式会社デンソー
ロータ
7日前
株式会社デンソー
電動機
12日前
株式会社デンソー
端子台
14日前
株式会社デンソー
分離体
20日前
株式会社デンソー
ロータ
7日前
株式会社デンソー
電動弁
1か月前
株式会社デンソー
摺動機構
1か月前
株式会社デンソー
電子装置
1か月前
株式会社デンソー
制御装置
1か月前
株式会社デンソー
電子装置
12日前
株式会社デンソー
電解装置
1か月前
株式会社デンソー
光学部材
12日前
株式会社デンソー
トランス
12日前
株式会社デンソー
光学部材
20日前
株式会社デンソー
摺動機構
1か月前
株式会社デンソー
光学部材
20日前
株式会社デンソー
熱交換器
1か月前
株式会社デンソー
反力装置
2か月前
株式会社デンソー
電気回路
28日前
株式会社デンソー
撮像装置
1か月前
株式会社デンソー
撮像装置
1か月前
株式会社デンソー
検出装置
1か月前
株式会社デンソー
電子装置
1か月前
株式会社デンソー
整流回路
5日前
株式会社デンソー
電子装置
2か月前
株式会社デンソー
回転電機
5日前
株式会社デンソー
センサ装置
1か月前
株式会社デンソー
半導体装置
今日
株式会社デンソートリム
鞍乗り車両
1か月前
株式会社デンソー
半導体装置
1か月前
株式会社デンソーテン
インバータ
2か月前
株式会社デンソー
熱交換部材
1か月前
株式会社デンソー
電磁継電器
12日前
株式会社デンソー
ヒータ装置
1か月前
続きを見る
他の特許を見る