TOP
|
特許
|
意匠
|
商標
特許ウォッチ
Twitter
他の特許を見る
10個以上の画像は省略されています。
公開番号
2025179153
公報種別
公開特許公報(A)
公開日
2025-12-09
出願番号
2025145925,2025519698
出願日
2025-09-03,2025-03-25
発明の名称
熱可塑性ポリマー由来成分の回収方法、回収装置、解重合中間体組成物、解重合反応組成物、およびリサイクルモノマーの製造方法、製造装置
出願人
東レ株式会社
代理人
主分類
B29B
17/02 20060101AFI20251202BHJP(プラスチックの加工;可塑状態の物質の加工一般)
要約
【課題】熱可塑性ポリマー由来成分を得る工程を有する、熱可塑性ポリマー由来成分の回収方法を提供する。
【解決手段】熱可塑性ポリマーと水に不溶の固体成分を含む熱可塑性ポリマー組成物から、高効率、かつ安定的に熱可塑性ポリマー由来成分を回収するため、熱可塑性ポリマーと水に不溶の固体成分を含む熱可塑性ポリマー組成物と水の混合物から、110℃以上350℃以下、0.14MPa以上30MPa以下の条件下で、水に不溶の固体成分を分離して、熱可塑性ポリマー由来成分を得る工程を有する、熱可塑性ポリマー由来成分の回収方法。
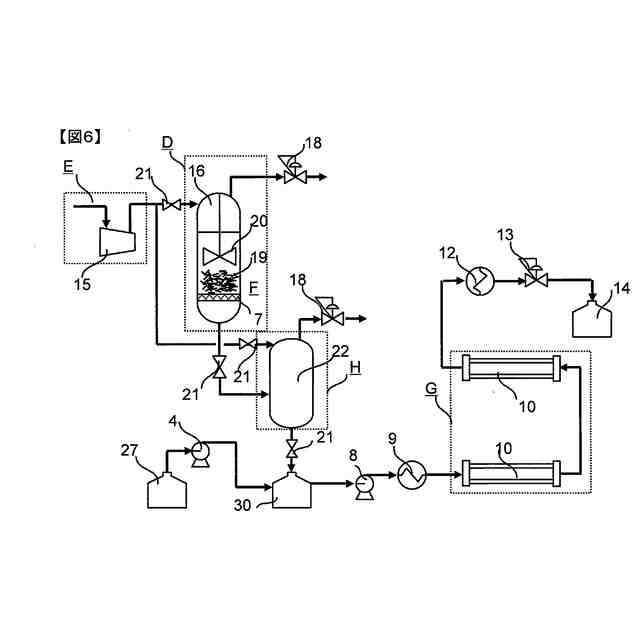
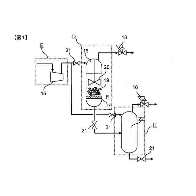
【選択図】図1
特許請求の範囲
【請求項1】
熱可塑性ポリマーPと水に不溶の固体成分Sを含む熱可塑性ポリマー組成物と、水とを含む混合物から、110℃以上350℃以下、0.14MPa以上30MPa以下の条件下で、水に不溶の固体成分Sを分離して、前記熱可塑性ポリマーPに由来する成分を得る工程を有する、熱可塑性ポリマー由来成分の回収方法。
続きを表示(約 1,100 文字)
【請求項2】
前記熱可塑性ポリマー組成物の量をa(kg)とし、水の質量をb(kg)とし、b/aの比が1以上100以下となるように混合する、請求項1に記載の熱可塑性ポリマー由来成分の回収方法。
【請求項3】
前記水に不溶の固体成分Sを分離する工程を、前記熱可塑性ポリマーPの水中での融点以上で行う、請求項1または2に記載の熱可塑性ポリマー由来成分の回収方法。
【請求項4】
前記水に不溶の固体成分Sがシリコーンポリマーの架橋体および/または繊維状充填材を含む、請求項1~3のいずれかに記載の熱可塑性ポリマー由来成分の回収方法。
【請求項5】
前記熱可塑性ポリマーPがポリアミドおよび/またはポリエステルを含む、請求項1~4のいずれかに記載の熱可塑性ポリマー由来成分の回収方法。
【請求項6】
前記熱可塑性ポリマー組成物が物品を構成し、該物品がエアバッグ基布である請求項1~5のいずれかに記載の熱可塑性ポリマー由来成分の回収方法。
【請求項7】
請求項1~6のいずれかに記載の熱可塑性ポリマー由来成分の回収方法により回収される熱可塑性ポリマー由来成分を解重合させる工程を有する、リサイクルモノマーの製造方法。
【請求項8】
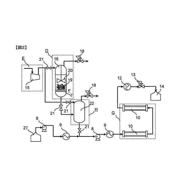
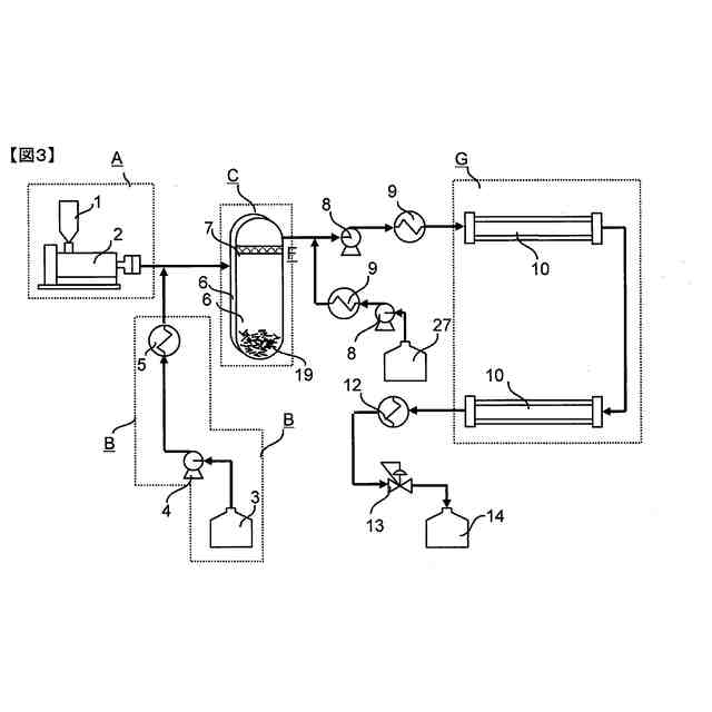
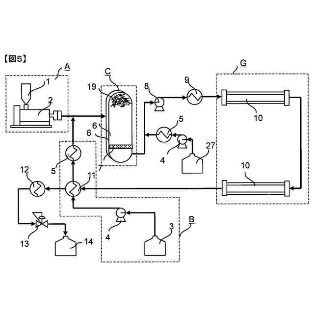
熱可塑性ポリマーPと水に不溶の固体成分Sを含む熱可塑性ポリマー組成物と、水とを混合した溶液を得るための圧力容器(D)と、110℃以上350℃以下、0.14MPa以上30MPa以下で、前記圧力容器(D)から排出される混合物中の水に不溶の固体成分Sを分離する手段(F)と、熱可塑性ポリマー由来成分を回収する熱可塑性ポリマー由来成分タンク(H)を有し、前記圧力容器(D)と前記熱可塑性ポリマー由来成分タンク(H)との間に前記水に不溶の固体成分Sを分離する手段(F)としてフィルターを備える、熱可塑性ポリマー由来成分の回収装置。
【請求項9】
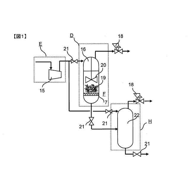
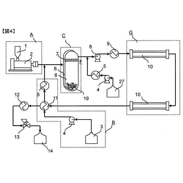
熱可塑性ポリマーPと水に不溶の固体成分Sを含む熱可塑性ポリマー組成物を供給する手段(A)と、水を供給する手段(B)と、前記手段(A)から供給された前記熱可塑性ポリマー組成物と前記手段(B)から供給された水の混合物から、110℃以上350℃以下、0.14MPa以上30MPa以下で、水に不溶の固体成分Sを分離して熱可塑性ポリマー由来成分を得る手段(C)を有し、前記手段(C)として少なくともフィルターを備える、熱可塑性ポリマー由来成分の回収装置。
【請求項10】
前記水に不溶の固体成分Sが、シリコーンポリマーの架橋体および/または繊維状充填材を含む、請求項8または9に記載の熱可塑性ポリマー由来成分の回収装置。
(【請求項11】以降は省略されています)
発明の詳細な説明
【技術分野】
【0001】
本発明は、熱可塑性ポリマー由来成分の回収方法および回収装置、リサイクルモノマーの製造方法および製造装置、解重合中間体組成物の製造方法、解重合反応組成物の製造方法、ポリアミドのモノマーまたはポリエステルのモノマー、ポリアミドまたはポリエステル、これらの製造方法、およびこれらを用いてなる成形品、繊維、フィルム、またはシートに関する。
続きを表示(約 2,100 文字)
【背景技術】
【0002】
近年、海洋プラスチック問題を契機に地球環境問題に対する関心が高まり、持続可能な社会の構築が求められている。地球環境問題には、地球温暖化をはじめ、資源枯渇、水不足などがある。地球環境問題の多くは産業革命以降の人間活動による、資源消費量と地球温暖化ガス排出量の急速な増大が原因にある。持続可能な社会構築のためには、プラスチックなどの化石資源循環利用、および地球温暖化ガス排出量低減に関する技術が重要である。
【0003】
プラスチックは、用途に応じて、様々な形状に加工して使用される。また、プラスチックを単独で使用する場合もあれば、異素材と複合させて使用する場合もある。後者の例としては、様々な特性を発揮させるために異種の繊維と紡績した混紡素材、コーティング、フィルム積層、二色成形などによって異種ポリマー層を形成させた積層品、異種ポリマーを配合したポリマーアロイの樹脂成形品、繊維状充填材を配合した繊維強化複合材料などが挙げられる。これらの異素材と混合した複合材料をリサイクルするためには、異素材を除去することが必要である。
【0004】
プラスチックの再資源化技術として、例えば、廃ポリエチレンテレフタレート(PET)を溶融状態で高温高圧水と接触させ連続的に分解し、原料モノマーを回収する装置および方法が開示されている(特許文献1)。
【0005】
プラスチックの複合材料の再資源化技術としては、例えば、無機物を含有するプラスチック成形品を、バッチ式の反応槽内で、亜臨界流体で処理し、取出し部において無機物を破砕し、無機物とモノマーを分離する装置および方法が開示されている(特許文献2)。さらに、加水分解性ポリマーを含有する樹脂と非加水分解性ポリマーを含有する樹脂とを含む樹脂混合体から、加水分解性ポリマーをその原料化合物として、また非加水分解性ポリマーを加水分解性ポリマーの混入を抑制した高純度のポリマーとして、連続的に分離回収する、分離回収装置が開示されている(特許文献3)。
【0006】
また、積層品から異種ポリマーを剥離させ、ポリアミドまたはポリエステルを分離して再資源化する技術(特許文献4)として、シリコーンがコーティングされたポリアミド繊維からなるエアバッグ基布について、アルカリ-イソプロパノール液に浸漬させることにより、エアバッグ基布にコーティングされたシリコーンを除去し、ポリアミド66を回収する方法が開示されている。また、エチレングリコールと共に180℃以上の温度で加熱することにより、ポリアミドを溶解させ、エチレングリコールに不溶のシリコーンを除去する方法が開示されている(特許文献5)。
【0007】
また、ポリアミドまたはポリエステルを解重合し、その他の素材と分離した後に原料モノマーを回収する方法(特許文献6)として、ガラス繊維強化ポリアミド66組成物を塩化カルシウムの存在下、180℃のエチレングリコール中で30分反応後、分離・精製することで、ポリアミド66を100質量%としたとき、ヘキサメチレンジアミンとアジピン酸、およびそれぞれの誘導体類の合計として86質量%を得る方法が開示されている。さらに、ポリアミドまたはポリエステルの層と、ポリエチレン層からなる多層フィルムを250~380℃の高温で水熱反応処理し、ポリアミドまたはポリエステルは原料モノマーとして、ポリエチレンはそのまま、それぞれ再資源化する方法が開示されている(特許文献7)。
【先行技術文献】
【特許文献】
【0008】
特開平9-77905号公報
特開2009-7417号公報
特開2023-1084号公報
特開2009-269475号公報
特開2018-172618号公報
国際公開第2023/120427号
特開2023-1085号公報
【発明の概要】
【発明が解決しようとする課題】
【0009】
特許文献1に開示されたPETからの原料モノマーの回収装置及び回収方法は、連続的な処理が可能であるが、無機物等が含まれる複合材料で処理した場合は、絞り弁での閉塞が懸念される。そのため、リサイクルに供される原資が限定されるという問題がある。
【0010】
特許文献2に開示されたプラスチックからの無機物の回収装置および回収方法は、プラスチック中の無機物を回収対象としており、バッチ式の反応容器でプラスチックを処理させた後に冷却し固形の無機物を分離するため、冷却時に析出した分解不十分なプラスチックまで無機物と一緒に回収される問題がある。特許文献3に開示された分離回収装置は、非加水分解性ポリマーが溶解している状態を想定しているため、非加水分解性ポリマーが固形である場合は、安定的に運転することができない。
(【0011】以降は省略されています)
この特許をJ-PlatPat(特許庁公式サイト)で参照する
関連特許
東レ株式会社
電池
29日前
東レ株式会社
化粧料
1か月前
東レ株式会社
防護服
2か月前
東レ株式会社
積層フィルム
2か月前
東レ株式会社
黒色樹脂組成物
2か月前
東レ株式会社
無配向フィルム
1か月前
東レ株式会社
加飾用フィルム
2か月前
東レ株式会社
光透過性表皮材
2か月前
東レ株式会社
血液浄化用カラム
今日
東レ株式会社
貼合体の製造方法
1か月前
東レ株式会社
飛翔体用ブレード
1か月前
東レ株式会社
不織布の製造装置
2か月前
東レ株式会社
赤外線遮蔽構成体
1か月前
東レ株式会社
テーパ付き円筒部材
2か月前
東レ株式会社
太陽電池モジュール
2か月前
東レ株式会社
中空糸膜モジュール
2か月前
東レ株式会社
車両用衝撃吸収部材
1か月前
東レ株式会社
フィルムの製造装置
1か月前
東レ株式会社
遮熱性アクリル繊維
2か月前
東レ株式会社
遠心ポッティング方法
1か月前
東レ株式会社
複合成形体の製造方法
1か月前
東レ株式会社
多層構造体及び防弾板
1日前
東レ株式会社
ポリエステルフィルム
1か月前
東レ株式会社
ポリプロピレンフィルム
2か月前
東レ株式会社
糸送り装置および糸送り方法
2か月前
東レ株式会社
着色樹脂組成物および着色膜
2か月前
東レ株式会社
シート、硬化物、硬化接着物
6日前
東レ株式会社
二軸配向ポリオレフィンフィルム
1か月前
東レ株式会社
異物検査装置および異物検査方法
6日前
東レ株式会社
ポリオレフィン系樹脂発泡シート
1か月前
東レ株式会社
ポリアミド樹脂組成物および成形品
1か月前
東レ株式会社
電子部品の製造方法および樹脂組成物
1か月前
東レ株式会社
顆粒状ポリエステルアミドの製造方法
1か月前
東レ株式会社
フィルムの製造装置、及び、吸引装置
1か月前
TMTマシナリー株式会社
糸巻取装置
2か月前
TMTマシナリー株式会社
糸巻取装置
2か月前
続きを見る
他の特許を見る