TOP
|
特許
|
意匠
|
商標
特許ウォッチ
Twitter
他の特許を見る
公開番号
2025178628
公報種別
公開特許公報(A)
公開日
2025-12-09
出願番号
2024085347
出願日
2024-05-27
発明の名称
加熱炉
出願人
日本碍子株式会社
,
エヌジーケイ・キルンテック株式会社
代理人
弁理士法人 快友国際特許事務所
主分類
F27B
9/02 20060101AFI20251202BHJP(炉,キルン,窯;レトルト)
要約
【課題】温度維持空間での被処理物の加熱量のバラツキを抑制することができる技術を開示する。
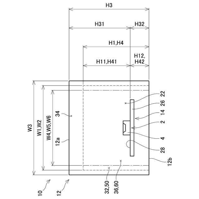
【解決手段】加熱炉は、被処理物を加熱する。加熱炉は、搬入口と、搬出口と、前記搬入口から前記搬出口まで搬送方向に延びている炉内空間とを有する炉体と、前記被処理物が搬送面に載置可能であり、前記被処理物を前記搬送方向に搬送する搬送装置と、を備えている。前記炉内空間は、前記搬入口に連通しており、前記被処理物を予熱する予熱空間と、前記予熱空間に連通しており、前記被処理物を加熱する温度維持空間であって、前記温度維持空間の温度が一定に維持されている、前記温度維持空間と、前記温度維持空間と前記搬出口に連通しており、前記被処理物を冷却する冷却空間と、を備えている。前記炉体を前記搬送方向に直交する面に沿って切断したとき、前記温度維持空間の断面積は、前記予熱空間の断面積よりも大きい。
【選択図】図3
特許請求の範囲
【請求項1】
被処理物を加熱する加熱炉であって、
搬入口と、搬出口と、前記搬入口から前記搬出口まで搬送方向に延びている炉内空間と、を有する炉体と、
前記被処理物が搬送面に載置可能であり、前記被処理物を前記搬送方向に搬送する搬送装置と、を備えており、
前記炉内空間は、
前記搬入口に連通しており、前記被処理物を予熱する予熱空間と、
前記予熱空間に連通しており、前記被処理物を加熱する温度維持空間であって、前記温度維持空間の温度が一定に維持されている、前記温度維持空間と、
前記温度維持空間と前記搬出口に連通しており、前記被処理物を冷却する冷却空間と、を備えており、
前記炉体を前記搬送方向に直交する面に沿って切断したとき、前記温度維持空間の断面積は、前記予熱空間の断面積よりも大きい、加熱炉。
続きを表示(約 1,000 文字)
【請求項2】
前記炉体を前記搬送方向に直交する面に沿って切断したとき、前記温度維持空間の前記断面積は、前記冷却空間の断面積よりも大きい、請求項1に記載の加熱炉。
【請求項3】
前記炉体を前記搬送方向に直交する面に沿って切断したとき、前記冷却空間の前記断面積は、前記予熱空間の前記断面積よりも小さい、請求項2に記載の加熱炉。
【請求項4】
前記炉体を前記搬送方向に直交する面に沿って切断したとき、前記温度維持空間の高さは、前記冷却空間の高さの1.1倍以上である、請求項2に記載の加熱炉。
【請求項5】
前記冷却空間の前記高さは、前記搬出口に向かって段階的に低くなる、請求項4に記載の加熱炉。
【請求項6】
前記冷却空間は、
前記高さが第1高さである第1冷却空間と、
前記第1冷却空間に連通しており、前記第1冷却空間に対して前記搬送方向に配置されているとともに、前記高さが第2高さである第2冷却空間と、を備えており、
前記第2高さは、前記第1高さの0.9倍以下であり、
前記搬送方向における前記第1冷却空間の長さと、前記搬送方向における前記第2冷却空間の長さのそれぞれは、前記搬送方向における前記被処理物の長さ以上である、請求項5に記載の加熱炉。
【請求項7】
前記炉体を前記搬送方向に直交する面に沿って切断したとき、前記温度維持空間の炉内幅は、前記冷却空間の炉内幅よりも大きい、請求項4に記載の加熱炉。
【請求項8】
前記予熱空間は、第1予熱空間を備えており、
前記炉体を前記搬送方向に直交する面に沿って切断したとき、前記温度維持空間の高さは、前記第1予熱空間の高さの1.1倍以上である、請求項1に記載の加熱炉。
【請求項9】
前記予熱空間は、前記第1予熱空間と前記温度維持空間に連通している第2予熱空間をさらに備えており、
前記第2予熱空間の高さは、前記温度維持空間に向かって徐々に高くなり、
前記搬送方向における前記第2予熱空間の長さは、前記搬送方向における前記被処理物の長さ以上である、請求項8に記載の加熱炉。
【請求項10】
前記炉体を前記搬送方向に直交する面に沿って切断したとき、前記温度維持空間の炉内幅は、前記予熱空間の炉内幅よりも大きい、請求項8に記載の加熱炉。
(【請求項11】以降は省略されています)
発明の詳細な説明
【技術分野】
【0001】
本明細書に開示する技術は、加熱炉に関する。
続きを表示(約 1,500 文字)
【背景技術】
【0002】
特許文献1には、加熱炉が開示されている。加熱炉の炉体は、搬入口と、搬出口と、搬入口から搬出口まで搬送方向に延びる炉内空間を有している。炉内空間は、搬入口に連通している予熱空間と、予熱空間に連通している温度維持空間と、温度維持空間と搬出口に連通している冷却空間と、を備えている。炉体を搬送方向に直交する面に沿って切断したとき、温度維持空間の断面積は、予熱空間の断面積よりも小さい。
【先行技術文献】
【特許文献】
【0003】
特表2023-507663号公報
【発明の概要】
【発明が解決しようとする課題】
【0004】
上記の加熱炉では、温度維持空間内の雰囲気ガスの容積が小さいため、外乱による温度維持空間内の雰囲気の変動が大きくなり、温度維持空間の温度にバラツキが発生し易い。これにより、温度維持空間で、被処理物の加熱量にバラツキが発生する。
【0005】
本明細書は、温度維持空間での被処理物の加熱量のバラツキを抑制することができる技術を開示する。
【課題を解決するための手段】
【0006】
本明細書に開示する技術の第1の態様では、加熱炉は、被処理物を加熱する。加熱炉は、搬入口と、搬出口と、前記搬入口から前記搬出口まで搬送方向に延びている炉内空間とを有する炉体と、前記被処理物が搬送面に載置可能であり、前記被処理物を前記搬送方向に搬送する搬送装置と、を備えている。前記炉内空間は、前記搬入口に連通しており、前記被処理物を予熱する予熱空間と、前記予熱空間に連通しており、前記被処理物を加熱する温度維持空間であって、前記温度維持空間の温度が一定に維持されている、前記温度維持空間と、前記温度維持空間と前記搬出口に連通しており、前記被処理物を冷却する冷却空間と、を備えている。前記炉体を前記搬送方向に直交する面に沿って切断したとき、前記温度維持空間の断面積は、前記予熱空間の断面積よりも大きい。
【0007】
上記の構成によれば、炉体を搬送方向に直交する面に沿って切断したとき、温度維持空間の断面積が予熱空間の断面積よりも小さい構成と比較して、外乱による温度維持空間内の雰囲気の変動が小さく、温度維持空間の温度にバラツキが発生し難い。これにより、温度維持空間で、被処理物の加熱量にバラツキが発生することを抑制することができる。
【図面の簡単な説明】
【0008】
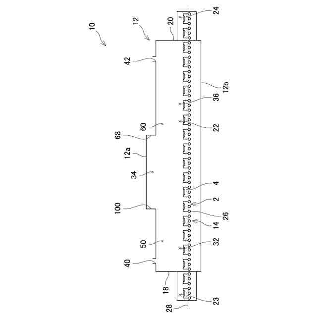
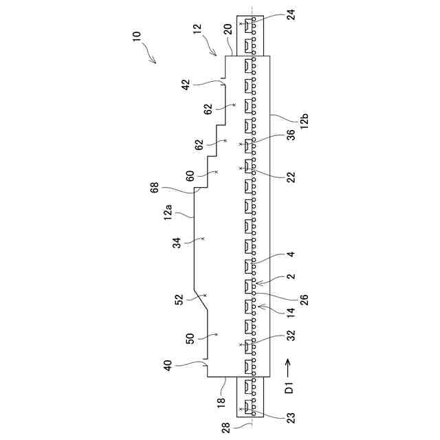
第1実施例の加熱炉の概略図である。
第1実施例の加熱炉の予熱空間とその近傍の概略図である。
第1実施例の加熱炉を搬送方向に直交する面で切断したときの概略図である。
第1実施例の加熱炉の冷却空間とその近傍の概略図である。
第2実施例の加熱炉の概略図である。
【発明を実施するための形態】
【0009】
以下に説明する実施例の主要な特徴を列記しておく。なお、以下に記載する技術要素は、それぞれ独立した技術要素であって、単独であるいは各種の組合せによって技術的有用性を発揮するものであり、出願時請求項記載の組合せに限定されるものではない。
【0010】
本明細書に開示する技術の第2の態様では、上記の第1の態様において、前記炉体を前記搬送方向に直交する面に沿って切断したとき、前記温度維持空間の前記断面積は、前記冷却空間の断面積よりも大きい。上記の構成によれば、温度維持空間内の雰囲気ガスが冷却空間に流れることを抑制することができる。これにより、冷却空間の温度を調整し易くすることができる。
(【0011】以降は省略されています)
この特許をJ-PlatPat(特許庁公式サイト)で参照する
関連特許
日本碍子株式会社
電池
3か月前
日本碍子株式会社
蒸発器
11日前
日本碍子株式会社
加熱炉
今日
日本碍子株式会社
熱交換器
2か月前
日本碍子株式会社
熱交換器
2か月前
日本碍子株式会社
把持方法
2か月前
日本碍子株式会社
ガスセンサ
3か月前
日本碍子株式会社
ウエハ載置台
1か月前
日本碍子株式会社
空調システム
1か月前
日本碍子株式会社
匣鉢把持装置
5日前
日本碍子株式会社
電気化学セル
1か月前
日本碍子株式会社
亜鉛二次電池
2か月前
日本碍子株式会社
搬送ユニット
5日前
日本碍子株式会社
回収システム
11日前
日本碍子株式会社
ハニカム構造体
2か月前
日本碍子株式会社
電気加熱式担体
2か月前
日本碍子株式会社
ハニカム構造体
2か月前
日本碍子株式会社
ハニカム構造体
2か月前
日本碍子株式会社
ハニカム構造体
2か月前
日本碍子株式会社
電気加熱式担体
2か月前
日本碍子株式会社
ハニカム構造体
2か月前
日本碍子株式会社
ハニカム構造体
3か月前
日本碍子株式会社
ハニカム構造体
2か月前
日本碍子株式会社
アルカリ二次電池
2か月前
日本碍子株式会社
ハニカムフィルタ
2か月前
日本碍子株式会社
メタン製造反応器
2か月前
日本碍子株式会社
セラミックヒータ
12日前
日本碍子株式会社
導波素子の製造方法
2か月前
日本碍子株式会社
車両用調湿システム
11日前
日本碍子株式会社
車両用空調システム
11日前
日本碍子株式会社
三相型ハニカムヒータ
2か月前
日本碍子株式会社
ウォーキングビーム炉
2か月前
日本碍子株式会社
半導体製造装置用部材
3か月前
日本碍子株式会社
セラミックサセプター
1か月前
日本碍子株式会社
半導体製造装置用ヒータ
1か月前
日本碍子株式会社
浄水膜構造体の製造方法
1か月前
続きを見る
他の特許を見る