TOP
|
特許
|
意匠
|
商標
特許ウォッチ
Twitter
他の特許を見る
公開番号
2025178440
公報種別
公開特許公報(A)
公開日
2025-12-05
出願番号
2025165339,2021209849
出願日
2025-10-01,2021-12-23
発明の名称
感覚伝達システム及び感覚伝達方法
出願人
株式会社JVCケンウッド
代理人
主分類
G06F
3/01 20060101AFI20251128BHJP(計算;計数)
要約
【課題】被験者の個人情報を適切に保護することが可能な感覚伝達システム及び感覚伝達
方法を提供する。
【解決手段】感覚伝達システムは、第1被験者が知覚した場合における第1被験者の脳内
活性化情報を検出する第1装置と、検出された第1被験者の脳内活性化情報に基づいて、
第1被験者とは異なる第2被験者が知覚に対して想起する想起感覚情報を推定し、第1被
験者の脳内活性化情報を用いて想起感覚情報を暗号化する推定装置と、暗号化された想起
感覚情報を復号し、復号した想起感覚情報を想起するように第2被験者に刺激を与える第
2装置とを備える。
【選択図】図2
特許請求の範囲
【請求項1】
第1被験者が知覚した場合における前記第1被験者の脳内活性化情報に基づいて、前記第1被験者とは異なる第2被験者が前記知覚に対して想起する想起感覚情報を推定し、前記第1被験者の脳内活性化情報を用いて前記想起感覚情報を暗号化する
推定装置。
続きを表示(約 270 文字)
【請求項2】
前記暗号化を行う場合、前記第1被験者の一次視覚野から検出される前記脳内活性化情報を用いる
請求項1に記載の推定装置。
【請求項3】
前記暗号化を行う場合、モノトーンであり所定の方向性を持つ縞模様の画像を前記第1被験者が見た場合において前記第1被験者の前記一次視覚野から検出される前記脳内活性化情報を用いる
請求項2に記載の推定装置。
【請求項4】
前記脳内活性化情報を用いて生成した暗号鍵により前記暗号化を行う
請求項1から請求項3のいずれか一項に記載の推定装置。
発明の詳細な説明
【技術分野】
【0001】
本発明は、感覚伝達システム及び感覚伝達方法に関する。
続きを表示(約 1,600 文字)
【背景技術】
【0002】
近年、機能的磁気共鳴法、近赤外分光法等のように脳内活性化情報を無侵襲に計測する
技術が発達し、脳と外部のインターフェースであるブレインマシンインターフェースの技
術が現実的となりつつある。このような技術を用いた例として、被験者が知覚した場合に
おける脳活性化情報を検出し、検出した脳活性化情報に基づいて、被験者の知覚に対して
想起される想起感覚情報をメッセージ化する技術が開示されている(例えば、特許文献1
参照)。
【先行技術文献】
【特許文献】
【0003】
特開2014-115913号公報
【発明の概要】
【発明が解決しようとする課題】
【0004】
特許文献1に記載の技術において、被験者の想起感覚情報はいわゆる個人情報に相当す
る。個人情報保護の観点から、被験者の想起感覚情報について適切に取り扱うことが求め
られる。
【0005】
本発明は、上記に鑑みてなされたものであり、被験者の個人情報を適切に保護すること
が可能な感覚伝達システム及び感覚伝達方法を提供することを目的とする。
【課題を解決するための手段】
【0006】
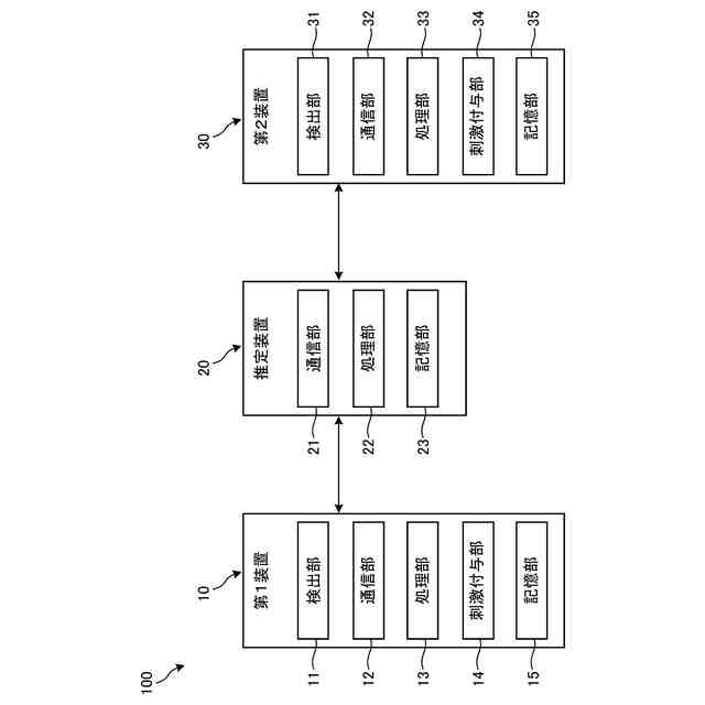
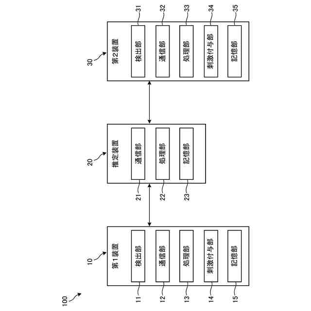
本発明に係る感覚伝達システムは、第1被験者が知覚した場合における前記第1被験者
の脳内活性化情報を検出する第1装置と、検出された前記第1被験者の脳内活性化情報に
基づいて、前記第1被験者とは異なる第2被験者が前記知覚に対して想起する想起感覚情
報を推定し、前記第1被験者の脳内活性化情報を用いて前記想起感覚情報を暗号化する推
定装置と、暗号化された前記想起感覚情報を復号し、復号した前記想起感覚情報を想起す
るように前記第2被験者に刺激を与える第2装置とを備える。
【0007】
本発明に係る感覚伝達方法は、第1被験者が知覚した場合における前記第1被験者の脳
内活性化情報を検出することと、検出された前記第1被験者の脳内活性化情報に基づいて
、前記第1被験者とは異なる第2被験者が前記知覚に対して想起する想起感覚情報を推定
し、前記第1被験者の脳内活性化情報を用いて前記想起感覚情報を暗号化することと、暗
号化された前記想起感覚情報を復号し、復号した前記想起感覚情報を想起するように前記
第2被験者に刺激を与えることとを含む。
【発明の効果】
【0008】
本発明によれば、被験者の個人情報を適切に保護することが可能な感覚伝達システム及
び感覚伝達方法を提供することができる。
【図面の簡単な説明】
【0009】
図1は、第1実施形態に係る感覚伝達システムの一例を示す模式図である。
図2は、第1実施形態に係る感覚伝達システムの一例を示す機能ブロック図である。
図3は、ニューラルネットワークの一例を示す図である。
図4は、第1実施形態に係る感覚伝達システムの動作の一例を模式的に示す図である。
図5は、第1実施形態に係る感覚伝達システムの動作の一例を示すフローチャートである。
図6は、第2実施形態に係る感覚伝達システムの動作の他の例を模式的に示す図である。
図7は、第3実施形態に係る感覚伝達システムの動作の他の例を模式的に示す図である。
【発明を実施するための形態】
【0010】
以下、本発明の実施形態を図面に基づいて説明する。なお、この実施形態によりこの発
明が限定されるものではない。また、下記実施形態における構成要素には、当業者が置換
可能かつ容易なもの、あるいは実質的に同一のものが含まれる。
(【0011】以降は省略されています)
この特許をJ-PlatPat(特許庁公式サイト)で参照する
関連特許
株式会社JVCケンウッド
耳装着具
2日前
株式会社JVCケンウッド
感覚伝達システム及び感覚伝達方法
今日
個人
詐欺保険
1か月前
個人
縁伊達ポイン
1か月前
個人
職業自動販売機
21日前
個人
RFタグシート
1か月前
個人
5掛けポイント
28日前
個人
QRコードの彩色
1か月前
個人
地球保全システム
2か月前
個人
ペルソナ認証方式
1か月前
個人
自動調理装置
1か月前
個人
情報処理装置
1か月前
個人
立体グラフの利用方法
今日
個人
農作物用途分配システム
1か月前
個人
残土処理システム
1か月前
個人
表変換編集支援システム
2か月前
個人
知的財産出願支援システム
1か月前
個人
サービス情報提供システム
23日前
個人
インターネットの利用構造
1か月前
個人
タッチパネル操作指代替具
1か月前
NISSHA株式会社
入力装置
1日前
個人
スケジュール調整プログラム
1か月前
個人
携帯端末障害問合せシステム
1か月前
個人
行動時間管理システム
2か月前
個人
学習用データ生成装置
2日前
個人
パスワード管理支援システム
2か月前
個人
エリアガイドナビAIシステム
1か月前
個人
海外支援型農作物活用システム
2か月前
株式会社キーエンス
受発注システム
2か月前
個人
食品レシピ生成システム
2か月前
個人
システム及びプログラム
2か月前
株式会社キーエンス
受発注システム
2か月前
株式会社キーエンス
受発注システム
2か月前
個人
AIキャラクター制御システム
2か月前
個人
未来型家系図構築システム
2か月前
トヨタ自動車株式会社
通知装置
1か月前
続きを見る
他の特許を見る