TOP
|
特許
|
意匠
|
商標
特許ウォッチ
Twitter
他の特許を見る
10個以上の画像は省略されています。
公開番号
2025176164
公報種別
公開特許公報(A)
公開日
2025-12-03
出願番号
2025154042,2021177874
出願日
2025-09-17,2021-10-29
発明の名称
耳装着具
出願人
株式会社JVCケンウッド
代理人
主分類
H04R
1/10 20060101AFI20251126BHJP(電気通信技術)
要約
【課題】耳甲介腔に収められる本体部の装着感が向上する耳装着具を提供する。
【解決手段】耳装着具91は、突出部22と突出部22から延出した筒状部23とを有し、使用状態で耳甲介腔に装着される本体部911と、筒状部23に装着され使用状態で外耳道に挿入される挿入部912と、を備える。本体部911は、突出部22が形成された内ハウジング2と、内ハウジング2を覆うカバー3と、を有し、カバー3は、柔軟性を有する材料で形成され、内ハウジング2側に封止固定される第1端部31bと、第1端部31bとは反対側に弁構造を備えて筒状部23が挿通される開口部を有する第2端部32と、カバー3が突出部22に接触し始める位置を示す密着境界線と、を有する。
【選択図】図4
特許請求の範囲
【請求項1】
突出部と前記突出部から延出した筒状部とを有し、使用状態で耳甲介腔に装着される本体部と、
前記筒状部に装着され前記使用状態で外耳道に挿入される挿入部と、
を備え、
前記本体部は、前記突出部が形成された内ハウジングと、前記内ハウジングを覆うカバーと、を有し、
前記カバーは、柔軟性を有する材料で形成され、前記内ハウジング側に封止固定される第1端部と、前記第1端部とは反対側に弁構造を備えて前記筒状部が挿通される開口部を有する第2端部と、前記カバーが前記突出部に接触し始める位置を示す密着境界線とを有する耳装着具。
続きを表示(約 240 文字)
【請求項2】
前記密着境界線は、前記第1端部と前記第2端部との間に位置して、前記密着境界線の第2端部側は内面が前記内ハウジングの外面に密着し、第1端部側は内面が前記内ハウジングと離隔して前記内ハウジングとの間に気室を形成する、請求項1に記載の耳装着具。
【請求項3】
前記開口部は、周縁部分に、屈曲変形可能なリング状のフラップを有し、自然状態で前記筒状部の外壁に密着して、通気路となる空間と外空間とを分離するフラップ部を有する、請求項1または2に記載の耳装着具。
発明の詳細な説明
【技術分野】
【0001】
本発明は、耳装着具に関する。
続きを表示(約 1,900 文字)
【背景技術】
【0002】
特許文献1に、耳栓、イヤホン、補聴器などの耳装着具において、外耳道内に挿入する
挿入部を、防音部材とそれを覆う弾性部材とで構成し、弾性部材を、その内側に空気を流
入させて膨らませ外耳道の内壁と密着させることで装用感を向上させる技術が記載されて
いる。
【先行技術文献】
【特許文献】
【0003】
特開2014-057164号公報
【発明の概要】
【発明が解決しようとする課題】
【0004】
耳装着具は、一般に、外耳道内に挿入される挿入部と、耳介の耳甲介腔に収められる本
体部とを有する。
特許文献1に記載された耳装着具は、外耳道に挿入される挿入部の装用感を向上させる
ものであって、耳甲介腔に収められる本体部の装着感を向上させるものではない。そのた
め、本体部の装着感を向上させる技術、特に本体部を頭部に押し付けたときの感触を向上
させる技術が望まれている。
【0005】
そこで、本発明が解決しようとする課題は、耳甲介腔に収められる本体部の装着感が向
上する耳装着具を提供することにある。
【課題を解決するための手段】
【0006】
上記の課題を解決するために、本発明は次の構成を有する。
1 )突出部と前記突出部から延出した筒状部とを有し、使用状態で耳甲介腔に装着される本体部と、
前記筒状部に装着され前記使用状態で外耳道に挿入される挿入部と、
を備え、
前記本体部は、前記突出部が形成された内ハウジングと、前記内ハウジングを覆うカバーと、を有し、
前記カバーは、柔軟性を有する材料で形成され、前記内ハウジング側に封止固定される第1端部と、前記第1端部とは反対側に弁構造を備えて前記筒状部が挿通される開口部を有する第2端部と、前記カバーが前記突出部に接触し始める位置を示す密着境界線とを有する耳装着具である。
【発明の効果】
【0007】
本発明の一態様によれば、耳甲介腔に収められる本体部の装着感が向上する、という効
果が得られる。
【図面の簡単な説明】
【0008】
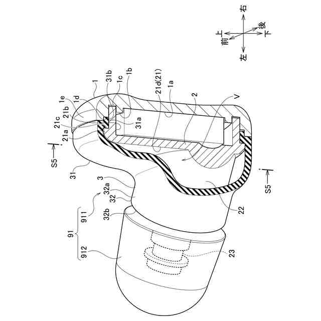
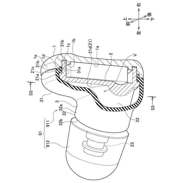
図1は、本発明の実施の形態に係る耳装着具の実施例1の耳栓91を右の耳介Eに装着した状態を示す図である。
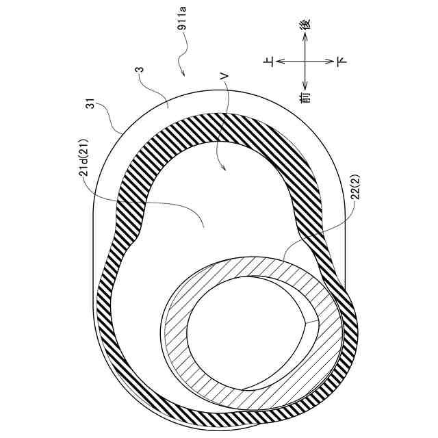
図2は、耳栓91の斜視図である。
図3は、耳栓91の本体部911の組み立て図である。
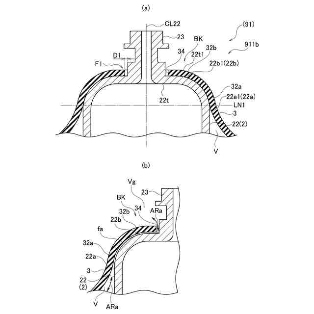
図4は、図2におけるS4-S4位置で切断した、本体部911の一部断面図である。
図5は、図4におけるS5-S5位置での断面図である。
図6は、実施例1の耳栓91の断面図であり、図2におけるS6-S6位置での断面図である。図6(a)は、耳栓91の耳介Eにおける通常装着状態での縦断面図、図6(b)は、耳栓91を耳介Eへ装着する一過程での縦断面図である。
図7は、実施例2の耳栓91Bの断面図であり、図7(a)は、耳栓91Bの耳介Eにおける通常装着状態での縦断面図、図7(b)は、図7(a)における部分拡大図、図7(c)は、耳栓91Bを耳介Eへ装着する一過程での縦断面図である。
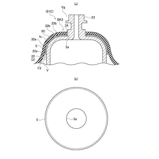
図8は、実施例3の耳栓91Cの断面図であり、図8(a)は、耳栓91Cの耳介Eにおける通常装着状態での縦断面図、図8(b)は、弁構造BK3で用いるフィルタ部材5の平面図である。
図9は、実施例4の耳栓91Dの弁構造BK4が有する内ハウジング2Dを示す部分斜視図である。
図10は、実施例4の耳栓91Dの断面図である。
図11は、実施例5の耳栓91Eの部分斜視図である。
図12は、実施例5の耳栓91Eの断面図である。
【発明を実施するための形態】
【0009】
本発明の実施の形態に係る耳装着具を、実施例1~5の耳栓91,91B,91C,9
1D,91Eにより説明する。
【0010】
(実施例1)
実施例1の耳栓91の概要を、図1及び図2を参照して説明する。
以下に説明する耳栓91は、右耳用であり、左耳用は前後対称形状となる。説明の便宜
のため、前後上下左右の各方向を図1及び図2に示された矢印の方向に規定する。
上下方向は、耳栓91の装着者の起立姿勢での天地方向であり、前後方向は頭部の前後
方向に対応する。左右方向は、頭部の左右方向に対応する。
(【0011】以降は省略されています)
この特許をJ-PlatPat(特許庁公式サイト)で参照する
関連特許
株式会社JVCケンウッド
耳装着具
2日前
株式会社JVCケンウッド
感覚伝達システム及び感覚伝達方法
今日
株式会社JVCケンウッド
遠隔被制御装置、及び画像表示装置
7日前
株式会社JVCケンウッド
監視支援システム、方法及びプログラム
7日前
株式会社JVCケンウッド
監視支援システム、方法及びプログラム
7日前
株式会社JVCケンウッド
情報処理装置、情報処理方法及びプログラム
15日前
個人
イヤーピース
28日前
個人
イヤーマフ
1か月前
個人
監視カメラシステム
1か月前
キーコム株式会社
光伝送線路
1か月前
個人
スイッチシステム
1か月前
サクサ株式会社
中継装置
1か月前
個人
スキャン式車載用撮像装置
1か月前
WHISMR合同会社
収音装置
2か月前
サクサ株式会社
中継装置
1か月前
キヤノン株式会社
撮像装置
3か月前
キヤノン株式会社
撮像装置
今日
キヤノン株式会社
撮像装置
今日
キヤノン株式会社
撮像装置
今日
キヤノン株式会社
撮像装置
7日前
アイホン株式会社
電気機器
2か月前
ヤマハ株式会社
放音制御装置
1か月前
サクサ株式会社
無線システム
1か月前
キヤノン電子株式会社
画像読取装置
1か月前
個人
映像表示装置、及びARグラス
1か月前
個人
ワイヤレスイヤホン対応耳掛け
2か月前
株式会社リコー
画像形成装置
3か月前
株式会社リコー
画像形成装置
3か月前
サクサ株式会社
無線通信装置
1か月前
サクサ株式会社
無線通信装置
1か月前
キヤノン電子株式会社
画像読取装置
28日前
キヤノン電子株式会社
画像読取装置
1か月前
株式会社リコー
画像形成装置
1か月前
キヤノン電子株式会社
画像読取装置
2か月前
キヤノン株式会社
撮像システム
2か月前
キヤノン株式会社
画像処理装置
1か月前
続きを見る
他の特許を見る