TOP
|
特許
|
意匠
|
商標
特許ウォッチ
Twitter
他の特許を見る
公開番号
2025178406
公報種別
公開特許公報(A)
公開日
2025-12-05
出願番号
2025163618,2021065565
出願日
2025-09-30,2021-04-08
発明の名称
映像出力装置、映像表示装置、映像表示システムとそのためのペアリング方法
出願人
パナソニックプロジェクター&ディスプレイ株式会社
代理人
個人
,
個人
主分類
H04N
21/4363 20110101AFI20251128BHJP(電気通信技術)
要約
【課題】親機である映像出力装置と、子機である映像表示装置とを、ネットワーク上で自動的に紐づけることができる。
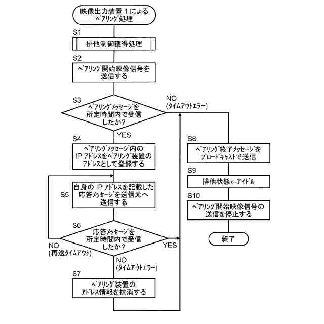
【解決手段】ネットワークを介して互いに接続された複数の映像出力装置及び複数の映像表示装置を備える映像表示システムにおいて、前記複数の映像出力装置の一つである所定の映像出力装置と、前記複数の映像表示装置の一つである所定の映像表示装置とが接続されたときに、前記所定の映像出力装置が、前記所定の映像表示装置に対してペアリング開始用映像信号を送信する。次いで、前記所定の映像表示装置が、前記所定の映像出力装置から送信される前記ペアリング開始用映像信号を受信する。ここで、前記ペアリング開始用映像信号は、所定のパターン映像信号、又は映像信号の特定位置にペアリング開始を示す信号を含む映像信号である。
【選択図】図6
特許請求の範囲
【請求項1】
ネットワークを介して互いに接続された複数の映像出力装置及び複数の映像表示装置を備える映像表示システムのための前記複数の映像出力装置の一つである映像出力装置であって、
前記映像出力装置と前記複数の映像表示装置の一つである所定の映像表示装置との間でネットワークアドレスの取得及び登録を自動的に行うことで、前記映像出力装置と前記所定の映像表示装置とが接続されたときに、前記所定の映像表示装置に対してペアリング開始用映像信号を送信する制御部を備え、
前記制御部は、前記ペアリング開始用映像信号の送信を停止し、前記映像出力装置以外の映像出力装置のペアリング処理を不能とする、
映像出力装置。
続きを表示(約 1,700 文字)
【請求項2】
前記ペアリング開始用映像信号は、所定のパターン映像信号、又は映像信号の特定位置にペアリング開始を示す信号を含む映像信号である、
請求項1に記載の映像出力装置。
【請求項3】
前記制御部は、前記映像出力装置と、前記所定の映像表示装置が接続されたときに、ペアリング開始メッセージを前記ネットワークにブロードキャストで送信する、
請求項1又は2に記載の映像出力装置。
【請求項4】
前記制御部は、
前記ペアリング開始メッセージを前記ネットワークにブロードキャストで送信した後、前記所定の映像表示装置から、前記所定の映像表示装置のネットワークアドレスを含むペアリングメッセージを受信し、
前記所定の映像表示装置の前記ネットワークアドレスを取得して登録して、前記所定の映像表示装置に対して、前記映像出力装置のネットワークアドレスを含む第1の応答メッセージを送信する、
請求項3に記載の映像出力装置。
【請求項5】
前記制御部は、
前記所定の映像表示装置に対して前記第1の応答メッセージを送信した後、前記所定の映像表示装置から、第2の応答メッセージを受信し、
前記ネットワークに対してペアリング終了メッセージをブロードキャストで送信する、
請求項4に記載の映像出力装置。
【請求項6】
ネットワークを介して互いに接続された複数の映像出力装置及び複数の映像表示装置を備える映像表示システムのための前記複数の映像表示装置の一つである映像表示装置であって、
前記各映像出力装置は、請求項1~5のうちのいずれか1つに記載の映像出力装置であり、
前記複数の映像出力装置の一つである所定の映像出力装置と前記映像表示装置とが接続されたときに、前記所定の映像出力装置から送信されるペアリング開始用映像信号を受信する制御部を備える、
映像表示装置。
【請求項7】
前記制御部は、前記所定の映像出力装置から送信される前記ペアリング開始用映像信号を受信した後、前記ネットワークに対して、前記映像表示装置のネットワークアドレスを含むペアリングメッセージをブロードキャストで送信する、
請求項6に記載の映像表示装置。
【請求項8】
前記制御部は、
前記ペアリングメッセージを前記ブロードキャストで送信した後、前記所定の映像出力装置から、前記所定の映像出力装置のネットワークアドレスを含む第1の応答メッセージを受信し、
前記所定の映像出力装置の前記ネットワークアドレスを取得して登録して、前記所定の映像出力装置に対して、第2の応答メッセージを送信する、
請求項7に記載の映像表示装置。
【請求項9】
請求項1~5のうちのいずれか1つに記載の映像出力装置と、
請求項6~8のうちのいずれか1つに記載の映像表示装置と、
を備える映像表示システム。
【請求項10】
ネットワークを介して互いに接続された複数の映像出力装置及び複数の映像表示装置を備える映像表示システムのためのペアリング方法であって、
前記複数の映像出力装置の一つである所定の映像出力装置と、前記複数の映像表示装置の一つである所定の映像表示装置との間でネットワークアドレスの取得及び登録を自動的に行うことで、前記所定の映像出力装置と前記所定の映像表示装置とが接続されたときに、前記所定の映像出力装置が、前記所定の映像表示装置に対してペアリング開始用映像信号を送信するステップと、
前記所定の映像表示装置が、前記所定の映像出力装置から送信される前記ペアリング開始用映像信号を受信するステップと、
前記ペアリング開始用映像信号の送信を停止し、前記映像出力装置以外の映像出力装置のペアリング処理を不能とするステップと、
を含む、映像表示システムのためのペアリング方法。
(【請求項11】以降は省略されています)
発明の詳細な説明
【技術分野】
【0001】
本開示は、映像出力装置、映像表示装置、映像表示システムとそのためのペアリング方法に関する。
続きを表示(約 1,600 文字)
【背景技術】
【0002】
従来技術では、映像出力装置である親機と、映像表示素子である子機との間において、通信を行うためには、ネットワーク上のペアリングが必要であり、例えば特許文献1(以下、従来例という)に係る発明では、当該通信の通信速度を向上することができるペアリング方法が開示されている。
【0003】
従来例に係る発明では、具体的には、
(A)赤外線受信機能及びネットワーク通信機能を有する、例えばカラオケ装置である親機と、
(B)赤外線通信機能及びネットワーク通信機能を有しかつIDで識別される、例えば操作用無線端末装置等のリモートコントローラである子機と、
を備える通信システムが開示されている。
【0004】
ここで、前記通信システムのためのペアリング方法は、
(1)子機が特定の親機に対して自己のIDを赤外線信号として送信する手順と、
(2)親機が子機のIDを含む赤外線信号を受信する手順と、
(3)親機が受信した子機のIDを含む確認メッセージをネットワーク上にブロードキャストで送信する手順と、
(4)子機が自己のIDを含む確認メッセージを親機から受信したとき、その親機を通信相手の親機として登録し、この親機を宛先とする確認メッセージを送信する手順と、
(5)親機が自己を宛先とする確認メッセージを子機から受信したとき、子機を通信相手の子機として登録する手順と、
を含む。
【先行技術文献】
【特許文献】
【0005】
特開2006-261807号公報
【発明の概要】
【発明が解決しようとする課題】
【0006】
しかし、従来例に係る発明では、カラオケ装置である親機と、リモートコントローラである子機のペアリング方法が開示されているが、子機のIDを通知するために、例えば赤外線通信などの別の通信手段が必要である。また、リモートコントローラからのユーザの指示をトリガーにペアリングが実行されるために、親機と子機が自動的に紐づけられない、という課題があった。
【0007】
また、例えば、親機である映像出力装置と、子機である映像表示装置とを、ネットワーク上で紐づけるためには、明示的にネットワークアドレスを指定する必要があり、従来例と同様に、親機と子機が自動的に紐づけられない、という課題があった。
【0008】
本開示の目的は以上の課題を解決し、親機である映像出力装置と、子機である映像表示装置とを、ネットワーク上で自動的に紐づけることができる映像表示システムとそのためのペアリング方法、並びに、映像表示システムのための映像出力装置及び映像表示装置を提供することにある。
【課題を解決するための手段】
【0009】
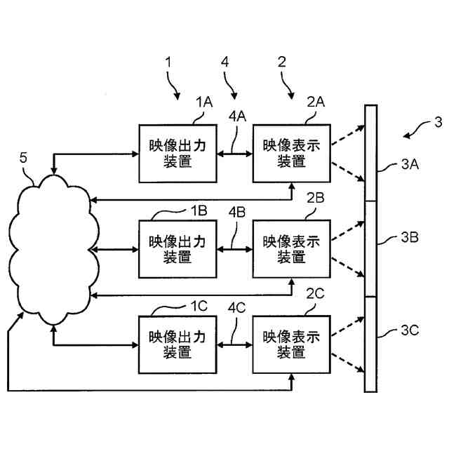
本開示に係る映像表示システムは、ネットワークを介して互いに接続された複数の映像出力装置及び複数の映像表示装置を備える。前記複数の映像出力装置の一つである所定の映像出力装置と、前記複数の映像表示装置の一つである所定の映像表示装置とが接続されたときに、前記所定の映像出力装置は、前記所定の映像表示装置に対してペアリング開始用映像信号を送信する。前記所定の映像表示装置は、前記所定の映像出力装置から送信される前記ペアリング開始用映像信号を受信する。
【発明の効果】
【0010】
従って、本開示によれば、所定の映像出力装置と所定の映像表示装置とが接続されたときに、前記所定の映像出力装置は、前記所定の映像表示装置に対してペアリング開始用映像信号を送信する。これにより、前記ペアリング開始用映像信号をトリガーとして、親機である映像出力装置と、子機である映像表示装置とを、ネットワーク上で自動的に紐づけることができる。
【図面の簡単な説明】
(【0011】以降は省略されています)
この特許をJ-PlatPat(特許庁公式サイト)で参照する
関連特許
個人
イヤーピース
1か月前
個人
イヤーマフ
1か月前
個人
監視カメラシステム
1か月前
個人
スイッチシステム
1か月前
キーコム株式会社
光伝送線路
1か月前
WHISMR合同会社
収音装置
3か月前
サクサ株式会社
中継装置
2か月前
サクサ株式会社
中継装置
2か月前
個人
スキャン式車載用撮像装置
1か月前
キヤノン株式会社
撮像装置
5日前
キヤノン株式会社
撮像装置
5日前
キヤノン株式会社
撮像装置
5日前
アイホン株式会社
電気機器
2か月前
キヤノン株式会社
撮像装置
3か月前
キヤノン株式会社
撮像装置
12日前
個人
ワイヤレスイヤホン対応耳掛け
2か月前
サクサ株式会社
無線システム
2か月前
株式会社リコー
画像形成装置
3か月前
サクサ株式会社
無線通信装置
2か月前
キヤノン電子株式会社
画像読取装置
1か月前
キヤノン電子株式会社
画像読取装置
3か月前
キヤノン電子株式会社
画像読取装置
1か月前
サクサ株式会社
無線通信装置
2か月前
個人
映像表示装置、及びARグラス
1か月前
株式会社リコー
画像形成装置
3か月前
ヤマハ株式会社
放音制御装置
1か月前
株式会社リコー
画像形成装置
1か月前
キヤノン電子株式会社
画像読取装置
1か月前
キヤノン株式会社
画像処理装置
1か月前
キヤノン株式会社
情報処理装置
20日前
キヤノン電子株式会社
シート搬送装置
1か月前
個人
発信機及び発信方法
2か月前
日本電気株式会社
海底分岐装置
1か月前
キヤノン株式会社
撮像システム
2か月前
シャープ株式会社
端末装置
今日
株式会社小糸製作所
画像照射装置
3か月前
続きを見る
他の特許を見る