TOP
|
特許
|
意匠
|
商標
特許ウォッチ
Twitter
他の特許を見る
10個以上の画像は省略されています。
公開番号
2025178402
公報種別
公開特許公報(A)
公開日
2025-12-05
出願番号
2025163236,2023574670
出願日
2025-09-30,2022-06-10
発明の名称
フレーム折り畳み機構及びベッドフレーム
出願人
ワンダーランド スイツァーランド アーゲー
代理人
個人
,
個人
,
個人
主分類
A47C
19/12 20060101AFI20251128BHJP(家具;家庭用品または家庭用設備;コーヒーひき;香辛料ひき;真空掃除機一般)
要約
【課題】ベッドフレームに用いられるフレーム折り畳み機構の提供。
【解決手段】ベッドフレームは、フレーム部と支持部とを含む。本願のフレーム折り畳み機構は、横棒と、リンクと、係合アセンブリとを含み、横棒は、前記レーム部の下方に位置決められ、リンクは、その第1の端が前記支持部に枢動可能に接続されており、係合アセンブリは、前記横棒に外嵌される。ここで、前記リンクの前記第1の端に対向する第2の端は、前記係合アセンブリに枢動可能に接続され、前記係合アセンブリは、前記係合アセンブリを前記横棒に固定させ又は前記係合アセンブリを前記横棒に対してスライドされるように操作される。本願のフレーム折り畳み機構は、使用時に構造が安定しており、揺れにくい。
【選択図】図1
特許請求の範囲
【請求項1】
フレーム部と支持部とを含むベッドフレームに用いられるフレーム折り畳み機構であって、
横棒と、リンクと、係合アセンブリとを含み、
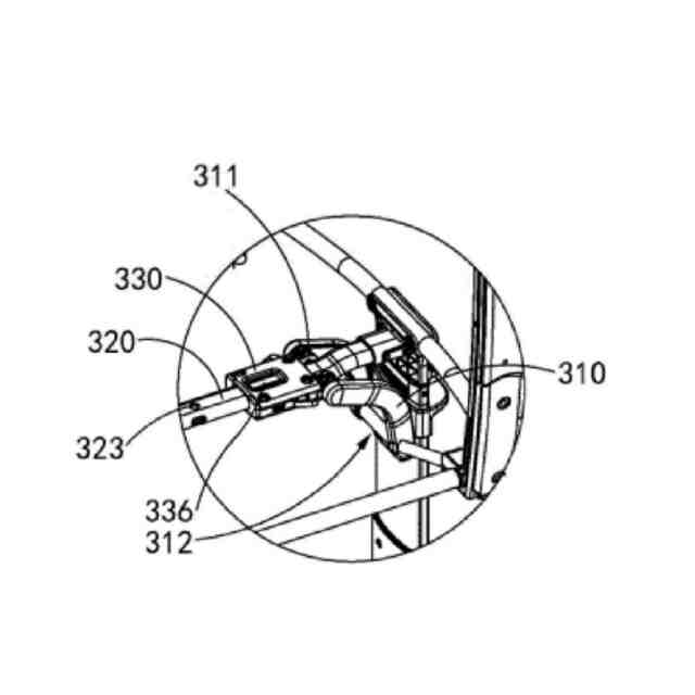
前記横棒は、前記フレーム部の下方に位置決められ、
前記リンクは、その第1の端が前記支持部に枢動可能に接続されており、
前記係合アセンブリは、前記横棒に外嵌され、
前記リンクの前記第1の端に対向する第2の端は、前記係合アセンブリに枢動可能に接続され、前記係合アセンブリは、前記係合アセンブリを前記横棒に固定させ又は前記係合アセンブリを前記横棒に対してスライドさせるように操作される、
ことを特徴とするフレーム折り畳み機構。
続きを表示(約 1,200 文字)
【請求項2】
前記係合アセンブリは、少なくとも2つの位置で前記横棒に固定することができる、
ことを特徴とする請求項1に記載のフレーム折り畳み機構。
【請求項3】
前記ベッドフレームの前記支持部は、前記フレーム部に対して展開位置と折り畳み位置との間で回動可能であり、前記横棒に折り畳み固定溝及び展開固定溝が形成されており、前記支持部が前記展開位置にある場合に前記係合アセンブリが前記展開固定溝に固定され、前記支持部が前記折り畳み位置にある場合に前記係合アセンブリが前記折り畳み固定溝に固定されている、
ことを特徴とする請求項1又は2に記載のフレーム折り畳み機構。
【請求項4】
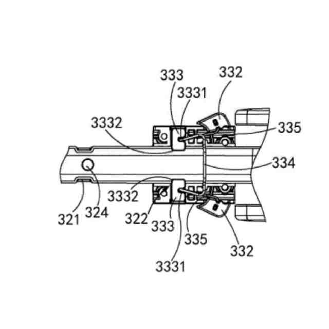
前記係合アセンブリは、スリーブと、ロック解除ボタンと、係合部と、リセット部材とを含み、
前記スリーブは、前記係合アセンブリのハウジングとして形成され、
前記ロック解除ボタンは、少なくとも一部が前記スリーブの外部に露出し、操作可能であり、
前記係合部は、前記ロック解除ボタンの作動に応答して第1の方向に変位し、
前記リセット部材は、前記係合部に前記第1の方向とは反対の第2の方向の力を加えて、前記ロック解除ボタンが作動されない場合に前記リセット部材が前記係合部を第2の方向に沿って変位させる傾向がある、
ことを特徴とする請求項3に記載のフレーム折り畳み機構。
【請求項5】
前記係合部の外周寸法は、前記展開固定溝の寸法に対応している、
ことを特徴とする請求項4に記載のフレーム折り畳み機構。
【請求項6】
前記係合部は、前記展開固定溝にしまり嵌合している、
ことを特徴とする請求項5に記載のフレーム折り畳み機構。
【請求項7】
前記係合アセンブリは、ロック解除ボタンと係合部とを含み、前記ロック解除ボタンと係合部とは、前記横棒の両側に形成され、前記横棒は、前記係合部に対応する折り畳み固定溝と展開固定溝とを含む、
ことを特徴とする請求項4に記載のフレーム折り畳み機構。
【請求項8】
前記係合アセンブリは、1つ又は2つのリセット部材を有する、
ことを特徴とする請求項7に記載のフレーム折り畳み機構。
【請求項9】
前記第1の方向は、前記横棒から離れる方向であり、前記第2の方向は、前記横棒に近づく方向である、
ことを特徴とする請求項4に記載のフレーム折り畳み機構。
【請求項10】
前記係合部にガイド部が設けられており、前記ガイド部は、前記係合部を前記折り畳み固定溝及び/又は前記展開固定溝にガイドすることができる、
ことを特徴とする請求項4に記載のフレーム折り畳み機構。
(【請求項11】以降は省略されています)
発明の詳細な説明
【技術分野】
【0001】
本発明は、ベビーベッド分野に関し、特に、フレーム折り畳み機構及びフレーム折り畳み機構を有するベッドフレームに関する。
続きを表示(約 1,300 文字)
【背景技術】
【0002】
ベビーベッドは赤ちゃんが休めるベビー用品で、介護者が赤ちゃんを介護するのに便利である。現在、市場に支持脚が折り畳み可能なベッドフレームは、展開使用状態では、支持脚が揺れやすく、ベビーベッドが使用時に十分に安定していないため、使いにくい体験をもたらすことがよく見られる。
【発明の概要】
【発明が解決しようとする課題】
【0003】
本願の目的は、使用状態においてベッドフレームを安定させることができ、揺れにくいフレーム折り畳み機構を提供することにある。
【0004】
本願のもう1つの目的は、構造の信頼性が高く、操作が容易であるフレーム折り畳み機構を提供することである。
【0005】
本発明の目的はさらに、上述した欠陥のうちの少なくとも1つを軽減又は解消することができるフレーム折り畳み機構を提供することにある。
【0006】
本発明の目的はさらに、上述したフレーム折り畳み機構を含むベッドフレームを提供することにある。
【課題を解決するための手段】
【0007】
本願の一態様は、上記の目的を実現するために、フレーム部と支持部とを含むベッドフレームに用いられているフレーム折り畳み機構を提供し、前記フレーム折り畳み機構は、横棒と、リンクと、係合アセンブリとを含み、横棒は、前記フレーム部の下方に位置決められ、リンクは、その第1の端が前記支持部に枢動可能に接続されており、係合アセンブリは、前記横棒に外嵌され、前記リンクの前記第1の端に対向する第2の端は、前記係合アセンブリに枢動可能に接続され、前記係合アセンブリは、前記係合アセンブリを前記横棒に固定させ又は前記係合アセンブリを前記横棒に対してスライドさせるように操作される。
【0008】
一実施例では、前記係合アセンブリは、少なくとも2つの位置で前記横棒に固定することができる。
【0009】
一実施例では、前記ベッドフレームの前記支持部は、前記フレーム部に対して展開位置と折り畳み位置との間で回動可能であり、前記横棒に折り畳み固定溝及び展開固定溝が形成されており、前記支持部が前記展開位置にある場合に前記係合アセンブリが前記展開固定溝に固定され、前記支持部が前記折り畳み位置にある場合、前記係合アセンブリが前記折り畳み固定溝に固定されている。
【0010】
一実施例では、前記係合アセンブリは、スリーブと、ロック解除ボタンと、係合部と、リセット部材とを含み、スリーブは、前記係合アセンブリのハウジングとして形成され、ロック解除ボタンは、少なくとも一部が前記スリーブの外部に露出し、操作可能であり、係合部は、前記ロック解除ボタンの作動に応答して第1の方向に変位し、リセット部材は、前記係合部に前記第1の方向とは反対の第2の方向の力を加えて、前記ロック解除ボタンが作動されない場合に前記リセット部材が前記係合部を第2の方向に沿って変位させる傾向がある。
(【0011】以降は省略されています)
この特許をJ-PlatPat(特許庁公式サイト)で参照する
関連特許
個人
箸
1か月前
個人
椅子
3か月前
個人
家具
5か月前
個人
掃除機
9か月前
個人
自助箸
7か月前
個人
多用途紐
1か月前
個人
耳拭き棒
11か月前
個人
屋外用箒
8か月前
個人
掃除用具
4か月前
個人
枕
6か月前
個人
掃除道具
9か月前
個人
枕
9か月前
個人
ハンガー
7か月前
個人
ソファー
2か月前
個人
体洗い具
11か月前
個人
組立式棚板
8か月前
個人
省煙消臭器
9か月前
個人
掃除シート
10か月前
個人
開閉トング
7か月前
個人
物品
3か月前
個人
片手代替具
12か月前
個人
転倒防止装置
5か月前
個人
靴ベラ
3か月前
個人
紙コップ 蓋
3か月前
個人
受け皿
6か月前
個人
洗面台
11か月前
個人
ゴミ袋保持枠
7か月前
個人
バターナイフ
1か月前
個人
シャワー装置
6か月前
個人
中身のない枕
8か月前
個人
経典表示装置
5か月前
個人
清掃用具
20日前
個人
掃除機用ノズル
13日前
個人
コーナーシール
10か月前
個人
コーヒー抽出器
4か月前
個人
ホバー掃除機。
6か月前
続きを見る
他の特許を見る