TOP
|
特許
|
意匠
|
商標
特許ウォッチ
Twitter
他の特許を見る
10個以上の画像は省略されています。
公開番号
2025178384
公報種別
公開特許公報(A)
公開日
2025-12-05
出願番号
2025161568,2024124841
出願日
2025-09-29,2018-06-08
発明の名称
リニアモータ
出願人
パナソニックIPマネジメント株式会社
代理人
弁理士法人新樹グローバル・アイピー
主分類
H02K
41/03 20060101AFI20251128BHJP(電力の発電,変換,配電)
要約
【課題】振動、騒音等の原因となる垂直方向の推力発生を抑えられると同時に、推力を大幅に高めることが可能なリニアモータを提供する。
【解決手段】リニアモータは、3相駆動されるリニアモータであって、3相のコイルと、3相のコイルに対向する位置に、駆動方向に沿って配置された磁石と、を備えている。磁石と対向する部分におけるコイルの巻幅は、電気角で120°±7.7°の範囲である。磁石と対向する部分におけるコイルの平均幅は、電気角で144°±4.6°の範囲である。3相のコイル間のピッチは、電気角で90°±180°×n(nは0以上の整数)である。(ただし、コイルの巻幅とは、巻線が巻回されたコイルの磁石と対向する略直線部分の駆動方向における幅寸法を意味する。コイルの平均幅とは、巻線が巻回されたコイルの磁石と対向する略直線部分の駆動方向における中心間の距離を意味する。)
【選択図】図4
特許請求の範囲
【請求項1】
3相駆動されるリニアモータであって、
3相のコイルと、
前記3相のコイルに対向する位置に、駆動方向に沿って配置された磁石と、
を備え、
前記磁石と対向する部分における前記コイルの巻幅は、電気角で120°±7.7°の範囲、
前記磁石と対向する部分における前記コイルの平均幅は、電気角で144°±4.6°の範囲、
前記3相のコイル間のピッチは、電気角で90°±180°×n(nは0以上の整数)である、
リニアモータ。
(ただし、コイルの巻幅とは、巻線が巻回されたコイルの磁石と対向する略直線部分の前記駆動方向における幅寸法を意味する。コイルの平均幅とは、巻線が巻回されたコイルの磁石と対向する略直線部分の前記駆動方向における中心間の距離を意味する。)
続きを表示(約 270 文字)
【請求項2】
単極着磁された複数の前記磁石を、N極とS極とを交互に並べた界磁部を、さらに備え、
隣り合う前記磁石間の隙間をWg、低減したい高調波次数をk次、jを任意の整数とした場合、
{180°×(1+2j)-23.07°}/k<Wg<{180°×(1+2j)+23.07°}/k
の関係を満たす、
請求項1に記載のリニアモータ。
【請求項3】
前記コイルを挟み込むように、前記コイルの両側に前記磁石が配置された界磁部を、さらに備えている、
請求項1に記載のリニアモータ。
発明の詳細な説明
【技術分野】
【0001】
本開示は、リニアモータに関する。
続きを表示(約 2,600 文字)
【背景技術】
【0002】
従来、レンズ鏡筒のレンズ枠体を光軸方向に移動させるために、高速応答が可能なリニアモータが使用されている(例えば、特許文献1)。
【先行技術文献】
【特許文献】
【0003】
特開平8-248290号公報
【発明の概要】
【発明が解決しようとする課題】
【0004】
しかしながら、上記従来のリニアモータでは、以下に示すような問題点を有している。
すなわち、近年、撮像装置に用いられる撮像素子は、高画素化、ダイナミックレンジの向上等を目的としてサイズの大型化が進んでいる。
撮像素子が大型化すると、レンズ鏡筒に使用されるレンズも必然的に大型化し、レンズの移動量も大きくなる。
【0005】
この大型化されたレンズを駆動するために、レンズを駆動するアクチュエータは、従来よりも推力が大きく、ストロークが長いものが要求される。
上記特許文献1に記載された技術では、1つのコイルに対し界磁部が複数設けられた構成としたことで、推力の向上を図る構成について開示されている。
しかしながら、上記特許文献1記載の技術では、推力を大きくするには限界がある。また、長ストローク化すると、ヨーク部の磁気飽和が無視できなくなり、長ストローク化が難しいという課題がある。
【0006】
本開示の課題は、振動、騒音等の原因となる垂直方向の推力発生を抑えられると同時に、推力を大幅に高めることが可能なリニアモータを提供することにある。
【課題を解決するための手段】
【0007】
本開示に係るリニアモータは、3相駆動されるリニアモータであって、3相のコイルと、3相のコイルに対向する位置に、駆動方向に沿って配置された磁石と、を備えている。磁石と対向する部分におけるコイルの巻幅は、電気角で120°±7.7°の範囲である。磁石と対向する部分におけるコイルの平均幅は、電気角で144°±4.6°の範囲である。3相のコイル間のピッチは、電気角で90°±180°×n(nは0以上の整数)である。(ただし、コイルの巻幅とは、巻線が巻回されたコイルの磁石と対向する略直線部分の駆動方向における幅寸法を意味する。コイルの平均幅とは、巻線が巻回されたコイルの磁石と対向する略直線部分の駆動方向における中心間の距離を意味する。)
【発明の効果】
【0008】
本開示に係るリニアモータによれば、コイルの両側に磁石を配置することにより、振動、騒音等の原因となる垂直方向の推力発生を抑えられると同時に、推力を大幅に高めることが可能となる。
【図面の簡単な説明】
【0009】
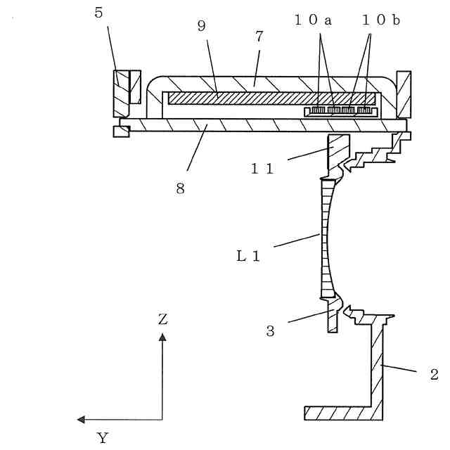
実施の形態1に係るフォーカスユニットを示す斜視図。
実施の形態1に係るフォーカスユニットの断面図。
実施の形態1に係るフォーカスユニットの分解斜視図。
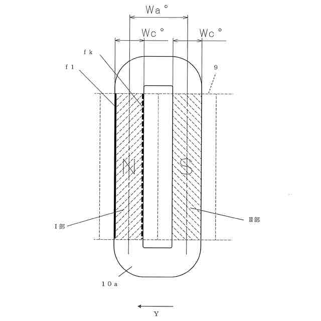
実施の形態1に係るコイルとマグネットの関係を示す説明図。
コイルとマグネットの関係を示す説明図。
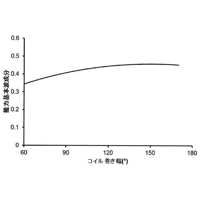
コイルの平均幅Waを180°一定としてコイルの巻き幅Wcを変化させた場合の推力の変化をシュミレーションした図。
コイルの平均幅Waを180°一定としてコイルの巻き幅Wcを変化させた場合の推力の変化をシュミレーションした図。
コイルの平均幅Waを180°一定としてコイルの巻き幅Wcを変化させた場合の推力の変化をシュミレーションした図。
コイルの平均幅Waを180°一定としてコイルの巻き幅Wcを変化させた場合の推力の変化をシュミレーションした図。
コイルの巻き幅Wcを90°一定としてコイルの平均幅Waを変化させた場合の推力の変化をシュミレーションした図。
コイルの巻き幅Wcを90°一定としてコイルの平均幅Waを変化させた場合の推力の変化をシュミレーションした図。
コイルの巻き幅Wcを90°一定としてコイルの平均幅Waを変化させた場合の推力の変化をシュミレーションした図。
コイルの巻き幅Wcを90°一定としてコイルの平均幅Waを変化させた場合の推力の変化をシュミレーションした図。
比較例のコイルとマグネットの関係を示す説明図。
実施の形態1とは別の実施例のコイルとマグネットの関係を示す説明図。
図10Aに示す比較例と、図4に示す本実施形態の構成と、図10Bに示す別の実施形態の構成とを比較した図。
実施の形態2に係る界磁部の正面図。
実施の形態2に係る界磁部の側面図。
実施の形態2に係る界磁部の分解斜視図。
実施の形態2に係る界磁部の高調波低減の原理を示す説明図。
実施の形態3に係る界磁部の構成を示す側面図。
実施の形態3に係る界磁部の構成を示す斜視図。
本実施の形態3の界磁部の磁力線図。
比較例の界磁部の磁力線図。
2相リニアモータの駆動回路を示す図。
推力定数と位相との関係を示すグラフ。
電流波形と位相との関係を示すグラフ。
図18Aのグラフと図18Bのグラフとを重ね合わせた推力と位相との関係を示すグラフ。
図1のフォーカスユニットが搭載されたレンズ鏡筒の構成を示す外観斜視図。
図19のレンズ鏡筒が装着されたカメラの構成を示す外観斜視図。
【発明を実施するための形態】
【0010】
以下、適宜図面を参照しながら、実施の形態を詳細に説明する。但し、必要以上に詳細な説明は省略する場合がある。例えば、既によく知られた事項の詳細説明や実質的に同一の構成に対する重複説明を省略する場合がある。これは、以下の説明が不必要に冗長になるのを避け、当業者の理解を容易にするためである。
なお、発明者らは、当業者が本開示を十分に理解するために添付図面および以下の説明を提供するのであって、これらによって特許請求の範囲に記載の主題を限定することを意図するものではない。
(【0011】以降は省略されています)
この特許をJ-PlatPat(特許庁公式サイト)で参照する
関連特許
個人
高圧電気機器の開閉器
20日前
個人
電気を重力で発電装置
1か月前
キヤノン電子株式会社
モータ
1か月前
キヤノン電子株式会社
モータ
1か月前
株式会社東光高岳
充電器
今日
コーセル株式会社
電源装置
1か月前
トヨタ自動車株式会社
モータ
1か月前
株式会社アイドゥス企画
減反モータ
20日前
株式会社デンソー
端子台
13日前
株式会社デンソー
回転電機
4日前
個人
二次電池繰返パルス放電器用印刷基板
1か月前
株式会社ダイヘン
送配電装置
4日前
富士電機株式会社
電力変換装置
4日前
本田技研工業株式会社
回転電機
6日前
株式会社デンソー
電力変換装置
1か月前
株式会社不二越
空冷式油圧装置
4日前
富士電機株式会社
電力変換装置
4日前
ローム株式会社
半導体集積回路
11日前
株式会社日立製作所
回転電機
11日前
トヨタ自動車株式会社
固定子の加熱装置
1か月前
矢崎総業株式会社
電源回路
19日前
株式会社TMEIC
制御装置
12日前
株式会社東光高岳
充電対象切換システム
今日
矢崎総業株式会社
給電装置
12日前
ローム株式会社
モータドライバ回路
27日前
日産自動車株式会社
ロータシャフト
27日前
日産自動車株式会社
ロータシャフト
27日前
株式会社イノコンバンク
無線給電システム
4日前
山洋電気株式会社
モータ
1か月前
個人
非対称鏡像力を有する4層PWB電荷搬送体
27日前
トヨタ自動車株式会社
ステータの製造装置
1か月前
大和ハウス工業株式会社
敷設用機器
12日前
京商株式会社
模型用非接触電力供給システム
20日前
個人
電線盗難防止方法及び電線盗難防止装置
1か月前
株式会社土井製作所
ケーブル保護管路
11日前
サンデン株式会社
モータ
5日前
続きを見る
他の特許を見る