TOP
|
特許
|
意匠
|
商標
特許ウォッチ
Twitter
他の特許を見る
公開番号
2025178321
公報種別
公開特許公報(A)
公開日
2025-12-05
出願番号
2025153337,2023561334
出願日
2025-09-16,2021-04-06
発明の名称
測位機能強化メカニズム
出願人
ノキア テクノロジーズ オサケユイチア
代理人
個人
,
個人
,
個人
,
個人
主分類
H04W
48/08 20090101AFI20251128BHJP(電気通信技術)
要約
【課題】本開示の例示的な実施形態は、測位機能強化メカニズムのための解決策を提供する。
【解決手段】本開示の実施形態は、測位強化メカニズムのための方法、デバイス、装置、およびコンピュータ可読媒体に関する。第1デバイスは、第3デバイスが非接続状態で測位関連メッセージを送信する予定であると判断する。第1デバイスは、第3デバイスにサービスを提供する第2デバイスに支援情報を送信する。支援情報は、測位関連メッセージについてのデータサイズおよび送信周期のうちの少なくとも一方を含む。支援情報によって、基地局は測位関連メッセージに関する事前情報を提供される。このようにして、基地局は、SDT手順のための適切な構成を決定することができる。その後、端末装置は、SDTを介してRRC NON-CONNECTED状態で測位関連メッセージを送信することができる。このように、セグメンテーションやその後の測位レポートの送信を回避しながら、SDT手順の効率を向上させることができる。
【選択図】図3
特許請求の範囲
【請求項1】
位置管理機能(LMF)のための第1デバイスであって、
少なくとも1つのプロセッサと、
コンピュータプログラムコードを含む少なくとも1つのメモリと、
を備え、
前記少なくとも1つのメモリおよび前記コンピュータプログラムコードは、前記少なくとも1つのプロセッサにより、前記第1デバイスに、
端末装置が非接続状態で測位関連メッセージを送信する予定であると判断することと、
前記端末装置にサービスを提供するネットワーク装置に支援情報を送信することであって、前記支援情報は、前記測位関連メッセージについてのデータサイズおよび送信周期のうちの少なくとも一方を含む、送信することと、
を行わせるように構成される、第1デバイス。
発明の詳細な説明
【技術分野】
【0001】
本開示の実施形態は、概して、電気通信の分野に関し、特に、測位機能強化メカニズムのデバイス、方法、装置、およびコンピュータ可読記憶媒体に関する。
続きを表示(約 2,600 文字)
【背景技術】
【0002】
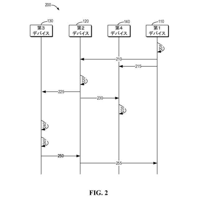
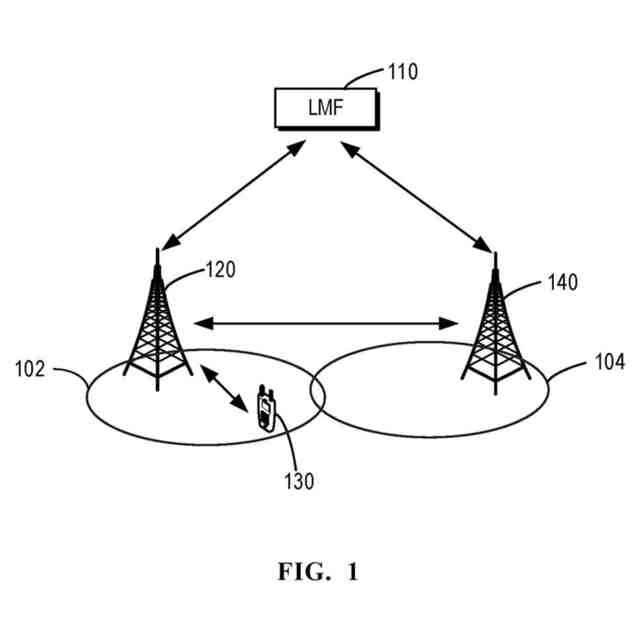
無線リソース制御(RRC)接続(例えば、RRC_CONNECTED)状態にある端末装置(例えば、UE)について、一連の位置管理動作によって、移動通信ネットワーク内で測位されることは容易である。例えば、LMFと呼ばれる位置管理機能を担うネットワークノードは、LTE測位プロトコル(LPPなど)の位置情報要求を送信することによって、端末装置に位置測定レポートの送信を要求することができる。この要求において、LMFは、トリガに基づくレポートや定期的なレポートなどの測定レポートのタイプ、レポート量、特に定期的なレポートのためのレポート間隔などを通知することができる。このような位置情報は、端末装置のサービング基地局(例えば、gNB)に対して透過的であり、従って、LMFは、サービング基地局およびアクセスおよびモビリティ管理機能(AMF)ノードにさらに提供することができる。
【0003】
通信技術が5G NRとも呼ばれる第5世代新無線に進化するにつれて、新たなアプリケーションシナリオおよびサービス特性に適応するために、新たなRRC状態、即ち、RRC非アクティブ状態が導入されている。RRC_INACTIVE状態(RRC非アクティブ状態)では、端末装置は「スリープ」モードのように低消費電力で動作することができるが、頻度の低い小規模なデータトラフィックの受信や送信は許可される。端末装置のコンテキストは、最後にサービスを提供した基地局に保持され、端末装置は、無線アクセスネットワーク(例えば、RAN)ベースの通知領域(例えば、RNA)内でRANに通知することなく移動することができる。そのため、RRC_INACTIVE状態は、伝送遅延、消費電力、およびシグナリングオーバーヘッドの間のトレードオフに達する可能性がある。RNAは、複数の基地局によって提供される複数のセルをカバーすることができ、場合によっては、端末装置がRNAの外に移動することさえある。これにより、端末装置の位置を特定することが困難になるか、または、正確になる可能性がある。
【発明の概要】
【0004】
概して、本開示の例示的な実施形態は、測位機能強化メカニズムのための解決策を提供する。
【0005】
第1の態様において、第1デバイスが提供される。第1デバイスは、少なくとも1つのプロセッサと、コンピュータプログラムコードを含む少なくとも1つのメモリと、を備える。少なくとも1つのメモリおよびコンピュータプログラムコードは、少なくとも1つのプロセッサにより、第1デバイスに、第3デバイスが非接続状態で測位関連メッセージを送信する予定であると判断することと、第3デバイスにサービスを提供する第2デバイスに支援情報を送信することであって、支援情報は、測位関連メッセージについてのデータサイズおよび送信周期のうちの少なくとも一方を含む、送信することと、を行わせるように構成される。
【0006】
第2の態様において、第2デバイスが提供される。第2デバイスは、少なくとも1つのプロセッサと、コンピュータプログラムコードを含む少なくとも1つのメモリと、を備える。少なくとも1つのメモリおよびコンピュータプログラムコードは、少なくとも1つのプロセッサにより、第2デバイスに、第1デバイスから支援情報を受信することであって、支援情報は、非接続状態の第3デバイスによって送信される測位関連メッセージについてのデータサイズおよび送信周期のうちの少なくとも一方を含む、受信することと、支援情報に基づいて測位関連メッセージの設定を決定することと、第3デバイスに設定を送信することと、を行わせるように構成される。
【0007】
第3の態様において、第3デバイスが提供される。第3デバイスは、少なくとも1つのプロセッサと、コンピュータプログラムコードを含む少なくとも1つのメモリと、を備える。少なくとも1つのメモリおよびコンピュータプログラムコードは、少なくとも1つのプロセッサにより、第3デバイスに、第2デバイスから、非接続状態で第3デバイスが送信する測位関連メッセージの設定を受信することであって、設定は、第1デバイスから受信した支援情報に基づいて第2デバイスで決定され、支援情報は、測位関連メッセージについてのデータサイズおよび送信周期のうちの少なくとも一方を含む、受信することと、非接続状態で、第2デバイスに、設定に基づいて測位関連メッセージを送信することと、を行わせるように構成される。
【0008】
第4の態様において、第4デバイスが提供される。第4デバイスは、少なくとも1つのプロセッサと、コンピュータプログラムコードを含む少なくとも1つのメモリと、を備える。少なくとも1つのメモリおよびコンピュータプログラムコードは、少なくとも1つのプロセッサにより、第4デバイスに、第1デバイスから支援情報を受信することであって、支援情報は、非接続状態の第3デバイスによって送信される測位関連メッセージについてのデータサイズおよび送信周期のうちの少なくとも一方を含む、受信することと、支援情報に基づいてリソースを予約することと、を行わせるように構成される。
【0009】
第5の態様において、方法が提供される。本方法は、第1デバイスにおいて、第3デバイスが非接続状態で測位関連メッセージを送信する予定であると判断することと、第3デバイスにサービスを提供する第2デバイスに支援情報を送信することであって、支援情報は、測位関連メッセージについてのデータサイズおよび送信周期のうちの少なくとも一方を含む、送信することと、を含む。
【0010】
第6の態様において、方法が提供される。本方法は、第2デバイスにおいて、第1デバイスから、第1基準信号の送信のための設定を受信することであって、該設定は、第1デバイスによって、位置管理デバイスからの出発角度に関する情報に基づいて決定され、出発角度が、第2デバイスからの第1基準信号の送信のために推定される、受信することと、設定に基づいて、第2デバイスの測位のために第1基準信号を送信することと、を含む。
(【0011】以降は省略されています)
この特許をJ-PlatPat(特許庁公式サイト)で参照する
関連特許
個人
イヤーピース
28日前
個人
イヤーマフ
1か月前
個人
監視カメラシステム
1か月前
個人
スイッチシステム
1か月前
キーコム株式会社
光伝送線路
1か月前
個人
スキャン式車載用撮像装置
1か月前
サクサ株式会社
中継装置
1か月前
WHISMR合同会社
収音装置
2か月前
サクサ株式会社
中継装置
1か月前
キヤノン株式会社
撮像装置
今日
キヤノン株式会社
撮像装置
7日前
キヤノン株式会社
撮像装置
3か月前
アイホン株式会社
電気機器
2か月前
キヤノン株式会社
撮像装置
今日
キヤノン株式会社
撮像装置
今日
個人
映像表示装置、及びARグラス
1か月前
キヤノン電子株式会社
画像読取装置
1か月前
サクサ株式会社
無線通信装置
1か月前
キヤノン電子株式会社
画像読取装置
2か月前
サクサ株式会社
無線通信装置
1か月前
キヤノン電子株式会社
画像読取装置
1か月前
ヤマハ株式会社
放音制御装置
1か月前
個人
ワイヤレスイヤホン対応耳掛け
2か月前
株式会社リコー
画像形成装置
3か月前
株式会社リコー
画像形成装置
1か月前
株式会社リコー
画像形成装置
3か月前
サクサ株式会社
無線システム
1か月前
キヤノン電子株式会社
画像読取装置
28日前
キヤノン株式会社
撮像システム
2か月前
個人
発信機及び発信方法
1か月前
キヤノン電子株式会社
シート搬送装置
28日前
キヤノン株式会社
情報処理装置
15日前
日本電気株式会社
海底分岐装置
1か月前
キヤノン株式会社
画像処理装置
1か月前
ブラザー工業株式会社
読取装置
3か月前
株式会社NTTドコモ
端末
1か月前
続きを見る
他の特許を見る