TOP
|
特許
|
意匠
|
商標
特許ウォッチ
Twitter
他の特許を見る
10個以上の画像は省略されています。
公開番号
2025178249
公報種別
公開特許公報(A)
公開日
2025-12-05
出願番号
2025136031,2021070963
出願日
2025-08-18,2021-04-20
発明の名称
2つの無機絶縁ケーブルの接続方法、互いに接続された2つの無機絶縁ケーブルを有する構造体、並びにケーブル、成形部品、および2つのケーブルを接続するための接続セット
出願人
ショット アクチエンゲゼルシャフト
,
SCHOTT AG
代理人
アインゼル・フェリックス=ラインハルト
,
個人
,
個人
,
個人
,
個人
主分類
H02G
1/14 20060101AFI20251128BHJP(電力の発電,変換,配電)
要約
【課題】絶縁体中への湿分の侵入を回避する、または困難な条件下で素早い接続を可能にする、ケーブルとプラグとの接続方法を提供する。
【解決手段】第1と第2のケーブルとを接続する方法で、両方のケーブルがそれぞれ、少なくとも1つの内部導体と、内部導体を部分的に取り囲む外部シース、および内部導体と外部シースとの間に部分的に配置されて、内部導体を外部シースから絶縁する絶縁材料130を含み、内部導体の融点よりも低い融点を有し、導電性の溶融可能な導体接続材料140を準備し、且つ両方のケーブルの内部導体が互いに向かい合い且つ溶融可能な導体接続材料がその間にあり、第2のケーブルの端部を第1のケーブルの端部に近付け、且つ熱がケーブルの内部まで侵入して、両方の内部導体の間にある溶融可能な導体接続材料が溶融し、両方のケーブルの内部導体が互いに電気的に接続するように、ケーブルの1つを外部から加熱する。
【選択図】図4
特許請求の範囲
【請求項1】
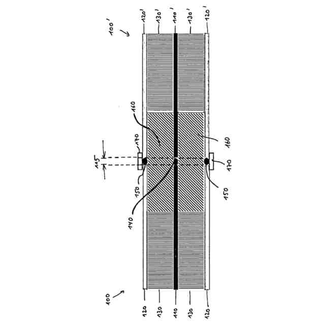
第1のケーブル、殊に第1の無機絶縁ケーブル100と、第2のケーブル、殊に第2の無機絶縁ケーブル100’とを接続する方法であって、両方のケーブルがそれぞれ、
電気信号または電気エネルギーを伝送するための導電性の少なくとも1つの内部導体110、110’、
前記少なくとも1つの内部導体を少なくとも部分的に取り囲む外部シース、殊に金属の外部シース120、120’、および
前記内部導体と前記外部シースとの間に少なくとも部分的に配置されて、前記内部導体を前記外部シースから絶縁する絶縁材料、殊に無機絶縁材料130,130’
を含み、
前記内部導体の融点よりも低い融点を有する、導電性の溶融可能な導体接続材料140を準備し、且つ
両方のケーブルの内部導体110、110’が互いに向かい合い且つ溶融可能な導体接続材料140がその間にあるように、前記第2のケーブル100’の端部101’を前記第1のケーブル100の端部101に近付け、且つ
熱が前記ケーブル100、100’の内部まで侵入して、両方の内部導体の間にある溶融可能な導体接続材料140が溶融し、両方のケーブルの内部導体110、110’が互いに電気的に接続するように、前記ケーブル100、100’の少なくとも1つを外部から加熱する、
前記方法。
続きを表示(約 2,400 文字)
【請求項2】
前記外部シースの融点よりも低い融点を有する、溶融可能なシース接続材料150を準備し、且つ
両方のケーブルの外部シースが互いに向かい合い且つ前記溶融可能なシース接続材料150がその間にあるように、前記第2のケーブル100’の端部101’を前記第1のケーブル100の端部101に近付け、且つ
両方の外部シースの間にある溶融可能なシース接続材料150が溶融し且つ両方のケーブルの外部シース120、120’が互いに接続するように、前記少なくとも1つのケーブル100、100’を外部から加熱する、
請求項1に記載の方法。
【請求項3】
前記第1のケーブルおよび第2のケーブルの端部101、101’がそれぞれ、前記第2のケーブル100’の端部101’が前記第1のケーブル100の端部101に近付けられる際に、両方のケーブルの内部導体110、110’および両方のケーブルの外部シース120、120’が互いにそれぞれ本質的に同じ距離115で向かい合うように構成され、且つ/または
前記導体接続材料140が、前記シース接続材料150の融点よりも低い融点を有する、
請求項2に記載の方法。
【請求項4】
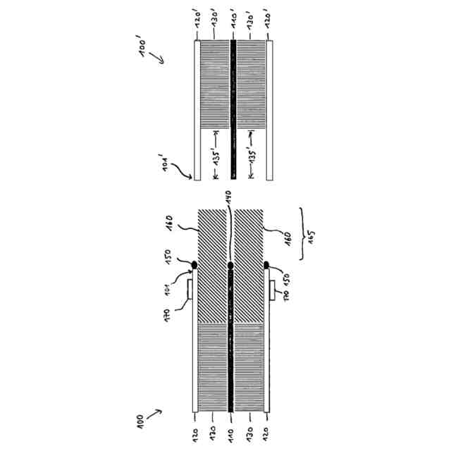
前記第2のケーブル100’の端部101’を前記第1のケーブル100の端部101に近付ける前に、殊に前記第1のケーブル100の端部101で前記内部導体110と前記外部シース120との間に空隙135が生じるように、前記第1のケーブル100の端部101で絶縁材料130を除去し、且つ、
有利にはさらに、殊に前記第2のケーブル100’の端部101’で前記内部導体110’と前記外部シース120’との間に空隙135’が生じるように、前記第2のケーブル100’の端部101’で絶縁材料130’を除去する、
請求項1から3までのいずれか1項に記載の方法。
【請求項5】
前記絶縁材料130を前記第1のケーブルの端部で除去した後に、成形部品、殊に電気絶縁性の成形部品160を前記第1のケーブルの空隙135にはめ込み、
前記成形部品160は有利には、前記空隙、殊にリング状の空隙135に対して相補的な形を有して、この空隙135を正確に形に合わせて塞ぎ、且つ
前記成形部品160は、有利には、前記絶縁材料の熱伝導性よりもより高い熱伝導性を有する、
請求項4に記載の方法。
【請求項6】
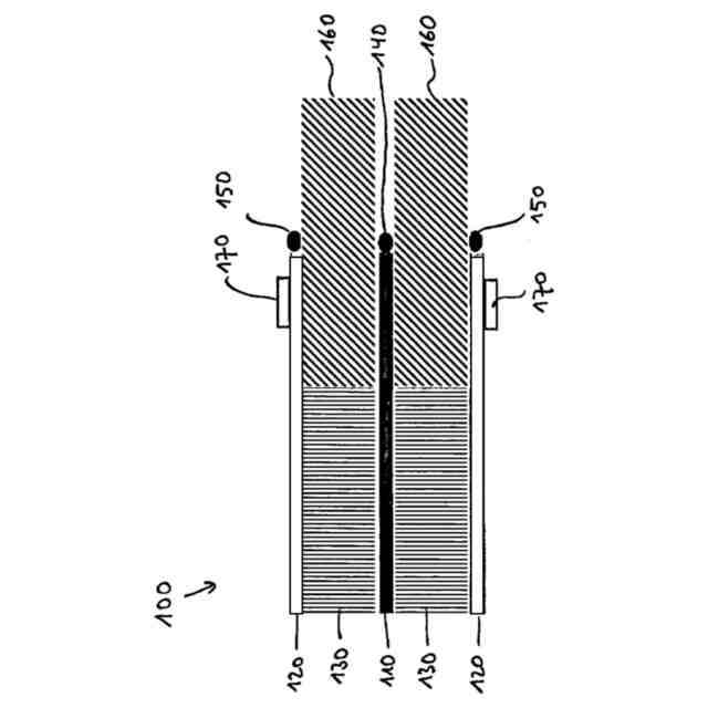
前記成形部品160が、前記第1のケーブル100の端部101の部分領域165で突出するように、前記第1のケーブルの空隙135にはめ込まれ、且つ
有利には、前記第2のケーブル100’の端部101’を前記第1のケーブル100の端部101に近付ける際、前記成形部品160が両方のケーブルの空隙135、135’に達するように、前記第2のケーブルの端部の空隙135’が、前記第1のケーブル100の端部101で突出する成形部品160の部分領域165上にかぶせられる、
請求項5に記載の方法。
【請求項7】
前記第1のケーブル100の端部101で突出する部分領域165が前記導体接続材料140の厚さよりも少なくなるように、殊にその半分の厚さであるように、前記成形部品160を前記第1のケーブル100の空隙135にはめ込み、且つ、
前記第2のケーブル100’の端部101’で突出する部分領域165’が前記導体接続材料140の厚さよりも少なくなるように、殊にその半分の厚さであるように、第2の成形部品160’を前記第2のケーブル100’の空隙135’にはめ込む、
請求項6に記載の方法。
【請求項8】
前記成形部品160を前記第1のケーブルの空隙135にはめ込んだ後に、前記導体接続材料140を前記成形部品の突出する部分領域165で保持し、前記第1のケーブル100の端部で位置付け、且つ
有利には、前記成形部品160を前記第1のケーブルの空隙135にはめ込んだ後に、前記シース接続材料150を前記成形部品の突出する部分領域165で保持し、前記第1のケーブル100の端部で位置付ける、
請求項1から7までのいずれか1項に記載の方法。
【請求項9】
前記第2のケーブル100’の端部を前記第1のケーブル100の端部に近付ける前に、補強部品170を前記第1のケーブルまたは前記第2のケーブルの端部101、101’上に、前記補強部品170がこれらのケーブルの外部シースを取り囲むようにはめて、且つ
前記第2のケーブルの端部を前記第1のケーブルの端部に近付けた後に、前記補強部品170を、前記補強部品170が両方のケーブルの外部シース120、120’を取り囲み、且つ有利には前記シース接続材料150を取り囲むようにはめ直す、
請求項1から8までのいずれか1項に記載の方法。
【請求項10】
前記第1のケーブルおよび/または前記第2のケーブルの内部導体110、110’が以下の材料の1つ: 銅、銅合金、E、J、K、T、N型の熱電対を含むか、またはそれらからなり、且つ/または
前記第1のケーブルおよび/または前記第2のケーブルの外部シース120、120’が以下の材料の1つ: 特殊鋼、殊に300および400シリーズ、合金HR-160、230、718、600、インコネル合金またはハステロイを含むか、またはそれらからなり、且つ/または
前記第1のケーブルおよび/または前記第2のケーブルの絶縁材料130、130’が以下の材料の1つ: MgO、SiO
2
、Al
2
O
3
を含むか、またはそれらからなる、
請求項1から9までのいずれか1項に記載の方法。
(【請求項11】以降は省略されています)
発明の詳細な説明
【技術分野】
【0001】
本発明は、無機絶縁ケーブルとさらなる無機絶縁ケーブルまたはコネクタとの接続方法、さらなる無機絶縁ケーブルまたはコネクタと接続されている無機絶縁ケーブルを含む構造体、並びにケーブルもしくはコネクタ、相応の成形部品、および2つのケーブルを接続、またはケーブルとコネクタとを接続するためのセットに関する。
続きを表示(約 2,200 文字)
【背景技術】
【0002】
無機絶縁ケーブル(MIケーブル)は、極端な環境条件、例えば高温、高圧、放射線および/または腐食性の影響下で使用されており、一般にそこではケーブルの経年劣化が回避されるべきである。例として、深海における装置、例えば石油および/または天然ガス掘削装置または探鉱装置における、および/または化学または放射線汚染された環境における、例えば化学産業においてまたはエネルギーシステムおよび原子炉技術における、殊に爆発の危険のある領域における、ハウジングを有するエネルギー生成装置またはエネルギー貯蔵装置における、またはエネルギー生成装置またはエネルギー貯蔵装置または原子炉または毒性および/または有害な材料の貯蔵装置のカプセル化における装置を挙げることができ、例えばさらに小型モジュール炉(SMR)、核反応炉、水面下での石油およびガスの運搬、パイプライン、ホットセル、高温プロセスを挙げることができる。
【0003】
無機絶縁ケーブル(MIケーブル)は原則的に3つの要素を有する。導電体、例えば銅製の導電体、または殊に熱電対の場合にはニッケル/銅ニッケル合金(Ni/CuNi)など、さらなるケーブルシース、典型的には金属管の形態、例えば特殊鋼、インコネル、銅製のものなど、並びにその間にある圧縮されたセラミック粉末製の絶縁体、例えばMgO、SiO
2
など。
【0004】
2つのMIケーブルを接続するために、またはMIケーブルとプラグとを接続するために様々な接続方法がある。これらは通常、溶接または硬ろう付けに基づき、殊に気密性且つ高耐熱性である機械的に耐久性のある接続を作り出す。
【0005】
図1を参照すると、2つのMIケーブル10、10’を接続するための公知の接続方法は、例えば、特殊鋼製の外部シース12、12’を、両方のケーブルの接続されるべき端部で機械的に切り取り、圧縮された絶縁体を除去し、両方のケーブルの銅導体11、11’を露出することが意図されている。次いで、穴17Lを有するスリーブ17をケーブル端部上にはめる。次いで、両方の露出した銅導体11、11’を互いにろう付けし、その露出されろう付けされた導体上に前記スリーブ17をはめて、両方の端部で、接続されるべきMIケーブルのシース管12、12’と硬くろう付けされる。スリーブ内の穴17Lを通じて、スリーブ内の空の空間を絶縁体粉末で充填し直し、振動を用いて緻密にして、最終的にスリーブ内の穴17Lを硬ろうを用いて閉じる。
【0006】
しかしながら、この方法の欠点は、上記の段階の実施が比較的面倒であり且つ時間がかかることである。これは、とりわけ、アクセスが難しい位置、または長時間の滞在が可能ではない環境条件の場合、例えば高温、放射線等の場合に問題になる。殊に、絶縁体が粉末からなり且つ/または吸湿性である場合、長すぎる時間はさらに、開いたケーブルで絶縁抵抗の低下をもたらしかねない。さらに、他の接続方法は、密閉性の接続が保障されないという欠点を有することが多い。
【発明の概要】
【発明が解決しようとする課題】
【0007】
従って、本発明の課題は、2つのケーブル、またはケーブルとプラグとの接続方法であって、できるだけ容易且つ迅速に実施され、例えば絶縁体中への湿分の侵入を回避するか、または困難な条件下で素早い接続を可能にする、前記方法を示すことである。殊に本発明によって、密閉接続を確実にする方法が示されるべきである。
【課題を解決するための手段】
【0008】
このために、本発明は、第1のケーブル、殊に第1の無機絶縁ケーブルと、第2のケーブル、殊に第2の無機絶縁ケーブルとの接続方法を開示する。前記ケーブルは、それぞれ、電気信号または電気エネルギーを伝送するための導電性の少なくとも1つの内部導体と、さらに、前記少なくとも1つの内部導体を少なくとも部分的に取り囲む外部シース、殊に金属の外部シースと、前記内部導体と前記外部シースとの間に少なくとも部分的に配置されて、前記内部導体を前記外部シースから絶縁する絶縁材料、殊に無機絶縁材料とを含む。
【0009】
本発明による方法に際し、導電性の溶融可能な導体接続材料が準備され、前記材料は第1のケーブルおよび/または第2のケーブルの内部導体の融点よりも低い融点を有する。前記導体接続材料を、例えば材料片として、例えば小球、小板等として準備できるが、例えばペーストとして準備することもできる。
【0010】
さらに、本発明による方法に際し、両方のケーブルの内部導体が互いに向かい合い、且つ溶融可能な導体接続材料がその間にあるように、第2のケーブルの端部を第1のケーブルの端部に近付ける。第2のケーブルの端部を、例えば軸方向において両方の内部導体が正面で向かい合い且つ非常に近くなるまで、例えば導体接続材料が存在する小さな距離まで、第1のケーブルの端部に近付けることができる。両方のケーブルの端部を、好ましくは、両方の内部導体がそれぞれ正面で導体接続材料と接触するような近さで互いに近付ける。
(【0011】以降は省略されています)
この特許をJ-PlatPat(特許庁公式サイト)で参照する
関連特許
個人
高圧電気機器の開閉器
20日前
個人
電気を重力で発電装置
1か月前
キヤノン電子株式会社
モータ
1か月前
キヤノン電子株式会社
モータ
1か月前
株式会社東光高岳
充電器
今日
コーセル株式会社
電源装置
1か月前
株式会社アイドゥス企画
減反モータ
20日前
トヨタ自動車株式会社
モータ
1か月前
株式会社デンソー
端子台
13日前
株式会社デンソー
回転電機
4日前
株式会社ダイヘン
送配電装置
4日前
富士電機株式会社
電力変換装置
4日前
株式会社不二越
空冷式油圧装置
4日前
本田技研工業株式会社
回転電機
6日前
ローム株式会社
半導体集積回路
11日前
富士電機株式会社
電力変換装置
4日前
株式会社東光高岳
充電対象切換システム
今日
株式会社日立製作所
回転電機
11日前
株式会社TMEIC
制御装置
12日前
矢崎総業株式会社
給電装置
12日前
矢崎総業株式会社
電源回路
19日前
個人
非対称鏡像力を有する4層PWB電荷搬送体
27日前
大和ハウス工業株式会社
敷設用機器
12日前
日産自動車株式会社
ロータシャフト
27日前
日産自動車株式会社
ロータシャフト
27日前
ローム株式会社
モータドライバ回路
27日前
トヨタ自動車株式会社
ステータの製造装置
1か月前
株式会社イノコンバンク
無線給電システム
4日前
西芝電機株式会社
緊急切断方法及び軸発電機
今日
株式会社土井製作所
ケーブル保護管路
11日前
サンデン株式会社
モータ
5日前
株式会社アイシン
電力変換装置
1か月前
トヨタ紡織株式会社
ロータの製造装置
1か月前
京商株式会社
模型用非接触電力供給システム
20日前
サンデン株式会社
モータ
5日前
個人
電線盗難防止方法及び電線盗難防止装置
1か月前
続きを見る
他の特許を見る