TOP
|
特許
|
意匠
|
商標
特許ウォッチ
Twitter
他の特許を見る
10個以上の画像は省略されています。
公開番号
2025178145
公報種別
公開特許公報(A)
公開日
2025-12-05
出願番号
2025078314
出願日
2025-05-08
発明の名称
めっき対象物のめっき品質改善および光沢低下防止のためのめっき装置
出願人
ティーピーエス エレコム カンパニー リミテッド
,
TPS Elecomm CO., LTD.
代理人
TRY国際弁理士法人
主分類
C25D
17/00 20060101AFI20251128BHJP(電気分解または電気泳動方法;そのための装置)
要約
【課題】めっき対象物のめっき品質改善および光沢低下防止のためのめっき装置を提供し、垂直連続めっき槽や一般めっき槽のめっき品質向上および製造収率増大のためのものである。
【解決手段】めっき液が充填されるめっき槽と、めっき槽の側壁内側に水平移動可能に設置され、めっき槽内のめっき液を吸入して吐出する循環ポンプと循環ポンプから吐出されるめっき液をめっき槽内側に高圧噴射するイダクトと、めっき対象物を把持してめっき槽内の左右および前後方向に移動させて通電する基板据置台と、めっき槽の左右および前後方向に基板据置台を移動させてめっき槽内のめっき対象物位置またはイダクトとめっき対象物との隔離距離を変化させる据置台移動部と、を備え、めっき槽の前後、左右、および上下にめっき対象物を移動させながらイダクトで圧力を噴射し、アスペクト比や厚み差を有するめっき対象物が全体的にイダクトの影響力を受けるようにする。
【選択図】図6
特許請求の範囲
【請求項1】
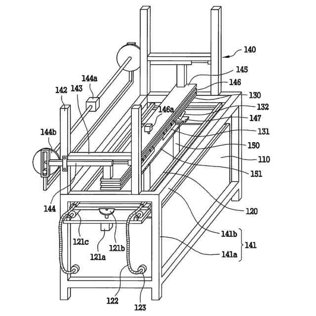
めっき液が充填されるめっき槽(110)と、
前記めっき槽(110)の上部に設置されるイダクト支持台(121)によって上段部が支持されてめっき槽(110)の側壁内側にめっき槽の左右方向(x軸方向)に移動可能に設置され、めっき槽(110)内のめっき液を吸入して吐出する循環ポンプ(122)と連結管(123)を介して接続され、循環ポンプ(122)から吐出されるめっき液をめっき槽(110)内側に高圧噴射するイダクト(120)と、
前記めっき槽(110)の上部にめっき槽の左右方向(x軸方向)および前後方向(y軸方向)に移動可能に据え置かれ、めっき対象物(101)を把持してめっき槽(110)内の左右および前後方向に移動させて通電する基板据置台(130)と、
前記基板据置台(130)の上部に設置されてめっき槽の左右および前後方向に基板据置台(130)をそれぞれ独立に移動させてめっき槽(110)内のめっき対象物(101)の位置またはイダクト(120)とめっき対象物(101)との隔離距離を変化させる据置台移動部(140)と、を備えて構成され、
前記据置台移動部(140)は、
めっき槽周辺の前方と後方の左右両側にそれぞれ設置され、左右対向するように設置されて垂直方向支持のための複数の垂直支持台(141a)と、各垂直支持台を前後および左右に水平に連結する複数の水平支持台(141b)とで構成されるベースフレーム(141)と、
ベースフレーム(141)の左側および右側の水平支持台(141b)上にそれぞれ垂直に立てられて設置され、前方から一定距離後退した点で左右対向するように設置される上部支持台(142)と、
上部支持台(142)の中間部を前後水平に連結する左側および右側のy軸移動支持台(143)と、
左側および右側のy軸移動支持台(143)の下部にその長手方向に沿って設置され、第2モーター(144a)および第2カム(144b)と連結されて第2モーター(144a)の回転運動とそれによる第2カム(144b)の直線運動によって連動し、めっき槽の前後方向(y軸方向)に沿って同時往復運動する左側および右側のy軸駆動シリンダー(144)と、
めっき槽の上部に水平に配置され、左側および右側のy軸駆動シリンダー(144)に両端部がそれぞれ固定され、左側および右側のy軸駆動シリンダー(144)の同時往復運動によってめっき槽の前後方向(y軸方向)に沿って水平移動するy軸移動台(145)と、
y軸移動台(145)の下部に結合されているが、第3モーター(146a)と第3カム(146b)およびx軸駆動シリンダー(146c)とを媒介体として結合され、y軸移動台(145)とともにめっき槽の前後方向(y軸方向)に沿って水平移動して第3モーター(146a)の回転運動による第3カム(146b)の直線運動およびx軸駆動シリンダー(146c)の往復運動によって連動してめっき槽の第2x軸(めっき槽の左右方向に向かって第1x軸と高さが異なるx軸)に沿って往復運動するx軸移動台(146)と、
x軸移動台(146)に着脱可能に据え置かれ、イダクト支持台(121)よりも高い位置でめっき槽(110)の第2x軸に移動可能に基板据置台(130)を左右両側でそれぞれ支持する左側および右側のv-サドル組立体(147)と、を含み、
基板据置台(130)をめっき槽(110)の第2x軸およびy軸にそれぞれ独立に移動させてめっき槽(110)内のめっき対象物(101)の位置またはイダクト(120)とめっき対象物(101)との隔離距離を変化させるように構成される、
ことを特徴とするめっき対象物のめっき品質改善および光沢低下防止のためのめっき装置。
続きを表示(約 1,800 文字)
【請求項2】
前記めっき槽(110)は、銅(Cu)または金(Au)やニッケル(Ni)を単板または複数のめっき対象物を電解めっきする一般めっき槽(Dip型)または垂直連続めっき槽中のいずれかであることを特徴とする請求項1に記載のめっき対象物のめっき品質改善および光沢低下防止のためのめっき装置。
【請求項3】
前記イダクト(120)は、
イダクト支持台(121)によってめっき槽(110)と垂直に等間隔に隔離配置され、
噴射口の直径や噴射圧力の強度が異なる第1ノズル(120a)と第2ノズル(120b)とが隣り合うように交差配置されて構成されることを特徴とする請求項1に記載のめっき対象物のめっき品質改善および光沢低下防止のためのめっき装置。
【請求項4】
前記イダクト(120)は、
めっき対象物(101)に付着した空気除去能力またはめっき液の撹拌と濾過および循環能力を補強するために、前記めっき槽(110)の前後側壁内側に互いに対向して設置されることを特徴とする請求項1に記載のめっき対象物のめっき品質改善および光沢低下防止のためのめっき装置。
【請求項5】
前記イダクト(120)は、
前記イダクト支持台(121)の柔軟な移動を許容するために、柔軟性を有する連結管(123)を介して循環ポンプ(122)と接続されることを特徴とする請求項1に記載のめっき対象物のめっき品質改善および光沢低下防止のためのめっき装置。
【請求項6】
前記イダクト支持台(121)は、
据置台移動部(140)に左右両側が支持され、一方側には第1x軸で水平移動に必要な動力を提供する第1モーター(121a)と第1カム(121b)および第1x軸で往復運動する複数のシリンダー(121c)が設置され、第1モーター(121a)の回転運動とそれによる第1カム(121b)の直線運動およびシリンダー(121c)の往復運動によって第1x軸(めっき槽の左右方向に向かって第2x軸と高さが異なるx軸)での水平移動が行われるように構成されることを特徴とする請求項1に記載のめっき対象物のめっき品質改善および光沢低下防止のためのめっき装置。
【請求項7】
前記据置台移動部(140)は、
y軸移動台(145)の上部に結合されているが、上部支持台(142)によって両端部が直交して昇降可能に支持される状態で、第4モーター(148a)と第4カム(148b)およびz軸駆動シリンダー(148c)とを媒介体として結合し、第4モーター(148a)の回転運動による第4カム(148b)の直線運動およびz軸駆動シリンダー(148c)の往復運動により連動してめっき槽のz軸(上下方向)に往復運動するz軸移動台(148)をさらに含み、基板据置台(130)をめっき槽(110)の上部においてx軸、y軸、およびz軸方向に移動させるように構成されることを特徴とする請求項1に記載のめっき対象物のめっき品質改善および光沢低下防止のためのめっき装置。
【請求項8】
前記めっき槽(110)の内側のイダクト(120)の前方に設置されているが、イダクト(120)から離間するように設置され、めっき対象物(101)の大きさを超えた位置に配置されてめっき対象物(101)の大きさを超えた位置でのイダクト(120)による金属イオンの移動を遮断してめっき対象物(101)の縁の過めっきを防止する遮蔽膜(150)をさらに含んで構成されることを特徴とする請求項1に記載のめっき対象物のめっき品質改善および光沢低下防止のためのめっき装置。
【請求項9】
前記遮蔽膜(150)は、
前記めっき槽(110)内の左右両側にペアで配置されることを特徴とする請求項8に記載のめっき対象物のめっき品質改善および光沢低下防止のためのめっき装置。
【請求項10】
前記遮蔽膜(150)は、
前記めっき槽(110)の内部の前後両側に互いに向かい合うようにペアで設置されることを特徴とする請求項8に記載のめっき対象物のめっき品質改善および光沢低下防止のためのめっき装置。
(【請求項11】以降は省略されています)
発明の詳細な説明
【技術分野】
【0001】
本発明は、垂直連続めっき槽または一般めっき槽(Dip型)内のめっき対象物のめっき品質改善および光沢低下防止のためのめっき装置に関し、より詳細には、銅(Cu)または金(Au)やニッケル(Ni)などを電解めっきする垂直連続めっき槽や一般めっき槽(Dip型)内でめっき対象物をめっき槽のx軸、y軸に移動させ、同時にめっき槽のx軸にイダクト(e‐duct)が移動しながら圧力を噴射できるようにイダクトの影響をアスペクト比や厚み差を有するめっき対象物に均一に作用させることができ、また、めっき槽内にめっき対象物の大きさを超えた位置に設置される遮蔽膜でめっき対象物周辺の金属イオンの流れを断続できるようにしてめっき対象物の縁に発生する過めっきによるめっき光沢の低下を防止し、めっき品質向上および製造収率(capacity)増大を期待でき、また、同一スペースに対するスペース活用度を向上させて複数のめっきラインの設置を可能にし、多品種少量生産および量産時に有利に適用できるめっき対象物のめっき品質改善および光沢低下防止のためのめっき装置に関する。
続きを表示(約 1,800 文字)
【背景技術】
【0002】
一般に、PCB層と層の間を接続するために、該当する位置に穿孔をしてめっきを進行することになるが、このとき、穿孔された穴壁面は絶縁体として存在するため、まず無電解めっきして穴壁面に電気を通し、電解めっきして穴壁金属の厚みを上げることになる。
【0003】
電解めっき方式には、一般めっき装置と垂直連続めっき装置があり、それぞれの方式には長/短所が存在する。
【0004】
まず、一般めっき装置は垂直連続めっき装置よりもめっき槽(bath)の容積が著しく小さいため、広い設置スペースが不要でスペース活用度が高い。したがって、複数のめっき装置を設置できるため、めっき条件の異なる各製品を同時にめっきすることができ、高い生産量につなげることができる。また、一般めっき装置は、めっき槽の容積が小さいため、比較的少量の建浴薬品を使用し、複数のめっき装置を設置するため、個別に建浴を行うことができ、建浴薬品メイクアップ(make-up)による納期遅延問題も比較的低い長所がある。
【0005】
一方、一般めっき装置は、基板の一部の面積のみがイダクトの影響を受けるため、めっきの光沢、均一な穴めっきなどのめっき品質は垂直連続めっき装置よりも低下する。ここで、イダクトとは、基板に付着している空気を除去し、穴中のめっきを最大化するためにめっき槽内に薬品を圧力によって強力に噴射することを意味する。
【0006】
垂直連続めっき装置は、一般めっき装置の長/短所と反対の特性を有している。すなわち、イダクト噴射時、基板の面積の一部のみに影響を与える一般めっき装置に比べて基板の全ての面積に影響を与えるため、めっきの光沢、均一な穴めっきなどめっき品質の面では、一般めっき装置より優れるが、設置面積、生産量、建浴薬品の過剰使用による事業性の低下や納期の遅延のおそれがあるという短所がある。
【0007】
図1の(a)と(b)はそれぞれ従来の一般めっき装置と従来垂直連続めっき装置および各装置によるめっき後のイダクト影響面積(光沢面積)を示す模式図であり、(a)は一般めっき装置でめっき槽10内の基板1が把持された状態とめっき後基板1の光沢面積を示しており、(b)は垂直連続めっき装置でめっき槽10内の基板1が把持された状態とめっき後基板1の光沢面積を示している。これらの図に示すように、垂直連続めっき装置の場合、一般めっき装置の場合よりも基板1の全ての面積が影響を受けるため、めっきの光沢、均一な穴めっきで有利に作用する。
【0008】
しかし、このような従来の垂直連続めっき装置は、図2に示すように、めっき槽10内の基板1の一列配置が原因となり、一般めっき装置に比べてラインが長くなるため、十分な設置スペースを必要とし、スペース活用度が非常に低いだけでなく、製造可能な基板の数も少なく、低い製造収率を示す。また、多品種少量生産企業の場合、品種ごとにめっき条件が異なるため、このような垂直連続型めっき装置では同時にめっき工程を行うことができず、納期の問題点も発生する可能性がある。
【0009】
また、このような垂直連続めっき装置の場合、大量の建浴薬品が投入されるため、事業性の面で非常に不利な短所がある。建浴薬品の場合、めっきによって消費された薬品だけ追加の建浴を行うこともあるが、薬品自体に使用期限があるため、定期的に全体のメイクアップが必要だからである。
【0010】
これに関して、本出願人によって開発された大韓民国登録特許第10-2539090号(発明の名称:めっき対象物の変位調節可能な垂直連続めっき装置、以下「特許文献1」と略称する)は、図3に示すように、めっき槽10内のめっき対象物である基板1を斜線方向に角度調節を可能に配置してめっき槽内のめっき対象物に対する作業量増大およびイダクト効果を最大化させ、製造収率増大および品質向上が期待でき、また、めっき対象物が前、後に移動し、少しずつ前進して全体の移動距離を延長することで、めっき槽のサイズ縮小およびそれに伴う複数のめっきラインの設置を可能にして多品種少量生産時に有利にした。
(【0011】以降は省略されています)
この特許をJ-PlatPat(特許庁公式サイト)で参照する
関連特許
株式会社堤水素研究所
水電解装置
1か月前
株式会社神戸製鋼所
接点材料
1か月前
株式会社カネカ
可撓性ガス拡散電極
2か月前
本田技研工業株式会社
電解装置
2か月前
株式会社ケミカル山本
電解研磨装置用電極
1か月前
一般財団法人電力中央研究所
電解反応装置
2か月前
本田技研工業株式会社
水電解スタック
2か月前
本田技研工業株式会社
差圧式電解装置
1か月前
株式会社荏原製作所
蒸気発電プラント
1か月前
本田技研工業株式会社
CO2電解装置
2か月前
東レ株式会社
液体電解用多孔質輸送層およびその製造方法
1か月前
SECカーボン株式会社
カソードアセンブリ
2か月前
古河電気工業株式会社
端子
1か月前
メルテックス株式会社
極薄電解銅箔及びその製造方法
1か月前
本田技研工業株式会社
電解セルの製造方法
2か月前
睦技研株式会社
バレルめっき装置
2日前
NOK株式会社
セルユニット
2か月前
三菱マテリアル株式会社
皮膜付端子材及びその製造方法
1か月前
旭化成株式会社
電解装置の運転方法
1か月前
株式会社豊田中央研究所
電極
2か月前
NOK株式会社
セルユニット
2か月前
NOK株式会社
セルユニット
2か月前
株式会社デンソー
電解装置
1か月前
ナミックス株式会社
銅部材
2か月前
NOK株式会社
セルユニット
2か月前
本田技研工業株式会社
膜電極構造体の製造方法
1か月前
大阪瓦斯株式会社
共電解メタネーション装置
1か月前
大阪瓦斯株式会社
共電解メタネーション装置
1か月前
三菱重工業株式会社
皮膜形成装置
1か月前
株式会社トクヤマ
電解槽ユニット
2日前
株式会社トクヤマ
電解槽ユニット
2日前
東京瓦斯株式会社
水電解システム
2か月前
JX金属株式会社
電着金属の搬送システム及び搬送方法
1か月前
本田技研工業株式会社
電気化学式水素昇圧システム
2か月前
本田技研工業株式会社
電気化学式水素昇圧システム
1か月前
株式会社フジタ
水電解装置
1か月前
続きを見る
他の特許を見る