TOP
|
特許
|
意匠
|
商標
特許ウォッチ
Twitter
他の特許を見る
10個以上の画像は省略されています。
公開番号
2025177584
公報種別
公開特許公報(A)
公開日
2025-12-05
出願番号
2024084557
出願日
2024-05-24
発明の名称
通気制御装置
出願人
YKK AP株式会社
代理人
弁理士法人酒井国際特許事務所
主分類
E06B
7/04 20060101AFI20251128BHJP(戸,窓,シャッタまたはローラブラインド一般;はしご)
要約
【課題】更なる止水性を確保した上で換気を行うこと。
【解決手段】室内外を連通するように中骨アタッチメント31の側面に開口された通気孔40の通気制御を行う通気制御装置50であって、上下に延在する縦ルーバー材51が左右に複数並列された第1通気制御部50Aと、左右に延在する横ルーバー材55が上下に複数並列された第2通気制御部50Bとを備え、第1通気制御部50A及び第2通気制御部50Bが通気孔40の開口に重なる位置において通気方向に並設され、縦ルーバー材51には規制部材51cが設けられている。
【選択図】図9
特許請求の範囲
【請求項1】
室内外を連通するように壁体の側面に開口された通気孔の通気制御を行う通気制御装置であって、
上下に延在する縦ルーバー材が左右に複数並列された第1通気制御部と、
左右に延在する横ルーバー材が上下に複数並列された第2通気制御部とを備え、
前記第1通気制御部及び前記第2通気制御部が前記通気孔の開口に重なる位置において通気方向に並設され、
前記縦ルーバー材には室内側への流体の流れを規制する規制部材が設けられていることを特徴とする通気制御装置。
続きを表示(約 620 文字)
【請求項2】
前記縦ルーバー材は、隣接する縦ルーバー材に対して通気方向に重なるように配設されていることを特徴とする請求項1に記載の通気制御装置。
【請求項3】
前記第1通気制御部は、左右の縁部に前記通気孔の通気方向に沿って延在する仕切壁部を有し、
前記横ルーバー材は、前記仕切壁部を介して前記第1通気制御部に支持されていることを特徴とする請求項1に記載の通気制御装置。
【請求項4】
前記第1通気制御部は、前記仕切壁部に交差する方向に延在した取付壁部を左右の縁部に有し、
前記第1通気制御部が前記取付壁部を介して前記壁体に取り付けられていることを特徴とする請求項3に記載の通気制御装置。
【請求項5】
前記壁体には、前記取付壁部が当接する当接面と、前記取付壁部が当接面に当接した場合に前記取付壁部に係合することにより、前記取付壁部が前記当接面から離隔する方向の移動を規制する係合突起とが設けられていることを特徴とする請求項4に記載の通気制御装置。
【請求項6】
前記第1通気制御部は前記第2通気制御部よりも室外側に設けられていることを特徴とする請求項1に記載の通気制御装置。
【請求項7】
前記横ルーバー材は、隣接する横ルーバー材に対して前記通気孔の通気方向に重なるように配設されていることを特徴とする請求項1に記載の通気制御装置。
発明の詳細な説明
【技術分野】
【0001】
本発明は、室内外を連通するように壁体の側面に開口された通気孔の通気制御を行う通気制御装置に関するものである。
続きを表示(約 3,000 文字)
【背景技術】
【0002】
カーテンウォール等の壁体には、室内外を連通するように通気孔が設けられているものがある。通気孔の開口部には、上下に延在する縦ルーバー材が左右に複数並列されており、室内を換気している間においても、雨水等の室外の水が室内側に進入する事態を防止するようにしている(例えば、特許文献1参照)。
【先行技術文献】
【特許文献】
【0003】
特開2024-107号公報
【発明の概要】
【発明が解決しようとする課題】
【0004】
しかしながら、昨今においては、予想を上回る暴風雨が観測されるようになってきている。このため、更なる止水性を確保した状態で換気を行うことのできる通気制御装置の具現化が要望されている。
【0005】
本発明は、上記実情に鑑みて、更なる止水性を確保した上で換気を行うことのできる通気制御装置を提供することを目的とする。
【課題を解決するための手段】
【0006】
上記目的を達成するため、本発明に係る通気制御装置は、室内外を連通するように壁体の側面に開口された通気孔の通気制御を行う通気制御装置であって、上下に延在する縦ルーバー材が左右に複数並列された第1通気制御部と、左右に延在する横ルーバー材が上下に複数並列された第2通気制御部とを備え、前記第1通気制御部及び前記第2通気制御部が前記通気孔の開口に重なる位置において通気方向に並設され、前記縦ルーバー材には室内側への流体の流れを規制する規制部材が設けられていることを特徴とする。
【発明の効果】
【0007】
本発明によれば、第1通気制御部として縦ルーバー材に規制部材が設けられているものを適用しているため、室外の水が室内側に進入する事態を防止することができ、さらに、互いに異なる方向に延在した横ルーバー材を備える第2通気制御部が通気方向に並設されるため、雨水等の室外の水が室外側の通気制御部を通過した場合にも、室内側の通気制御部によって室内側への進入を抑えることが可能となる。これにより、止水性を高めた状態で換気を行うことができるようになる。
【図面の簡単な説明】
【0008】
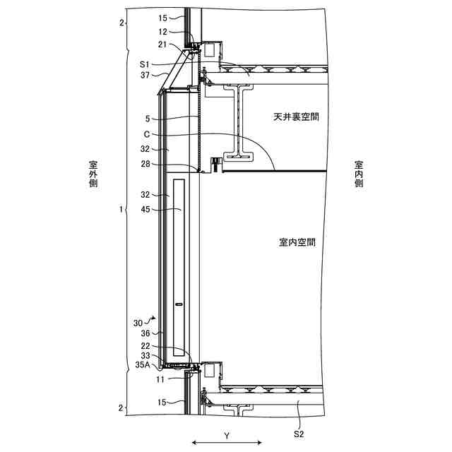
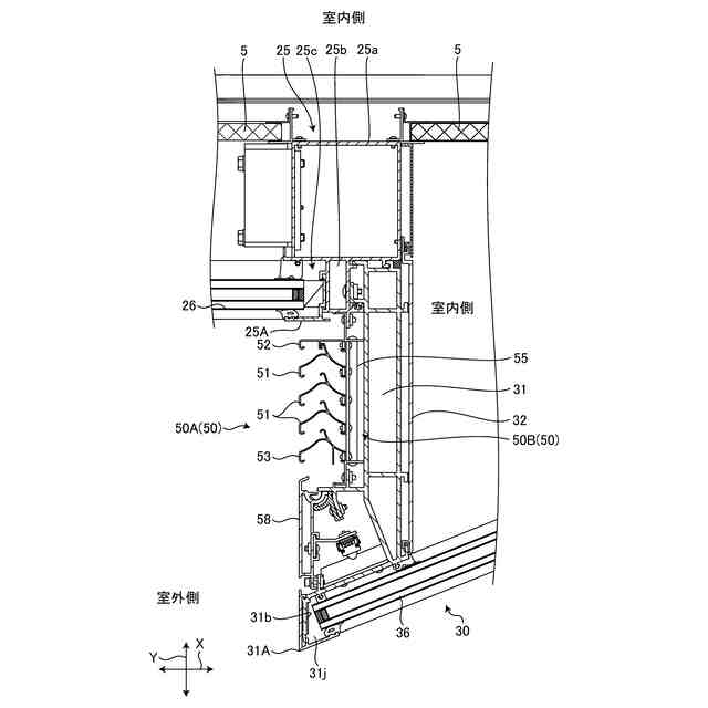
本発明の実施の形態である通気制御装置を適用した換気用カーテンウォールを備える建築物を室外側から見た姿図である。
図1に示した建築物に適用した換気用カーテンウォールの姿図である。
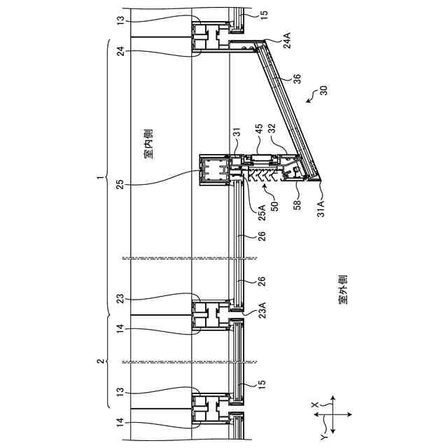
図1に示した建築物をパネルの部分で破断した縦断面図である。
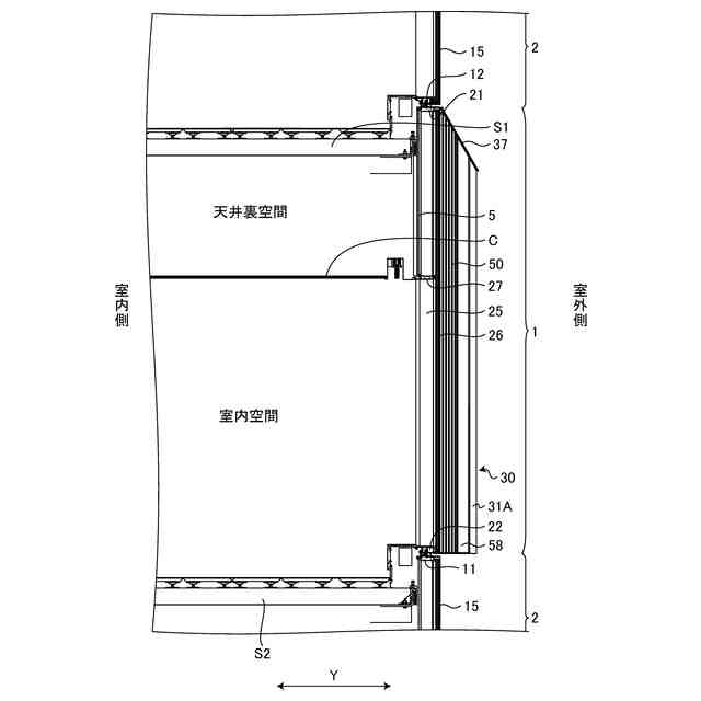
図1に示した建築物を出窓部で破断した縦断面図である。
図1に示した建築物の横断面図である。
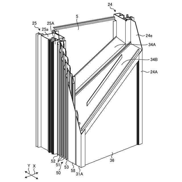
図1に示した建築物の換気用カーテンウォールの上方部を室外側から見た斜視図である。
図1に示した建築物の換気用カーテンウォールの上方部を一部破断して室外側から見た斜視図である。
図2に示した換気用カーテンウォールを天井裏空間の位置で破断した要部横断面図である。
図2に示した換気用カーテンウォールを室内空間の位置で破断した要部横断面図である。
図2に示した換気用カーテンウォールに適用する上枠の断面図である。
図2に示した換気用カーテンウォールに適用する下枠をパネルの部分で破断した断面図である。
図2に示した換気用カーテンウォールに適用する左縦枠の断面図である。
図2に示した換気用カーテンウォールに適用する右縦枠の断面図である。
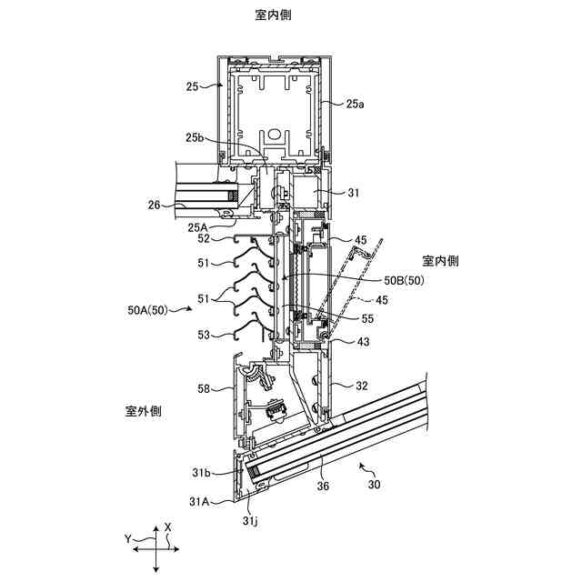
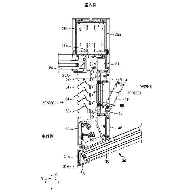
図2に示した換気用カーテンウォールに適用する縦中骨を示すもので、(a)は天井裏空間の位置で破断した断面図、(b)は室内空間の位置で破断した分解断面図である。
図2に示した換気用カーテンウォールに適用する下枠を出窓部で破断した断面図である。
図2に示した換気用カーテンウォールに適用する上枠アタッチメントの断面図である。
図2に示した換気用カーテンウォールをX方向室内側から見た縦断面図である。
図2に示した換気用カーテンウォールをY方向室外側から見た縦断面図である。
図17の要部拡大図である。
図18の要部拡大図である。
図2に示した換気用カーテンウォールに適用する通気制御装置の分解断面平面図である。
図2に示した換気用カーテンウォールの通気孔部分を示すもので、(a)は換気制御装置を取り付ける途中の状態の断面平面図、(b)は縦中骨及び中骨アタッチメンチの当接面に通気制御装置の取付壁部を当接させた直後の断面平面図、(c)はネジ部材を螺合して通気制御装置を縦中骨及び中骨アタッチメンチに取り付けた状態の断面平面図である。
【発明を実施するための形態】
【0009】
以下、添付図面を参照しながら本発明に係る通気制御装置の好適な実施の形態について詳細に説明する。
図1~図9は、本発明の実施の形態である通気制御装置を適用した換気用カーテンウォールを示したものである。ここで例示する換気用カーテンウォール1は、標準カーテンウォール2及び分割標準カーテンウォール3と組み合わせて縦横に配列することにより建築物の外壁を構成するものである。建築物は、上層の床スラブS1と下層の床スラブS2との間に天井板材Cを設けることにより、天井板材Cよりも下方に室内空間を構成するとともに、天井板材Cよりも上方に天井裏空間を構成するものである。上述した換気用カーテンウォール1、標準カーテンウォール2、分割標準カーテンウォール3は、上下の床スラブS1,S2の室外側となる部分に配設してある。標準カーテンウォール2は、標準上枠11、標準下枠12、左右の標準縦枠13,14によって構成した枠体10の内部に複層ガラス等の標準パネル15を配設したものである。分割標準カーテンウォール3は、標準上枠11、標準下枠12、左右の標準縦枠13,14によって構成した枠体10に上下に沿うように標準縦中骨16を配設し、それぞれの内部に複層ガラス等の標準パネル15を配設したものである。図には明示していないが、標準上枠11、標準下枠12、標準縦枠13,14、標準縦中骨16は、標準パネル15の板厚方向に沿った寸法が互いにほぼ等しくなるように構成してある。
【0010】
これに対して換気用カーテンウォール1は、上枠21、下枠22、左右の縦枠23,24によって構成した枠体20に上下に沿うように縦中骨25を配設し、縦中骨25の一方側に複層ガラス等のパネル26を配設する一方、縦中骨25の他方側に室外に突出する出窓部30を構成したものである。以下、室外から建築物の外壁面に正対した状態で左側に配置される縦枠(以下、左縦枠23という)と縦中骨25との間にパネル26を有し、右側に配置される縦枠(以下、右縦枠24という)と縦中骨25との間に出窓部30を有した換気用カーテンウォール1の構成について主に説明する。なお、以下においては便宜上、建築物の外壁面に沿った水平方向をX方向、外壁面に直交する水平方向をY方向として説明を行う。すなわち、図示の例では、パネル26はX方向に沿って配設してあり、出窓部30がY方向室外側に突出するように設けてあるものとする。
(【0011】以降は省略されています)
この特許をJ-PlatPat(特許庁公式サイト)で参照する
関連特許
YKK AP株式会社
採光装置
24日前
YKK AP株式会社
防火ドア
16日前
YKK AP株式会社
通気制御装置
1日前
YKK AP株式会社
通気制御装置
1日前
YKK AP株式会社
改装建具及び改装建具の施工方法
17日前
YKK AP株式会社
電動開閉遮蔽装置およびその制御方法
2日前
ミサワホーム株式会社
門扉の支持構造及びブラケット
8日前
中国電力株式会社
脚立
3か月前
株式会社ESP
止水板
3か月前
株式会社ナカオ
作業台
2か月前
株式会社ニチベイ
遮蔽装置
1か月前
三協立山株式会社
開口部建材
1か月前
三協立山株式会社
開口部装置
2か月前
三協立山株式会社
開口部装置
2か月前
三協立山株式会社
開口部装置
3か月前
三協立山株式会社
開口部装置
2か月前
三協立山株式会社
開口部装置
3か月前
三協立山株式会社
開口部装置
3か月前
三協立山株式会社
開口部建材
1か月前
ミサワホーム株式会社
水切り材
3か月前
株式会社TJMデザイン
脚立用ホルダー
4か月前
豊田合成株式会社
調光装置
29日前
不二サッシ株式会社
引違いサッシ
3か月前
株式会社ニチベイ
縦型ブラインド
4か月前
不二サッシ株式会社
引違いサッシ
1か月前
文化シヤッター株式会社
止水装置
1か月前
豊田合成株式会社
調光装置
1か月前
文化シヤッター株式会社
引戸装置
1か月前
株式会社LIXIL
太陽電池ガラス
2か月前
株式会社ニチベイ
ロールスクリーン
1日前
三協立山株式会社
サッシの製造方法
2か月前
株式会社LIXIL
建具
2か月前
株式会社LIXIL
建具
2か月前
株式会社LIXIL
建具
2か月前
株式会社LIXIL
建具
2か月前
株式会社LIXIL
建具
2か月前
続きを見る
他の特許を見る