TOP
|
特許
|
意匠
|
商標
特許ウォッチ
Twitter
他の特許を見る
10個以上の画像は省略されています。
公開番号
2025177609
公報種別
公開特許公報(A)
公開日
2025-12-05
出願番号
2024084610
出願日
2024-05-24
発明の名称
通気制御装置
出願人
YKK AP株式会社
代理人
弁理士法人酒井国際特許事務所
主分類
E06B
7/04 20060101AFI20251128BHJP(戸,窓,シャッタまたはローラブラインド一般;はしご)
要約
【課題】止水性の向上を図ること。
【解決手段】室内外を連通するように中骨アタッチメント31の側面に開口された通気孔40の通気制御を行う通気制御装置50であって、中骨アタッチメント31の外方壁部31eよりも室外側において通気孔40の両側となる部分に仕切壁部52a,53aが設けられ、中骨アタッチメント31の室外側において通気孔40の開口に重なる位置には、上下に延在する縦ルーバー材51が外方壁部31eから離隔した位置において左右に複数並列され、縦ルーバー材51、仕切壁部52a,53a及び中骨アタッチメント31の外方壁部31eによって囲まれる外方空間38には、上方から下方への連通を遮断する導水部材60が設けられ、導水部材60は、外方空間38から仕切壁部52a,53aを越えた位置に至る導水面60aを有している。
【選択図】図19
特許請求の範囲
【請求項1】
室内外を連通するように壁体の側面に開口された通気孔の通気制御を行う通気制御装置であって、
前記壁体の室外側表面よりも室外側において前記通気孔の両側となる部分に仕切壁部が設けられ、
前記壁体の室外側において前記通気孔の開口に重なる位置には、上下に延在する縦ルーバー材が前記室外側表面から離隔した位置において左右に複数並列され、
前記縦ルーバー材、前記仕切壁部及び前記壁体によって囲まれる外方空間には、上方から下方への連通を遮断する導水部材が設けられ、
前記導水部材は、前記外方空間から前記仕切壁部を越えた位置に至る導水路を有していることを特徴とする通気制御装置。
続きを表示(約 650 文字)
【請求項2】
前記導水部材は、前記外方空間の上下に沿った複数位置に設けられていることを特徴とする請求項1に記載の通気制御装置。
【請求項3】
前記導水路は、前記導水部材の上面を前記仕切壁部に向けて漸次低くなるように傾斜させることによって構成され、前記導水路の下端部が前記仕切壁部に設けられた切欠部を介して前記仕切壁部を越えた位置まで延在されていることを特徴とする請求項1に記載の通気制御装置。
【請求項4】
前記導水路は、左右に向けて漸次低くなるように傾斜し、左右の仕切壁部を越えた位置まで延在されていることを特徴とする請求項3に記載の通気制御装置。
【請求項5】
前記導水部材は、取付部材を介して前記縦ルーバー材に支持されていることを特徴とする請求項1に記載の通気制御装置。
【請求項6】
前記導水部材は、弾性部材によって成形され、前記室外側表面及び前記取付部材にそれぞれ圧接された状態で前記外方空間に配設され、
前記導水部材には、前記仕切壁部に設けられた切欠部の下縁部を収容する凹部が設けられていることを特徴とする請求項5に記載の通気制御装置。
【請求項7】
前記縦ルーバー材は、前記通気孔の開口よりも上縁を越えて上方に延在され、
前記導水部材は、少なくとも前記通気孔のもっとも上方に位置する開口縁部よりも上方となる部分に配設されていることを特徴とする請求項1に記載の通気制御装置。
発明の詳細な説明
【技術分野】
【0001】
本発明は、室内外を連通するように壁体の側面に開口された通気孔の通気制御を行う通気制御装置に関するものである。
続きを表示(約 3,200 文字)
【背景技術】
【0002】
カーテンウォール等の壁体には、室内外を連通するように通気孔が設けられているものがある。通気孔の開口部には、上下に延在する縦ルーバー材が左右に複数並列されており、室内を換気している間においても、雨水等の室外の水が室内側に進入する事態を防止するようにしている。さらに、縦ルーバー材よりも室内側となる部分には、縦ルーバー材を越えて室内側に進入した水を室外側に排出するための仕切材も設けられている(例えば、特許文献1参照)。
【先行技術文献】
【特許文献】
【0003】
特開2024-107号公報
【発明の概要】
【発明が解決しようとする課題】
【0004】
ところで、仕切材によって室外側に案内された水は、通気孔の上流側に滴下する場合がある。このため、通気孔が開放された状態にある場合には、滴下した水の一部が通過する懸念がある。
【0005】
本発明は、上記実情に鑑みて、止水性の向上を図ることのできる通気制御装置を提供することを目的とする。
【課題を解決するための手段】
【0006】
上記目的を達成するため、本発明に係る通気制御装置は、室内外を連通するように壁体の側面に開口された通気孔の通気制御を行う通気制御装置であって、前記壁体の室外側表面よりも室外側において前記通気孔の両側となる部分に仕切壁部が設けられ、前記壁体の室外側において前記通気孔の開口に重なる位置には、上下に延在する縦ルーバー材が前記室外側表面から離隔した位置において左右に複数並列され、前記縦ルーバー材、前記仕切壁部及び前記壁体によって囲まれる外方空間には、上方から下方への連通を遮断する導水部材が設けられ、前記導水部材は、前記外方空間から前記仕切壁部を越えた位置に至る導水路を有していることを特徴とする。
【発明の効果】
【0007】
本発明によれば、雨水等の室外の水が縦ルーバー材を通過して室内側に進入した場合にも、導水部材によって仕切壁部を越えた位置に排出されるため、通気孔を通過する懸念がなくなる。
【図面の簡単な説明】
【0008】
本発明の実施の形態である通気制御装置を適用した換気用カーテンウォールを備える建築物を室外側から見た姿図である。
図1に示した建築物に適用した換気用カーテンウォールの姿図である。
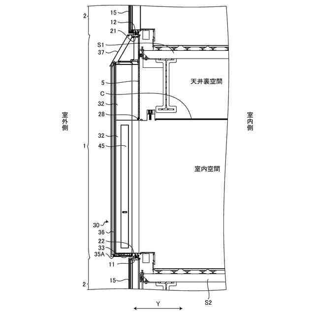
図1に示した建築物をパネルの部分で破断した縦断面図である。
図1に示した建築物を出窓部で破断した縦断面図である。
図1に示した建築物の横断面図である。
図1に示した建築物の換気用カーテンウォールの上方部を室外側から見た斜視図である。
図1に示した建築物の換気用カーテンウォールの上方部を一部破断して室外側から見た斜視図である。
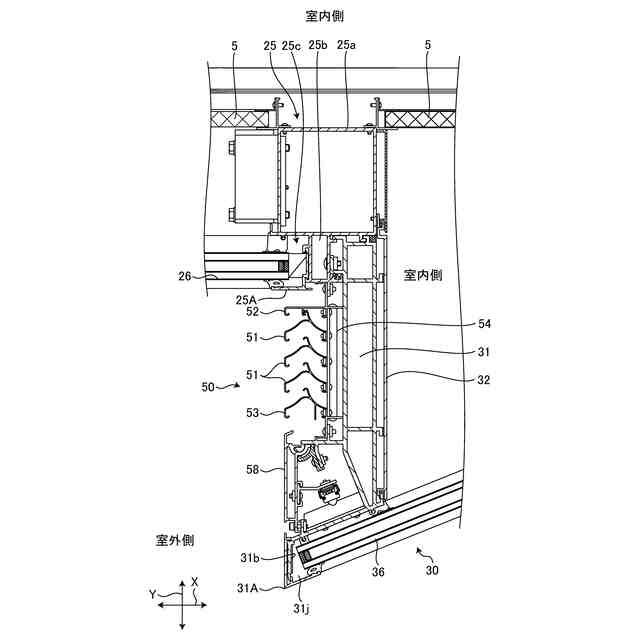
図2に示した換気用カーテンウォールを天井裏空間の位置で破断した要部横断面図である。
図2に示した換気用カーテンウォールを室内空間の位置で破断した要部横断面図である。
図2に示した換気用カーテンウォールに適用する上枠の断面図である。
図2に示した換気用カーテンウォールに適用する下枠をパネルの部分で破断した断面図である。
図2に示した換気用カーテンウォールに適用する左縦枠の断面図である。
図2に示した換気用カーテンウォールに適用する右縦枠の断面図である。
図2に示した換気用カーテンウォールに適用する縦中骨を示すもので、(a)は天井裏空間の位置で破断した断面図、(b)は室内空間の位置で破断した分解断面図である。
図2に示した換気用カーテンウォールに適用する下枠を出窓部で破断した断面図である。
図2に示した換気用カーテンウォールに適用する上枠アタッチメントの断面図である。
図2に示した換気用カーテンウォールをX方向室内側から見た縦断面図である。
図2に示した換気用カーテンウォールをY方向室外側から見た縦断面図である。
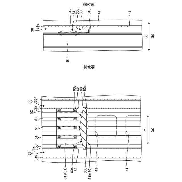
図2に示した換気用カーテンウォールの上方部分に適用した導水部材を示すもので、(a)はX方向室内側から見た拡大縦断面図、(b)はY方向室外側から見た拡大縦断面図である。
図2に示した換気用カーテンウォールの中間部分に適用した導水部材を示すもので、(a)はX方向室内側から見た拡大縦断面図、(b)はY方向室外側から見た拡大縦断面図である。
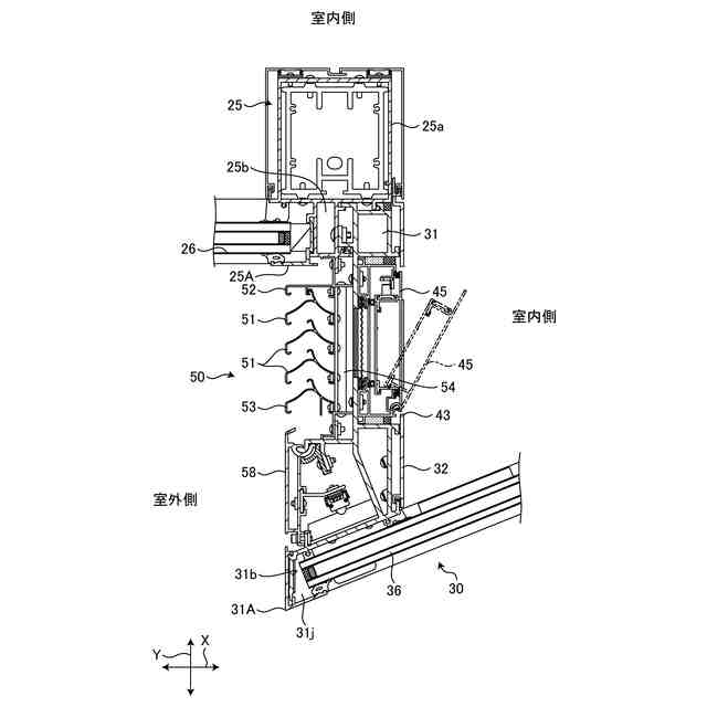
図2に示した換気用カーテンウォールに適用する通気制御装置の断面平面図である。
図2に示した換気用カーテンウォールの通気孔部分を示すもので、(a)は換気制御装置を取り付ける途中の状態の断面平面図、(b)は縦中骨及び中骨アタッチメンチの当接面に通気制御装置の取付壁部を当接させた直後の断面平面図、(c)はネジ部材を螺合して通気制御装置を縦中骨及び中骨アタッチメンチに取り付けた状態の断面平面図である。
【発明を実施するための形態】
【0009】
以下、添付図面を参照しながら本発明に係る通気制御装置の好適な実施の形態について詳細に説明する。
図1~図9は、本発明の実施の形態である通気制御装置を適用した換気用カーテンウォールを示したものである。ここで例示する換気用カーテンウォール1は、標準カーテンウォール2及び分割標準カーテンウォール3と組み合わせて縦横に配列することにより建築物の外壁を構成するものである。建築物は、上層の床スラブS1と下層の床スラブS2との間に天井板材Cを設けることにより、天井板材Cよりも下方に室内空間を構成するとともに、天井板材Cよりも上方に天井裏空間を構成するものである。上述した換気用カーテンウォール1、標準カーテンウォール2、分割標準カーテンウォール3は、上下の床スラブS1,S2の室外側となる部分に配設してある。標準カーテンウォール2は、標準上枠11、標準下枠12、左右の標準縦枠13,14によって構成した枠体10の内部に複層ガラス等の標準パネル15を配設したものである。分割標準カーテンウォール3は、標準上枠11、標準下枠12、左右の標準縦枠13,14によって構成した枠体10に上下に沿うように標準縦中骨16を配設し、それぞれの内部に複層ガラス等の標準パネル15を配設したものである。図には明示していないが、標準上枠11、標準下枠12、標準縦枠13,14、標準縦中骨16は、標準パネル15の板厚方向に沿った寸法が互いにほぼ等しくなるように構成してある。
【0010】
これに対して換気用カーテンウォール1は、上枠21、下枠22、左右の縦枠23,24によって構成した枠体20に上下に沿うように縦中骨25を配設し、縦中骨25の一方側に複層ガラス等のパネル26を配設する一方、縦中骨25の他方側に室外に突出する出窓部30を構成したものである。以下、室外から建築物の外壁面に正対した状態で左側に配置される縦枠(以下、左縦枠23という)と縦中骨25との間にパネル26を有し、右側に配置される縦枠(以下、右縦枠24という)と縦中骨25との間に出窓部30を有した換気用カーテンウォール1の構成について主に説明する。なお、以下においては便宜上、建築物の外壁面に沿った水平方向をX方向、外壁面に直交する水平方向をY方向として説明を行う。すなわち、図示の例では、パネル26はX方向に沿って配設してあり、出窓部30がY方向室外側に突出するように設けてあるものとする。
(【0011】以降は省略されています)
この特許をJ-PlatPat(特許庁公式サイト)で参照する
関連特許
YKK AP株式会社
建具
1か月前
YKK AP株式会社
改装建具
1か月前
YKK AP株式会社
防火ドア
15日前
YKK AP株式会社
採光装置
23日前
YKK AP株式会社
壁パネル
28日前
YKK AP株式会社
通気制御装置
今日
YKK AP株式会社
通気制御装置
今日
YKK AP株式会社
枠体の取付構造
1か月前
YKK AP株式会社
建具および押縁
28日前
YKK AP株式会社
スクリーン用生地
1か月前
YKK AP株式会社
ユニットカーテンウォール
1か月前
YKK AP株式会社
窓枠のシール構造および壁パネル
1か月前
YKK AP株式会社
改装建具及び改装建具の施工方法
16日前
YKK AP株式会社
枠連結構造、建具および壁パネル
29日前
YKK AP株式会社
外付け部品の取付構造および壁パネル
1か月前
YKK AP株式会社
電動開閉遮蔽装置およびその制御方法
1日前
YKK AP株式会社
防水プレートの取付構造および壁パネル
1か月前
株式会社大林組
耐火構造、耐火板支持構造
1か月前
ミサワホーム株式会社
門扉の支持構造及びブラケット
7日前
中国電力株式会社
脚立
3か月前
株式会社ESP
止水板
3か月前
株式会社ナカオ
作業台
2か月前
株式会社ニチベイ
遮蔽装置
1か月前
三協立山株式会社
開口部装置
1か月前
三協立山株式会社
開口部装置
2か月前
三協立山株式会社
開口部装置
2か月前
三協立山株式会社
開口部建材
29日前
三協立山株式会社
開口部建材
29日前
三協立山株式会社
開口部装置
3か月前
三協立山株式会社
開口部装置
3か月前
三協立山株式会社
開口部装置
3か月前
ミサワホーム株式会社
水切り材
3か月前
豊田合成株式会社
調光装置
28日前
株式会社ニチベイ
縦型ブラインド
4か月前
文化シヤッター株式会社
引戸装置
1か月前
不二サッシ株式会社
引違いサッシ
1か月前
続きを見る
他の特許を見る