TOP
|
特許
|
意匠
|
商標
特許ウォッチ
Twitter
他の特許を見る
公開番号
2025177466
公報種別
公開特許公報(A)
公開日
2025-12-05
出願番号
2024084322
出願日
2024-05-23
発明の名称
高炉の操業状態評価方法及び操業方法
出願人
JFEスチール株式会社
代理人
弁理士法人酒井国際特許事務所
主分類
C21B
5/00 20060101AFI20251128BHJP(鉄冶金)
要約
【課題】高炉の径方向における供給熱量の過不足を評価可能な高炉の操業状態評価方法を提供すること。
【解決手段】本発明に係る高炉の操業状態評価方法は、鉱石及びコークスの堆積形状に基づいて鉱石量及びコークス量の径方向分布を算出し、鉱石量及びコークス量の径方向分布に基づいてガス流速の径方向分布を算出し、ガス流速の径方向分布に基づいて酸素モルの通過速度の径方向分布を算出し、鉱石及びコークスの堆積形状と溶銑の生産速度に基づいて鉄モルの通過速度の径方向分布を算出し、酸素モル及び鉄モルの通過速度の径方向分布に基づいて酸素と鉄のモル数の比の径方向分布を算出し、ガス成分の分布状態に基づいてガス成分中のCO及びCO
2
に含まれる酸素と炭素のモル数の比の径方向分布を算出し、酸素と鉄のモル数の比の径方向分布と酸素と炭素のモル数の比の径方向分布をリストモデルに適用することにより、操業時の直接還元率の径方向分布を算出し、算出された直接還元率の径方向分布を用いて径方向における供給熱量の過不足を評価する。
【選択図】図2
特許請求の範囲
【請求項1】
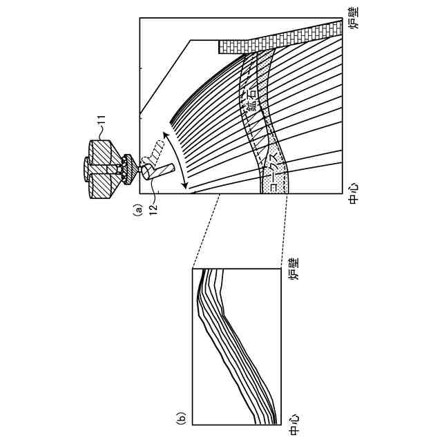
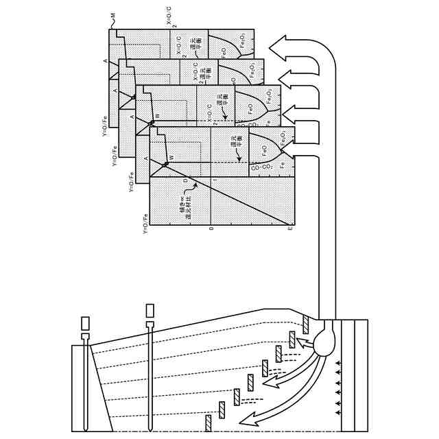
高炉内における鉱石及びコークスの堆積形状に基づいて、鉱石量及びコークス量の径方向分布を算出する第一ステップと、
鉱石量及びコークス量の径方向分布に基づいて、高炉下部から供給されるガスの流速の径方向分布を算出する第二ステップと、
前記ガスの流速の径方向分布に基づいて、酸素モルの通過速度の径方向分布を算出する第三ステップと、
高炉内における鉱石及びコークスの堆積形状と溶銑の生産速度に基づいて、鉄モルの通過速度の径方向分布を算出する第四ステップと、
酸素モル及び鉄モルの通過速度の径方向分布に基づいて、酸素と鉄のモル数の比の径方向分布を算出する第五ステップと、
高炉上部の径方向におけるガス成分の分布状態に基づいて、ガス成分中のCO及びCO
2
に含まれる酸素と炭素のモル数の比の径方向分布を算出する第六ステップと、
酸素と鉄のモル数の比の径方向分布と酸素と炭素のモル数の比の径方向分布をリストモデルに適用することにより、操業時の直接還元率の径方向分布を算出する第七ステップと、
算出された直接還元率の径方向分布を用いて、径方向における供給熱量の過不足を評価する第八ステップと、
を含む、高炉の操業状態評価方法。
続きを表示(約 190 文字)
【請求項2】
前記第八ステップは、鉱石を加熱するために必要な顕熱と直接還元により吸熱される熱量との和をガス顕熱で除算した値に基づいて径方向における供給熱量の過不足を評価するステップを含む、請求項1に記載の高炉の操業状態評価方法。
【請求項3】
請求項1又は2に記載の高炉の操業状態評価方法の評価結果を用いて高炉の操業状態を制御するステップを含む高炉の操業方法。
発明の詳細な説明
【技術分野】
【0001】
本発明は、高炉の操業状態評価方法及び操業方法に関する。
続きを表示(約 1,900 文字)
【背景技術】
【0002】
高炉を安定的に操業するためには、溶銑温度を所定範囲内に維持する必要がある。具体的には、溶銑温度が低位になると、溶銑や溶銑と共に生成されるスラグの粘性が上昇し、溶銑及びスラグを出銑口から排出することが困難になる。一方、溶銑温度が高位になると、溶銑中のSi濃度が上昇し、溶銑の粘性が上昇する。この結果、溶銑が羽口にまとわりつき、羽口が溶損するリスクが上昇する。従って、溶銑温度の変動を抑制する必要がある。このような背景から、高炉下部への供給熱量や溶銑温度を推定する技術が提案されている。例えば特許文献1には、羽口前での燃焼熱と反応吸熱及びヒートロスを評価することにより、羽口前供給熱量を推定して炉下部熱状況の判断指標とする技術が記載されている。また、特許文献2には、ソリューションロスカーボンを含む操業データと溶銑温度の実績値を含む操業データを用いて定常状態の将来の溶銑温度を予測する技術が記載されている。
【先行技術文献】
【特許文献】
【0003】
特開平2-115311号公報
特開2008-144265号公報
【非特許文献】
【0004】
鉄と鋼、1993年、N618-N624頁
【発明の概要】
【発明が解決しようとする課題】
【0005】
しかしながら、従来技術はいずれも高炉全体の熱収支を評価するものであり、高炉の径方向における供給熱量の過不足を評価することはできない。一般に、高炉の径方向には鉱石量やガス流通量にばらつきがあり、鉱石量が多い箇所にガスが十分に流通していない場合、鉱石を十分に加熱できないために、当該箇所へのガス流通量を増やすか鉱石量を減らす操業を行う必要がある。ところが、上述の通り、従来技術では、高炉の径方向における供給熱量の過不足を評価できないために、鉱石を十分に加熱、反応できない箇所を抽出することができない。このため、高炉の径方向における供給熱量の過不足を評価し、低還元材比操業を実現可能な技術の提供が期待されていた。
【0006】
本発明は、上記課題を解決すべくなされたものであり、その目的は、高炉の径方向における供給熱量の過不足を評価可能な高炉の操業状態評価方法を提供することにある。また、本発明の他の目的は、低還元材比操業を実現可能な高炉の操業方法を提供することにある。
【課題を解決するための手段】
【0007】
本発明に係る高炉の操業状態評価方法は、高炉内における鉱石及びコークスの堆積形状に基づいて、鉱石量及びコークス量の径方向分布を算出する第一ステップと、鉱石量及びコークス量の径方向分布に基づいて、高炉下部から供給されるガスの流速の径方向分布を算出する第二ステップと、前記ガスの流速の径方向分布に基づいて、酸素モルの通過速度の径方向分布を算出する第三ステップと、高炉内における鉱石及びコークスの堆積形状と溶銑の生産速度に基づいて、鉄モルの通過速度の径方向分布を算出する第四ステップと、酸素モル及び鉄モルの通過速度の径方向分布に基づいて、酸素と鉄のモル数の比の径方向分布を算出する第五ステップと、高炉上部の径方向におけるガス成分の分布状態に基づいて、ガス成分中のCO及びCO
2
に含まれる酸素と炭素のモル数の比の径方向分布を算出する第六ステップと、酸素と鉄のモル数の比の径方向分布と酸素と炭素のモル数の比の径方向分布をリストモデルに適用することにより、操業時の直接還元率の径方向分布を算出する第七ステップと、算出された直接還元率の径方向分布を用いて、径方向における供給熱量の過不足を評価する第八ステップと、を含む。
【0008】
前記第八ステップは、鉱石を加熱するために必要な顕熱と直接還元により吸熱される熱量との和をガス顕熱で除算した値に基づいて径方向における供給熱量の過不足を評価するステップを含むとよい。
【0009】
本発明に係る高炉の操業方法は、本発明に係る高炉の操業状態評価方法の評価結果を用いて高炉の操業状態を制御するステップを含む。
【発明の効果】
【0010】
本発明に係る高炉の操業状態評価方法によれば、高炉の径方向における供給熱量の過不足を評価することができる。また、本発明に係る高炉の操業方法によれば、高炉の低還元材比操業を実現することができる。
【図面の簡単な説明】
(【0011】以降は省略されています)
この特許をJ-PlatPat(特許庁公式サイト)で参照する
関連特許
個人
バイオ水素製鉄方法
3か月前
日本製鉄株式会社
転炉精錬方法
2か月前
日本製鉄株式会社
転炉精錬方法
8か月前
日本製鉄株式会社
溶鋼の製造方法
4か月前
NTN株式会社
焼入れ方法
1か月前
日本製鉄株式会社
溶鉄の製造方法
3か月前
日本製鉄株式会社
溶鉄の製造方法
1か月前
富士電子工業株式会社
焼入れ装置
4か月前
中外炉工業株式会社
連続式熱処理炉
6か月前
バイオメッド バレー ディスカバリーズ,インコーポレイティド
C21H22Cl2N4O2の結晶形態
5か月前
日本製鉄株式会社
溶鋼の脱窒処理方法
1か月前
日本製鉄株式会社
溶銑の予備処理方法
5か月前
株式会社不二越
熱処理システム
2か月前
中外炉工業株式会社
前処理装置
5か月前
高周波熱錬株式会社
熱処理方法及び熱処理装置
4か月前
高周波熱錬株式会社
熱処理方法及び熱処理装置
1か月前
大同特殊鋼株式会社
浸炭部材の製造方法
5か月前
大同特殊鋼株式会社
熱処理設備
4か月前
JFEスチール株式会社
高炉の原料装入方法
4か月前
東京窯業株式会社
溶鋼処理用の浸漬管
5か月前
バイオメッド バレー ディスカバリーズ,インコーポレイティド
結晶性C21H22Cl2N4O2マロン酸塩
2か月前
JFEスチール株式会社
高炉の原料装入方法
3か月前
日本製鉄株式会社
脱りん方法
6か月前
日本製鉄株式会社
高炉の操業方法
6か月前
日本製鉄株式会社
高炉の操業方法
6か月前
日本製鉄株式会社
高炉の冷却構造
3か月前
日本製鉄株式会社
高炉の操業方法
7か月前
出光興産株式会社
熱処理油
3か月前
富士電子工業株式会社
クランクシャフト支持装置
6か月前
日本製鉄株式会社
鋼の製造方法
7か月前
出光興産株式会社
熱処理油
3か月前
日本製鉄株式会社
鋼の製造方法
3か月前
出光興産株式会社
熱処理油
1か月前
日本製鉄株式会社
鋼の製造方法
5か月前
大同特殊鋼株式会社
雰囲気熱処理炉
3か月前
株式会社神戸製鋼所
出湯用スリーブ
16日前
続きを見る
他の特許を見る