TOP
|
特許
|
意匠
|
商標
特許ウォッチ
Twitter
他の特許を見る
公開番号
2025078604
公報種別
公開特許公報(A)
公開日
2025-05-20
出願番号
2024187896
出願日
2024-10-25
発明の名称
高炉の操業方法
出願人
日本製鉄株式会社
代理人
個人
,
個人
,
個人
主分類
C21B
5/00 20060101AFI20250513BHJP(鉄冶金)
要約
【課題】水素ガスの吹込量の増大又は減少によって変化した溶銑温度を早期に回復する。
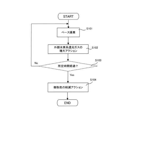
【解決手段】微粉炭及び水素ガスを吹き込み可能な高炉の操業方法において、第1吹込量で微粉炭を吹き込む高炉操業中に、水素ガスの吹込量を第2吹込量から第3吹込量に増大させる第1アクションを開始し、前記第1アクションの開始から所定時間が経過した後に、微粉炭の吹込量を第1吹込量から第4吹込量に減少させる第2アクションを開始する、ことを特徴とする高炉の操業方法。前記所定時間は、少なくとも1時間以上とすることが望ましい。
【選択図】図3
特許請求の範囲
【請求項1】
微粉炭及び水素ガスを吹き込み可能な高炉の操業方法において、
第1吹込量で微粉炭を吹き込む高炉操業中に、水素ガスの吹込量を第2吹込量から第3吹込量に増大させる第1アクションを開始し、
前記第1アクションの開始から所定時間が経過した後に、微粉炭の吹込量を第1吹込量から第4吹込量に減少させる第2アクションを開始する、
ことを特徴とする高炉の操業方法。
続きを表示(約 860 文字)
【請求項2】
前記所定時間は、少なくとも1時間以上である、
ことを特徴とする請求項1に記載の高炉の操業方法。
【請求項3】
微粉炭の吹込量を第1吹込量、水素ガスの吹込量を第2吹込量とする高炉操業をベース操業と定義し、前記ベース操業における融着帯高さを1と定義したとき、
前記第2アクションを開始した後の融着帯高さが1.05以上とならないように、前記所定時間を設定する、
ことを特徴とする請求項1又は2に記載の高炉の操業方法。
【請求項4】
前記所定時間は、6時間未満である、
ことを特徴とする請求項1又は2に記載の高炉の操業方法。
【請求項5】
微粉炭の吹込量を第1吹込量、水素ガスの吹込量を第2吹込量とする高炉操業をベース操業と定義したとき、
前記ベース操業における炉内温度と、前記第1アクションを開始した後の炉内温度が同一となるように、前記第3吹込量を設定するとともに、
前記ベース操業における炉内温度と、前記第2アクションを開始した後の炉内温度が同一となるように、前記第4吹込量を設定し、
前記炉内温度は、炉頂ガス温度又は羽口前温度のいずれかである、
ことを特徴とする請求項1又は2に記載の高炉の操業方法。
【請求項6】
実高炉をシミュレート可能な高炉数学モデルを用いて、前記第3吹込量及び前記第4吹込量を予め把握しておくことを特徴とする請求項5に記載の高炉の操業方法。
【請求項7】
微粉炭及び水素ガスを吹き込み可能な高炉の操業方法において、
第5吹込量で微粉炭を吹き込む高炉操業中に、水素ガスの吹込量を第6吹込量から第7吹込量に減少させる第3アクションを開始し、
前記第3アクションの開始から所定時間が経過した後に、微粉炭の吹込量を第5吹込量から第8吹込量に増大させる第4アクションを開始する、
ことを特徴とする高炉の操業方法。
発明の詳細な説明
【技術分野】
【0001】
本発明は、微粉炭及び水素ガスを吹き込み可能な高炉の操業方法に関する。
続きを表示(約 1,500 文字)
【背景技術】
【0002】
近年、地球温暖化を抑制する観点から、製鉄所内で発生するCO
2
の削減が求められており、高炉操業においても、微粉炭を吹き込む操業方式から、微粉炭及び水素ガスを吹き込む操業方式への置き換えが進んでいる。
かかる置き換えが進むことにより、還元材比が低下して、CO
2
の排出量を減らすことができる。
【0003】
従来の高炉操業方法では、微粉炭の吹込量を削減する削減アクションと、水素ガスの吹込量を増大する増大アクションとが同時に実施されていた。
しかしながら、この操業方法では、削減アクション及び増大アクションの実施後に溶銑温度が大きく低下し、この低下した溶銑温度の回復に時間がかかるという課題があった。
溶銑温度が低下する理由は、水素ガスの増大によって炉内の熱バランスが一時的に崩れるためだと考えられる。
溶銑温度が低下すると、溶銑スラグの排滓性が低下する。
【0004】
また、従来の高炉操業方法では、微粉炭の吹込量を増大する増大アクションと、水素ガスの吹込量を減少する減少アクションとが同時に実施されていた。
しかしながら、この操業方法では、増大アクション及び減少アクションの実施後に溶銑温度が大きく上昇し、この上昇した溶銑温度の回復に時間がかかるという課題があった。
【0005】
特許文献1には、高炉内の状態を計算可能な物理モデルによって予測した溶銑温度が、予め設定された目標範囲に収まるように、微粉炭比の目標値を算出する第一の制御ループと、前記微粉炭比の目標値と現在の微粉炭比の実績値との偏差を補償するための、微粉炭流量の操作量を算出する第二の制御ループと、を実行する溶銑温度の制御方法が開示されている。
【0006】
特許文献2には、水素ガスを80mol%以上含有する高濃度水素含有ガスを、ガスの吹込温度及び吹込量を所定の条件に設定して吹き込むことにより、CO
2
の排出削減を図る高炉の操業方法が開示されている。
特許文献3には、炉下部の熱流比βが0.8以上の条件において、羽口の前方に形成されるレースウェイの先端から炉壁までの距離Dと羽口高さにおける炉体半径Rの比D/Rを所定の範囲にすることで、高い溶銑温度を確保する技術が開示されている。
【先行技術文献】
【特許文献】
【0007】
特許第7107444号
特許第7297091号
特許第7276612号
【非特許文献】
【0008】
西岡,宇治澤,高谷,新日鉄住金技報,第410号(2018)
【発明の概要】
【発明が解決しようとする課題】
【0009】
水素ガスの吹込量の増大又は減少によって変化した溶銑温度を早期に回復する手段が望まれる。
【課題を解決するための手段】
【0010】
上記課題を解決するために、本発明の高炉の操業方法は、一つの観点として、(1)微粉炭及び水素ガスを吹き込み可能な高炉の操業方法において、第1吹込量で微粉炭を吹き込む高炉操業中に、水素ガスの吹込量を第2吹込量から第3吹込量に増大させる第1アクションを開始し、前記第1アクションの開始から所定時間が経過した後に、微粉炭の吹込量を第1吹込量から第4吹込量に減少させる第2アクションを開始する、ことを特徴とする。
(【0011】以降は省略されています)
この特許をJ-PlatPat(特許庁公式サイト)で参照する
関連特許
日本製鉄株式会社
線材
23日前
日本製鉄株式会社
鋼部品
29日前
日本製鉄株式会社
鋼部品
29日前
日本製鉄株式会社
床構造
1か月前
日本製鉄株式会社
床構造
1か月前
日本製鉄株式会社
ボルト
1か月前
日本製鉄株式会社
剪断機
1か月前
日本製鉄株式会社
橋脚構造
27日前
日本製鉄株式会社
溶接継手
21日前
日本製鉄株式会社
構造部材
1か月前
日本製鉄株式会社
鍛鋼ロール
28日前
日本製鉄株式会社
鍛鋼ロール
28日前
日本製鉄株式会社
腐食センサ
27日前
日本製鉄株式会社
耐火構造物
1か月前
日本製鉄株式会社
耐火構造物
1か月前
日本製鉄株式会社
耐火構造物
1か月前
日本製鉄株式会社
学習システム
1か月前
日本製鉄株式会社
管理システム
27日前
日本製鉄株式会社
高Ni合金鋼
27日前
日本製鉄株式会社
高Ni合金鋼
27日前
日本製鉄株式会社
転炉精錬方法
1か月前
日本製鉄株式会社
原油油槽用鋼材
23日前
日本製鉄株式会社
高炉の操業方法
29日前
日本製鉄株式会社
溶鉄の製造方法
29日前
日本製鉄株式会社
溶鉄の製造方法
8日前
日本製鉄株式会社
溶鉄の製造方法
8日前
日本製鉄株式会社
金属材の製造方法
1か月前
日本製鉄株式会社
焼結鉱の製造方法
1か月前
日本製鉄株式会社
スラグの処理方法
28日前
日本製鉄株式会社
鉄鉱石の選別方法
27日前
日本製鉄株式会社
合成梁及び床構造
1か月前
日本製鉄株式会社
鋼矢板の製造方法
28日前
日本製鉄株式会社
鋼の連続鋳造方法
28日前
日本製鉄株式会社
焼結鉱の製造方法
28日前
日本製鉄株式会社
鉄道車両用の台車
1か月前
日本製鉄株式会社
合成梁及び床構造
1か月前
続きを見る
他の特許を見る