TOP
|
特許
|
意匠
|
商標
特許ウォッチ
Twitter
他の特許を見る
公開番号
2025177336
公報種別
公開特許公報(A)
公開日
2025-12-05
出願番号
2024084066
出願日
2024-05-23
発明の名称
処理装置
出願人
株式会社タカゾノ
代理人
弁理士法人深見特許事務所
主分類
A61J
3/00 20060101AFI20251128BHJP(医学または獣医学;衛生学)
要約
【課題】包材における位置の特定精度を向上する。
【解決手段】処理装置は、感熱発色層を有する包材を加熱して感熱発色層の一部を発色させた発色部位を形成する、加熱部材71と、発色部位を検出する検出部50と、包材における発色部位の位置を基準として所定の処理を実行する処理部60と、を備えている。
【選択図】図7
特許請求の範囲
【請求項1】
感熱発色層を有する包材を加熱して前記感熱発色層の一部を発色させた発色部位を形成する、加熱部と、
前記発色部位を検出する検出部と、
前記包材における前記発色部位の位置を基準として所定の処理を実行する処理部と、を備える、処理装置。
続きを表示(約 390 文字)
【請求項2】
前記包材は、長尺シート状であり、
前記処理部は、前記包材の長手方向における前記発色部位の位置を基準として前記処理を実行する、請求項1に記載の処理装置。
【請求項3】
前記包材を用いて包装対象物を収容する収容部を形成する収容部形成部をさらに備え、
前記収容部形成部は、前記加熱部を含み、重ね合わされた2枚の前記包材を前記加熱部が加熱することで前記収容部を形成し、前記発色部位は前記収容部の縁部をなす、請求項1または請求項2に記載の処理装置。
【請求項4】
前記包材を搬送する搬送部をさらに備え、
前記発色部位は、前記包材の搬送方向に延びる、請求項1または請求項2に記載の処理装置。
【請求項5】
前記処理部は前記検出部よりも前記搬送方向の下流側に配置されている、請求項4に記載の処理装置。
発明の詳細な説明
【技術分野】
【0001】
本開示は、処理装置に関する。
続きを表示(約 890 文字)
【背景技術】
【0002】
特開2018-140060号公報(特許文献1)には、錠剤を分包した分包体を撮って撮像データを得る撮像機構と、撮像データから剤像領域を抽出してその中の剤像を計数することにより分包体の中の剤数を自動確認する演算処理装置とを備えた、錠剤計数監査装置が開示されている。
【先行技術文献】
【特許文献】
【0003】
特開2018-140060号公報
【発明の概要】
【発明が解決しようとする課題】
【0004】
包装対象物が一包装ずつ包装された分包袋に対して所定の処理を適切に実行できるようにするために、分包袋における位置を正確に特定することが求められている。
【0005】
本開示では、包材における位置の特定精度を向上するための技術が提案される。
【課題を解決するための手段】
【0006】
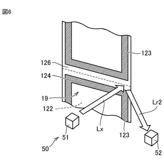
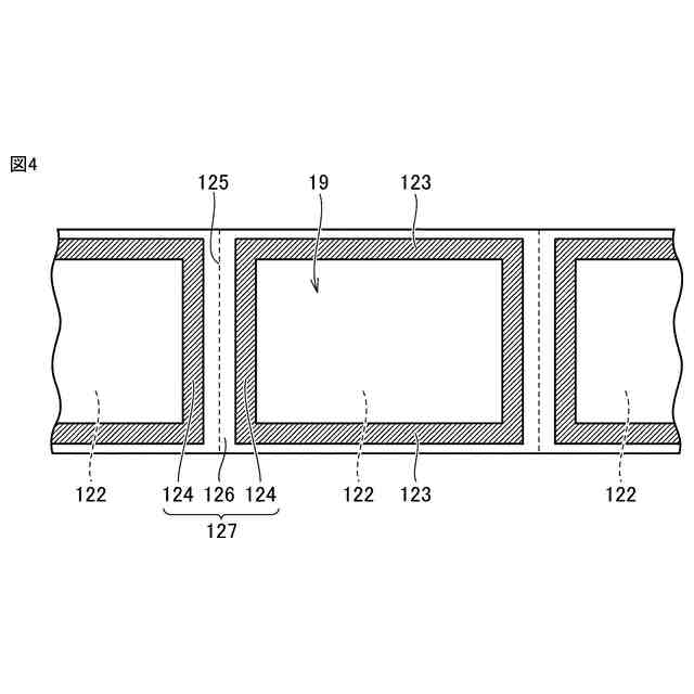
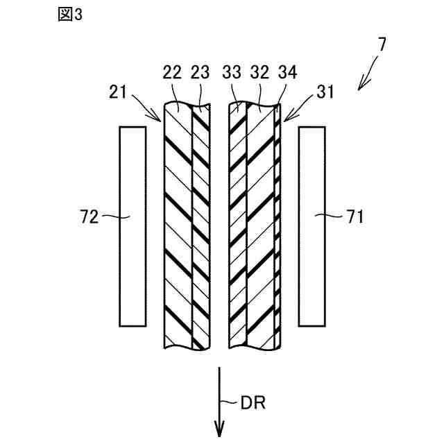
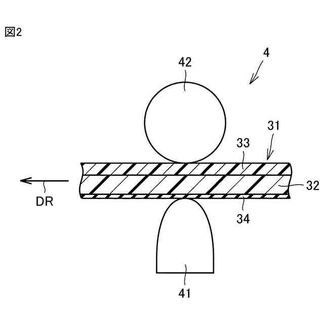
本開示に係る処理装置は、感熱発色層を有する包材を加熱して感熱発色層の一部を発色させた発色部位を形成する、加熱部と、発色部位を検出する検出部と、包材における発色部位の位置を基準として所定の処理を実行する処理部と、を備えている。
【0007】
上記の処理装置において、包材は、長尺シート状であり、処理部は、包材の長手方向における発色部位の位置を基準として所定の処理を実行してもよい。
【0008】
上記の処理装置は、包材を用いて包装対象物を収容する収容部を形成する収容部形成部をさらに備え、収容部形成部は、加熱部を含み、重ね合わされた2枚の包材を加熱部が加熱することで収容部を形成し、発色部位は収容部の縁部をなしてもよい。
【0009】
上記の処理装置は、包材を搬送する搬送部をさらに備え、発色部位は、包材の搬送方向に延びてもよい。
【0010】
上記の処理装置において、処理部は検出部よりも搬送方向の下流側に配置されてもよい。
【発明の効果】
(【0011】以降は省略されています)
この特許をJ-PlatPat(特許庁公式サイト)で参照する
関連特許
個人
貼付剤
1か月前
個人
簡易担架
24日前
個人
足踏み器具
1か月前
個人
腋臭防止剤
24日前
個人
排尿補助器具
1か月前
個人
水分吸収性物品
3日前
個人
胸骨圧迫補助具
3か月前
個人
テスト肺
5日前
個人
汚れ防止シート
2か月前
個人
腰ベルト
1か月前
個人
ウォート指圧法
1か月前
個人
アイマスク装置
3か月前
個人
湿布連続貼り機。
3か月前
個人
介護移乗アシスト
3日前
個人
排尿排便補助器具
26日前
個人
美容セット
1か月前
個人
哺乳瓶冷まし容器
4か月前
個人
性行為補助具
4か月前
個人
治療用酸化防御装置
2か月前
個人
エア誘導コルセット
3か月前
株式会社コーセー
化粧料
1か月前
個人
シリンダ式歩行補助具
4か月前
株式会社ニデック
眼科装置
2か月前
株式会社ニデック
眼科装置
2か月前
個人
精力増強キット
2か月前
個人
手指運動ツール
3か月前
株式会社ダリヤ
毛髪化粧料
2か月前
株式会社ダリヤ
毛髪化粧料
3日前
株式会社ニデック
眼科装置
1か月前
個人
こむら返り応急治し具
1か月前
株式会社ノエビア
皮膚外用剤
2か月前
個人
おりもの吸収通気シート
4か月前
株式会社ノエビア
毛髪化粧料
1か月前
株式会社コーセー
油性化粧料
4か月前
花王株式会社
放散装置
2か月前
株式会社マンダム
乳化化粧料
2か月前
続きを見る
他の特許を見る