TOP
|
特許
|
意匠
|
商標
特許ウォッチ
Twitter
他の特許を見る
10個以上の画像は省略されています。
公開番号
2025176578
公報種別
公開特許公報(A)
公開日
2025-12-04
出願番号
2024082829
出願日
2024-05-21
発明の名称
集約情報作成装置、集約情報作成方法、集約情報作成プログラム、および集約情報作成システム
出願人
コニカミノルタ株式会社
代理人
弁理士法人磯野国際特許商標事務所
主分類
G06F
40/56 20200101AFI20251127BHJP(計算;計数)
要約
【課題】ユーザが着目する内容に沿った集約情報を作成できる集約情報作成装置、集約情報作成方法、集約情報作成プログラム、および集約情報作成システムを提供する。
【解決手段】文章を集約した集約情報を作成する集約情報作成装置5であって、この集約情報作成装置5は、前記文章およびユーザが着目する内容を示した着目内容を取得する51取得部と、学習済みの言語モデル52aを用いて、前記文章から前記着目内容に基づく前記集約情報を作成する作成部52と、を備える。
【選択図】図4
特許請求の範囲
【請求項1】
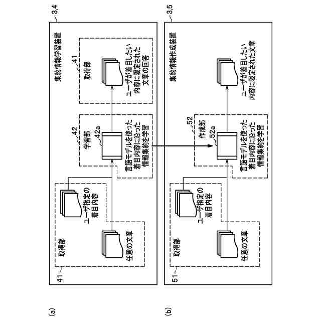
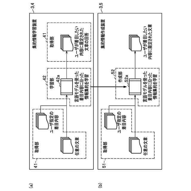
文章を集約した集約情報を作成する集約情報作成装置であって、
前記文章およびユーザが着目する内容を示した着目内容を取得する取得部と、
学習済みの言語モデルを用いて、前記文章から前記着目内容に基づく前記集約情報を作成する作成部と、
を備える集約情報作成装置。
続きを表示(約 980 文字)
【請求項2】
前記文章は、複数の内容を含んだ文を少なくとも有する、請求項1に記載の集約情報作成装置。
【請求項3】
前記学習済みの言語モデルは、入力データとして前記文章および前記着目内容を入力した場合、前記着目内容に限定された集約情報を出力するように学習されている、
請求項1に記載の集約情報作成装置。
【請求項4】
前記言語モデルを学習するための学習データは、前記文章、前記着目内容、および、前記集約情報を関連付けたものであり、
前記集約情報は、前記ユーザが着目する内容に関する文のみで構成され、それ以外の文は除去されている、
請求項1に記載の集約情報作成装置。
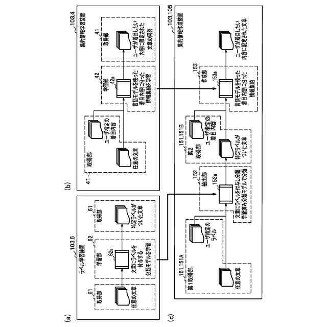
【請求項5】
前記文章から前記着目内容に関連する文を抽出する抽出部をさらに備え、
前記作成部は、前記抽出部の抽出結果から前記着目内容に基づく前記集約情報を作成する、
請求項1に記載の集約情報作成装置。
【請求項6】
内容に応じたラベルが予め決められており、また、前記着目内容と当該着目内容に関連するラベルとの紐付けが事前にされており、
前記抽出部は、前記着目内容に関連するラベルに基づいて、前記文章から当該ラベルに対応する文を抽出した抽出情報を作成する、
請求項5に記載の集約情報作成装置。
【請求項7】
前記抽出部は、学習済みの分類モデルを用いて、前記文章を分解して各文の内容に応じたラベルを付与し、前記着目内容に関連するラベルが付与された文を抽出し、
前記分類モデルは、各文にラベルが付与された学習データを用いた教師あり学習によって学習されている、
請求項6に記載の集約情報作成装置。
【請求項8】
前記取得部は、着目内容として単語または複数の単語の羅列を取得する、請求項1に記載の集約情報作成装置。
【請求項9】
前記取得部は、前記着目内容に関連するラベルを選択した選択結果を取得する、請求項6に記載の集約情報作成装置。
【請求項10】
前記文章は、観察記録、質疑応答および議事録の何れかである、請求項1に記載の集約情報作成装置。
(【請求項11】以降は省略されています)
発明の詳細な説明
【技術分野】
【0001】
本発明は、集約情報作成装置、集約情報作成方法、集約情報作成プログラム、および集約情報作成システムに関する。
続きを表示(約 1,400 文字)
【背景技術】
【0002】
文章を集約する自然言語処理タスクは、Transformerの出現以降、精度の向上が著しい。そのため、自然言語処理の技術を用いて文章の重要情報を抽出して再構築するシステムの導入が、様々な分野や業務で進められている。自然言語処理の技術は、例えば、ニュース記事から見出しや概要を作成することに活用されたり、文章から簡単な説明文を作成することに活用されている。
【0003】
これに関連する技術として、例えば、特許文献1,2に記載された技術が存在する。
特許文献1に記載されたシステムは、商品レビュー文などの要約タスクに関するものである。当該システムは、例えば、入力文をカテゴリ分けする過程、重複する内容などをクラスタリングする過程を通じて要約する。
【0004】
特許文献2に記載されたシステムは、研究論文の要約タスクに関するものである。当該システムは、予め用意したラベルへの分類を学習済み機械学習モデルで実施する。当該システムは、例えば、同じラベルに分類された文章を集め、学習済み機械学習モデルで要約する。
【先行技術文献】
【特許文献】
【0005】
特開2023-053867号公報
特開2023-162306号公報
【発明の概要】
【発明が解決しようとする課題】
【0006】
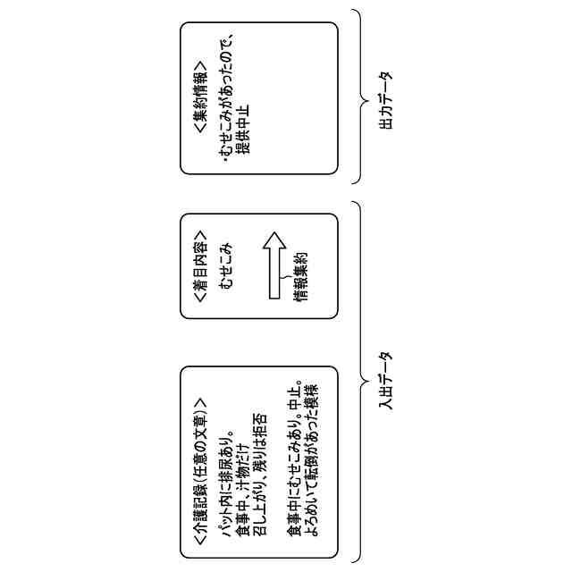
しかし、従来のシステムは、ユーザが着目する内容に沿った結果を出力しない場合があった。例えば、特許文献1のシステムでは、クラスタリングの結果件数が多い内容が出力内容として優先される。そのため、ユーザが本来知りたい情報が出力されない場合がある。
【0007】
また、特許文献2のシステムでは、出力される結果が、学習済み機械学習モデルを作成した際の学習データの内容および形式に固定される。そのため、学習段階では着目していなかったが、新たに着目することになった内容に沿った集約を行うことができない。新たに着目したい内容が発生した場合、要件を再定義するための再学習が必要になる。
また、一つの文に複数の内容が含まれた場合、一つの文に複数のラベルが付与される可能性がある。例えば、一文にラベルA、ラベルBを付与した場合を想定する。この場合、一文の中でどの部分がラベルA、ラベルBに相当するかの判断を行って、一方のラベル(例えば、ラベルA)のみが付与された部分のみを抽出するために文を分割するのは難しい。これにより、本来除きたい内容が要約前文章に含まれてしまい、ユーザが着目する内容に沿った要約を作成できない場合がある。
【0008】
本発明は、前記した問題点に鑑みてなされたものであり、本発明の目的は、ユーザが着目する内容に沿った集約情報を作成できる集約情報作成装置、集約情報作成方法、集約情報作成プログラム、および集約情報作成システムを提供することにある。
【課題を解決するための手段】
【0009】
本発明の上記目的は、下記の手段によって達成される。
【0010】
(1)文章を集約した集約情報を作成する集約情報作成装置であって、前記文章およびユーザが着目する内容を示した着目内容を取得する取得部と、学習済みの言語モデルを用いて、前記文章から前記着目内容に基づく前記集約情報を作成する作成部と、を備える集約情報作成装置。
(【0011】以降は省略されています)
この特許をJ-PlatPat(特許庁公式サイト)で参照する
関連特許
個人
詐欺保険
1か月前
個人
縁伊達ポイン
1か月前
個人
RFタグシート
1か月前
個人
職業自動販売機
20日前
個人
5掛けポイント
27日前
個人
QRコードの彩色
1か月前
個人
ペルソナ認証方式
1か月前
個人
自動調理装置
1か月前
個人
情報処理装置
1か月前
個人
農作物用途分配システム
1か月前
個人
残土処理システム
1か月前
NISSHA株式会社
入力装置
今日
個人
知的財産出願支援システム
1か月前
個人
タッチパネル操作指代替具
1か月前
個人
サービス情報提供システム
22日前
個人
インターネットの利用構造
1か月前
個人
携帯端末障害問合せシステム
1か月前
個人
学習用データ生成装置
1日前
個人
スケジュール調整プログラム
1か月前
株式会社キーエンス
受発注システム
2か月前
株式会社キーエンス
受発注システム
2か月前
個人
エリアガイドナビAIシステム
1か月前
株式会社キーエンス
受発注システム
2か月前
エッグス株式会社
情報処理装置
1か月前
株式会社ケアコム
項目選択装置
1か月前
株式会社ワコム
電子ペン
29日前
トヨタ自動車株式会社
通知装置
1か月前
株式会社ワコム
電子ペン
29日前
キヤノン株式会社
情報処理装置
14日前
キヤノン株式会社
印刷システム
1か月前
キヤノン株式会社
情報処理装置
14日前
個人
帳票自動生成型SaaSシステム
1か月前
キラル株式会社
顧客体験提供システム
2日前
株式会社ケアコム
項目選択装置
1か月前
キヤノン株式会社
表示システム
2か月前
個人
音声・通知・再配達UX制御構造
1か月前
続きを見る
他の特許を見る