TOP
|
特許
|
意匠
|
商標
特許ウォッチ
Twitter
他の特許を見る
公開番号
2025176561
公報種別
公開特許公報(A)
公開日
2025-12-04
出願番号
2024082800
出願日
2024-05-21
発明の名称
ユーザー認証システム及び情報処理装置
出願人
京セラドキュメントソリューションズ株式会社
代理人
弁理士法人TNKアジア国際特許事務所
主分類
G06F
21/45 20130101AFI20251127BHJP(計算;計数)
要約
【課題】ユーザーの識別情報に基づき情報処理装置に対するログインが認証される場合に、煩わしい作業を不要とし、機微な情報の漏洩のおそれを低減しつつ、サーバーによる端末装置の追加登録を可能にする。
【解決手段】ユーザー認証システムSyにおいて、画像形成装置10は、ユーザーの識別情報に基づきログインを認証している場合に、FIDOサーバー30へのアクセス実行指示及びFIDOサーバー30によるサービス利用要求を示すQRコードを生成して出力する。当該QRコードを読み取った第2携帯端末装置52は、FIDOサーバー30にアクセスして、FIDOサーバー30によるサービス利用を要求する。FIDOサーバー30は、当該第2携帯端末装置52をFIDOサーバー30に追加登録する。
【選択図】図1
特許請求の範囲
【請求項1】
サーバーと、
前記サーバーとの間でネットワークを通じてデータ通信を行う情報処理装置と、
前記サーバーと通信する端末装置と、を備え、
前記情報処理装置は、
前記サーバーとの間でデータ通信を行う第1通信部と、
三次元コードを表示又は印刷する三次元コード出力部と、
ユーザーの識別情報及び前記ユーザーからの指示が入力される操作部と、
前記情報処理装置に対するユーザーのログインの認証処理に必要な各ユーザーの識別情報を記憶する記憶部と、
前記操作部に入力された前記ユーザーの識別情報が、前記記憶部に記憶されているユーザーのユーザー識別情報に一致するかに基づき、前記情報処理装置に対するユーザーのログイン認証処理を実行する第1制御部と、を備え、
前記第1制御部は、前記操作部に入力された前記ユーザーの識別情報に基づき前記認証処理により前記ユーザーのログインを承認しているときに、前記サーバーに対する前記端末装置の追加登録の認証処理の実行を要求する指示が前記操作部に入力された場合、ログインを承認したユーザーのユーザー識別情報、前記サーバーへのアクセス実行指示及び前記サーバーによるサービス利用要求を示す三次元コードを生成して、前記三次元コード出力部により前記三次元コードを出力させ、
前記端末装置は、
前記サーバーとの間でデータ通信を行う第2通信部と、
前記三次元コードを読取る三次元コード読取部と、
前記三次元コード読取部によって読み取られた前記三次元コードが示す前記アクセス実行指示に従って、前記第2通信部を通じて前記サーバーにアクセスし、前記端末装置の端末識別情報と、前記ユーザー識別情報と、前記三次元コードによって示される前記サービス利用要求とを前記第2通信部から前記サーバーに送信する第2制御部と、を備え、
前記サーバーは、
前記端末装置との間で通信する第3通信部と、
前記端末装置から送信されてくる前記端末識別情報、前記ユーザー識別情報及び前記サービス利用要求が前記第3通信部で受信されたときに、前記サーバーに前記端末識別情報が示す前記端末装置を、前記ユーザー識別情報が記すユーザーに対応付けて追加登録する第3制御部と、を備えるユーザー認証システム。
続きを表示(約 2,600 文字)
【請求項2】
前記情報処理装置の前記第1制御部は、前記情報処理装置の装置識別情報を更に示す前記三次元コードを作成し、
前記端末装置の前記第2制御部は、前記アクセス実行指示に従って前記第2通信部を通じて前記サーバーにアクセスするとき、前記端末装置の端末識別情報、前記ユーザー識別情報及び前記サービス利用要求に加えて、前記三次元コードが示す前記装置識別情報を前記第2通信部から前記サーバーに送信し、
前記サーバーの第3制御部は、前記3通信部が前記端末識別情報及び前記サービス利用要求に加えて前記装置識別情報を前記端末装置から受信したとき、前記装置識別情報が示す前記情報処理装置に対して、前記端末識別情報が示す前記端末装置の追加を許可するかの指示を求める確認情報を前記第3通信部から送信させ、
前記情報処理装置の前記第1制御部は、前記第1通信部が前記確認情報を受信した後に、前記識別情報が示す前記端末装置の追加を許可する指示が前記操作部に入力されたときは、前記第1通信部から前記サーバーに対して、前記端末装置の追加を許可することを示す許可情報を送信し、
前記サーバーの前記第3制御部は、前記第3通信部が前記許可情報を受信したときに、前記サーバーに前記識別情報が示す前記端末装置を、前記ユーザー識別情報が記すユーザーに対応付けて追加登録する、請求項1に記載のユーザー認証システム。
【請求項3】
サーバーと、前記サーバーとの間でネットワークを通じてデータ通信を行う情報処理装置と、を備え、
前記情報処理装置は、
前記サーバーとの間でデータ通信を行う第1通信部と、
三次元コードを表示又は印刷する三次元コード出力部と、
ユーザーの識別情報及び前記ユーザーからの指示が入力される操作部と、
前記情報処理装置に対するユーザーのログインの認証処理に必要な各ユーザーの識別情報報を記憶する記憶部と、
前記操作部に入力された前記ユーザーの識別情報が、前記記憶部に記憶されているユーザーの識別情報に一致するかに基づき、前記情報処理装置に対するユーザーのログイン認証処理を実行する第1制御部と、を備え、
前記第1制御部は、前記操作部に入力された前記ユーザーの識別情報に基づき前記認証処理により前記ユーザーのログインを承認しているときに、前記サーバーに対する前記端末装置の追加登録の認証処理の実行を要求する指示が前記操作部に入力された場合、ログインを承認したユーザーのユーザー識別情報、前記サーバーへのアクセス実行指示及び前記サーバーによるサービス利用要求を示す三次元コードを生成して、前記三次元コード出力部により前記三次元コードを出力させ、
前記サーバーは、
端末装置との間で通信する第3通信部と、
前記端末装置から送信されてくる、前記端末装置の端末識別情報と、前記三次元コードが示す前記ユーザー識別情報及び前記サービス利用要求とが前記第3通信部で受信されたときに、前記サーバーに前記端末識別情報が示す前記端末装置を追加登録する第3制御部と、を備えるユーザー認証システム。
【請求項4】
前記情報処理装置の前記第1制御部は、前記情報処理装置の装置識別情報を更に示す前記三次元コードを作成し、
前記端末装置の前記第2制御部は、前記アクセス実行指示に従って前記第2通信部を通じて前記サーバーにアクセスするとき、前記端末装置の識別情報、前記ユーザー識別情報及び前記サービス利用要求に加えて、前記三次元コードが示す前記装置識別情報を前記第2通信部から前記サーバーに送信し、
前記サーバーの前記第3制御部は、前記3通信部が前記端末識別情報、前記ユーザー識別情報及び前記サービス利用要求に加えて前記装置識別情報を前記端末装置から受信したとき、前記装置識別情報が示す前記情報処理装置に対して、前記識別情報が示す前記端末装置の追加を許可するかの指示を求める確認情報を前記第3通信部から送信させ、
前記情報処理装置の前記第1制御部は、前記第1通信部が前記確認情報を受信した後に、前記端末識別情報が示す前記端末装置の追加を許可する指示が前記操作部に入力されたときは、前記第1通信部から前記サーバーに対して、前記端末装置の追加を許可することを示す許可情報を送信し、
前記サーバーの前記第3制御部は、前記第3通信部が前記許可情報を受信したときに、前記サーバーに前記端末識別情報が示す前記端末装置を、前記ユーザー識別情報が示すユーザーに対応付けて追加登録する、請求項3に記載のユーザー認証システム。
【請求項5】
サーバーとの間でネットワークを通じてデータ通信を行う情報処理装置であって、
前記サーバーとの間でデータ通信を行う第1通信部と、
三次元コードを表示又は印刷する三次元コード出力部と、
ユーザーの識別情報及び前記ユーザーからの指示が入力される操作部と、
前記情報処理装置に対するユーザーのログインの認証処理に必要な各ユーザーの識別情報報を記憶する記憶部と、
前記操作部に入力された前記ユーザーの識別情報が、前記記憶部に記憶されているユーザーの識別情報に一致するかに基づき、前記情報処理装置に対するユーザーのログイン認証処理を実行する第1制御部と、を備え、
前記第1制御部は、前記操作部に入力された前記ユーザーの識別情報に基づき前記認証処理により前記ユーザーのログインを承認しているときに、前記サーバーに対する前記端末装置の追加登録の認証処理の実行を要求する指示が前記操作部に入力された場合、ログインを承認したユーザーのユーザー識別情報、前記サーバーへのアクセス実行指示及び前記サーバーによるサービス利用要求を示す三次元コードを生成して、前記三次元コード出力部により前記三次元コードを出力させ、
前記第1制御部は、前記三次元コードの出力後であって、前記サーバーへの端末装置の追加を許可するかの指示を求める確認情報を前記サーバーから前記第1通信部が受信した後に、前記端末装置の追加を許可する指示が前記操作部に入力されたときは、前記第1通信部から前記サーバーに対して、前記端末装置の追加を許可することを示す許可情報を送信する、情報処理装置。
発明の詳細な説明
【技術分野】
【0001】
本発明は、ユーザーの認証システムに関し、特に、ユーザーの新たな端末装置をサーバーに登録するための技術に関する。
続きを表示(約 3,900 文字)
【背景技術】
【0002】
インターネットを通じてのデータ通信によるオンラインサービスにおいては、より安全で簡単な例えばFIDO(Fast Identity Online)によるユーザーの認証が普及しつつあり、更にはより利便性を高めるための様々な提案がなされている。
【0003】
例えば、特許文献1に記載の情報処理システムでは、ユーザー端末は、生体認証を用いたFIDOが成功すると、認証サーバーから識別情報(例えばトークン)を受信し、認証サーバーから受信したトークンを情報処理装置へ送信する。情報処理装置は、ユーザー端末から受信したトークンが、認証サーバーがユーザー端末へ送信したトークンであるか否かを、認証サーバーに照会する。情報処理装置がユーザー端末から受信したトークンが、認証サーバーがユーザー端末へ送信したトークンである場合に、情報処理装置は、ユーザーに情報処理装置の使用を許可する(例えば、情報処理装置にログインさせる)。ユーザー端末は、認証サーバーから受信したトークンをユーザー端末内に保持しておき、保持しているトークンを情報処理装置へ送信して、情報処理装置の使用の許可を受けられるようにする。このため、ユーザーは、情報処理装置を使用する度に、生体認証等のユーザー端末における認証を行う必要がない。
【0004】
また、特許文献2に記載の情報処理装置では、各ユーザーの各サービスに関する登録処理を行うことにより、認証器対応情報として、ユーザーID、サービスID、サービス名、認証器ID、及び認証器名(好適にはさらに認証方法)の組み合わせを画像処理装置のメモリーに記憶させる。画像処理装置は、通知の対象となるユーザーのユーザーIDを取得する。画像処理装置の通知処理部は、メモリーに記憶されている認証器対応情報を参照し、取得したユーザーIDに関連付けられているサービスID及び認証器IDを特定する。その上で、通知処理部は、特定したサービスIDが示すサービスと、特定した認証器IDが示す認証器(すなわち当該サービスに対応する認証器)を当該ユーザーに通知する。これにより、複数のサービスのユーザーの認証処理のために、互いに異なる認証器を用いる必要がある場合に、ユーザーが利用可能なサービスへの認証処理に必要な認証器を把握することができる。
【先行技術文献】
【特許文献】
【0005】
特開2022-53955号公報
特開2022-46024号公報
【発明の概要】
【発明が解決しようとする課題】
【0006】
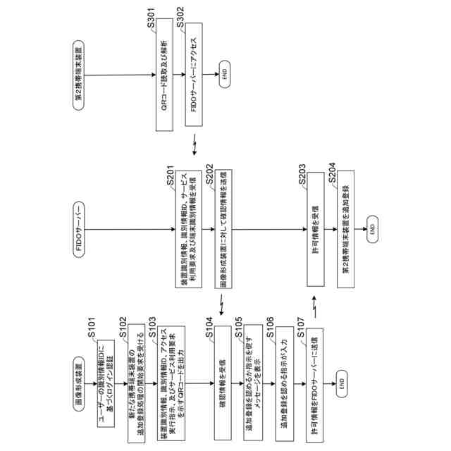
ここで、FIDOで使用されるユーザーの端末がスマートフォンやタブレット等の携帯端末である場合、ユーザーは、携帯端末の紛失等により、別の携帯端末を新たに登録し、同じサービスを継続利用したいことがある。このとき、新しい携帯端末が、その紛失した携帯端末と同じユーザーによって使用されることを証明するには、ユーザーが、ユーザーに係る機微な情報を新たな携帯端末に入力して、機微な情報を新たな携帯端末から送信するなど、煩わしい作業が必要になり、また機微な情報の漏洩の危険性がある。
【0007】
特許文献1及び2のいずれにおいても、携帯端末の紛失等により、別の携帯端末を新たに登録するときに、この新たな登録のための処理を簡単化するための技術的な記載がなく、その示唆もない。
【0008】
本発明は、上記の事情に鑑みなされたものであり、ユーザーの識別情報に基づき情報処理装置に対するログインが認証される場合に、煩わしい作業を不要とし、機微な情報の漏洩のおそれを低減しつつ、サーバーによる端末装置の追加登録を可能にすることを目的とする。
【課題を解決するための手段】
【0009】
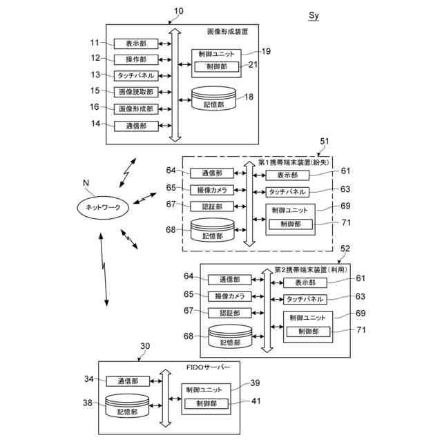
本発明の一局面にかかるユーザー認証システムは、サーバーと、前記サーバーとの間でネットワークを通じてデータ通信を行う情報処理装置と、前記サーバーと通信する端末装置と、を備え、前記情報処理装置は、前記サーバーとの間でデータ通信を行う第1通信部と、三次元コードを表示又は印刷する三次元コード出力部と、ユーザーの識別情報及び前記ユーザーからの指示が入力される操作部と、前記情報処理装置に対するユーザーのログインの認証処理に必要な各ユーザーの識別情報を記憶する記憶部と、前記操作部に入力された前記ユーザーの識別情報が、前記記憶部に記憶されているユーザーのユーザー識別情報に一致するかに基づき、前記情報処理装置に対するユーザーのログイン認証処理を実行する第1制御部と、を備え、前記第1制御部は、前記操作部に入力された前記ユーザーの識別情報に基づき前記認証処理により前記ユーザーのログインを承認しているときに、前記サーバーに対する前記端末装置の追加登録の認証処理の実行を要求する指示が前記操作部に入力された場合、ログインを承認したユーザーのユーザー識別情報、前記サーバーへのアクセス実行指示及び前記サーバーによるサービス利用要求を示す三次元コードを生成して、前記三次元コード出力部により前記三次元コードを出力させ、前記端末装置は、前記サーバーとの間でデータ通信を行う第2通信部と、前記三次元コードを読取る三次元コード読取部と、前記三次元コード読取部によって読み取られた前記三次元コードが示す前記アクセス実行指示に従って、前記第2通信部を通じて前記サーバーにアクセスし、前記端末装置の端末識別情報と、前記ユーザー識別情報と、前記三次元コードによって示される前記サービス利用要求とを前記第2通信部から前記サーバーに送信する第2制御部と、を備え、前記サーバーは、前記端末装置との間で通信する第3通信部と、前記端末装置から送信されてくる前記端末識別情報、前記ユーザー識別情報及び前記サービス利用要求が前記第3通信部で受信されたときに、前記サーバーに前記端末識別情報が示す前記端末装置を、前記ユーザー識別情報が記すユーザーに対応付けて追加登録する第3制御部と、を備えるものである。
【0010】
本発明の一局面にかかるユーザー認証システムは、サーバーと、前記サーバーとの間でネットワークを通じてデータ通信を行う情報処理装置と、を備え、前記情報処理装置は、前記サーバーとの間でデータ通信を行う第1通信部と、三次元コードを表示又は印刷する三次元コード出力部と、ユーザーの識別情報及び前記ユーザーからの指示が入力される操作部と、前記情報処理装置に対するユーザーのログインの認証処理に必要な各ユーザーの識別情報報を記憶する記憶部と、前記操作部に入力された前記ユーザーの識別情報が、前記記憶部に記憶されているユーザーの識別情報に一致するかに基づき、前記情報処理装置に対するユーザーのログイン認証処理を実行する第1制御部と、を備え、前記第1制御部は、前記操作部に入力された前記ユーザーの識別情報に基づき前記認証処理により前記ユーザーのログインを承認しているときに、前記サーバーに対する前記端末装置の追加登録の認証処理の実行を要求する指示が前記操作部に入力された場合、ログインを承認したユーザーのユーザー識別情報、前記サーバーへのアクセス実行指示及び前記サーバーによるサービス利用要求を示す三次元コードを生成して、前記三次元コード出力部により前記三次元コードを出力させ、前記サーバーは、端末装置との間で通信する第3通信部と、前記端末装置から送信されてくる、前記端末装置の端末識別情報と、前記三次元コードが示す前記ユーザー識別情報及び前記サービス利用要求とが前記第3通信部で受信されたときに、前記サーバーに前記端末識別情報が示す前記端末装置を追加登録する第3制御部と、を備えるものである。
本発明の一局面に係る情報処理装置は、サーバーとの間でネットワークを通じてデータ通信を行う情報処理装置であって、前記サーバーとの間でデータ通信を行う第1通信部と、三次元コードを表示又は印刷する三次元コード出力部と、ユーザーの識別情報及び前記ユーザーからの指示が入力される操作部と、前記情報処理装置に対するユーザーのログインの認証処理に必要な各ユーザーの識別情報報を記憶する記憶部と、前記操作部に入力された前記ユーザーの識別情報が、前記記憶部に記憶されているユーザーの識別情報に一致するかに基づき、前記情報処理装置に対するユーザーのログイン認証処理を実行する第1制御部と、を備え、前記第1制御部は、前記操作部に入力された前記ユーザーの識別情報に基づき前記認証処理により前記ユーザーのログインを承認しているときに、前記サーバーに対する前記端末装置の追加登録の認証処理の実行を要求する指示が前記操作部に入力された場合、ログインを承認したユーザーのユーザー識別情報、前記サーバーへのアクセス実行指示及び前記サーバーによるサービス利用要求を示す三次元コードを生成して、前記三次元コード出力部により前記三次元コードを出力させ、前記第1制御部は、前記三次元コードの出力後であって、前記サーバーへの端末装置の追加を許可するかの指示を求める確認情報を前記サーバーから前記第1通信部が受信した後に、前記端末装置の追加を許可する指示が前記操作部に入力されたときは、前記第1通信部から前記サーバーに対して、前記端末装置の追加を許可することを示す許可情報を送信するものである。
【発明の効果】
(【0011】以降は省略されています)
この特許をJ-PlatPat(特許庁公式サイト)で参照する
関連特許
個人
詐欺保険
1か月前
個人
縁伊達ポイン
1か月前
個人
職業自動販売機
20日前
個人
RFタグシート
1か月前
個人
5掛けポイント
27日前
個人
QRコードの彩色
1か月前
個人
ペルソナ認証方式
1か月前
個人
地球保全システム
2か月前
個人
自動調理装置
1か月前
個人
情報処理装置
1か月前
個人
表変換編集支援システム
2か月前
個人
残土処理システム
1か月前
個人
農作物用途分配システム
1か月前
NISSHA株式会社
入力装置
今日
個人
サービス情報提供システム
22日前
個人
知的財産出願支援システム
1か月前
個人
タッチパネル操作指代替具
1か月前
個人
インターネットの利用構造
1か月前
個人
スケジュール調整プログラム
1か月前
個人
携帯端末障害問合せシステム
1か月前
個人
学習用データ生成装置
1日前
個人
パスワード管理支援システム
2か月前
個人
食品レシピ生成システム
2か月前
株式会社キーエンス
受発注システム
2か月前
個人
システム及びプログラム
2か月前
個人
AIキャラクター制御システム
2か月前
株式会社キーエンス
受発注システム
2か月前
個人
エリアガイドナビAIシステム
1か月前
個人
海外支援型農作物活用システム
2か月前
株式会社キーエンス
受発注システム
2か月前
キヤノン株式会社
情報処理装置
28日前
個人
音声・通知・再配達UX制御構造
1か月前
個人
人格進化型対話応答制御システム
2か月前
個人
帳票自動生成型SaaSシステム
1か月前
キヤノン株式会社
印刷システム
1か月前
キラル株式会社
顧客体験提供システム
2日前
続きを見る
他の特許を見る