TOP
|
特許
|
意匠
|
商標
特許ウォッチ
Twitter
他の特許を見る
10個以上の画像は省略されています。
公開番号
2025176545
公報種別
公開特許公報(A)
公開日
2025-12-04
出願番号
2024082776
出願日
2024-05-21
発明の名称
CO2排出量算出支援システムおよびCO2排出量算出支援システムの連携処理方法
出願人
株式会社タンソーマンGX
代理人
個人
主分類
G06Q
50/10 20120101AFI20251127BHJP(計算;計数)
要約
【課題】グループ単位または拠点単位でSCOPE3に適応したCO2排出量を連携した指標として算出すること。
【解決手段】CO2排出量算出支援システムであって、サーバ装置1は、CO2情報データベース14に登録された連携管理登録フォームに対して親企業を登録する親登録部16-1と、連携管理登録フォームに登録された親企業に連携する子企業を登録する子登録部16-2と、CO2情報データベース14に登録された親企業、子企業の連携態様を表示する連携企業共有一覧画面を編集する編集部16-3と、複数の親データ端末、複数の子データ端末に編集された連携企業共有一覧画面を介して連携登録サービスを提供するサービス部16-4を備える。
【選択図】図2
特許請求の範囲
【請求項1】
所定の通信媒体を介して、各企業のGHG担当者が操作する複数のデータ端末からなるデータ端末集合体と、前記データ端末集合体に対してCO2排出量を算出するサービスを提供するプラットフォームをクラウド上で公開するサーバ装置とが通信可能なCO2排出量算出支援システムであって、
前記サーバ装置は、
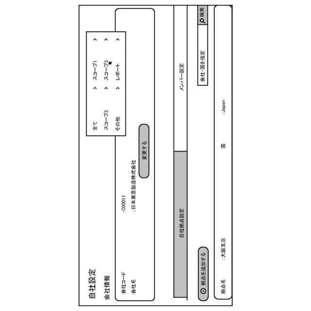
前記データ端末集合体のいずれかのデータ端末から前記プラットフォームで開示される連携管理登録フォームに対して入力される自社企業を識別する識別情報を記憶して管理するデータベースと、
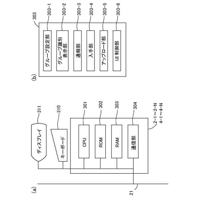
前記データベースに登録された前記連携管理登録フォームに対して親企業を登録する親登録手段と、
前記連携管理登録フォームに登録された親企業に連携する子企業を登録する子登録手段と、
前記データベースに登録された前記親企業、前記子企業の連携態様を表示する連携企業共有一覧画面を編集する編集手段と、
前記親企業のデータ端末、前記子企業のデータ端末に編集された前記連携企業共有一覧画面を介して連携登録サービスを提供するサービス手段と、を備えることを特徴とするCO2排出量算出支援システム。
続きを表示(約 1,200 文字)
【請求項2】
前記子企業または前記親企業が操作する各データ端末は、
前記プラットフォームを介して、前記連携企業共有一覧画面を取得して前記子企業または前記親企業が利用するCO2排出設定項目を入力する項目入力手段を備えることを特徴とする請求項1に記載のCO2排出量算出支援システム。
【請求項3】
前記親企業が操作する各データ端末は、
前記データベースに登録された前記連携企業共有一覧画面に登録された前記子企業を選択することで形成されるグループを設定するグループ設定手段と、
前記グループ設定手段に設定されたいずれかのグループが選択されることに従い、グループ一覧を識別して表示するグループ識別表示手段と、
を備えることを特徴とする請求項1に記載のCO2排出量算出支援システム。
【請求項4】
前記親企業が操作するいずれかのデータ端末は、
前記連携企業共有一覧画面で選択される連携する前記子企業のデータ端末に対して所定の連絡事項を通報する通報手段を備えることを特徴とする請求項1に記載のCO2排出量算出支援システム。
【請求項5】
前記サーバ装置は、
前記親企業または前記子企業が操作するいずれかのデータ端末からのCO2排出量算出のリクエストを受けて、SCOPE1~3に対応づけた排出係数を用いて連携する企業全体のCO2排出量を算出する算出手段と、
前記リクエストに対して前記算出手段が算出した企業全体のCO2排出量を前記連携企業共有一覧画面に反映させて応答する応答手段と、
を備えることを特徴とする請求項1に記載のCO2排出量算出支援システム。
【請求項6】
所定の通信媒体を介して、各企業のGHG担当者が操作する複数のデータ端末からなるデータ端末集合体と、前記データ端末集合体に対してCO2排出量を算出するサービスを提供するプラットフォームをクラウド上で公開するサーバ装置とが通信可能なCO2排出量算出支援システムの連携処理方法であって、
前記サーバ装置は、
前記データ端末集合体のいずれかのデータ端末から前記プラットフォームで開示される連携管理登録フォームに対して入力される自社企業を識別する識別情報を記憶して管理するデータベースを備え、
前記データベースに登録された前記連携管理登録フォームに対して親企業を登録する親登録ステップと、
前記連携管理登録フォームに登録された親企業に連携する子企業を登録する子登録ステップと、
前記データベースに登録された前記親企業、前記子企業の連携態様を表示する連携企業共有一覧画面を編集する編集ステップと、
前記親企業のデータ端末、前記子企業のデータ端末に編集された前記連携企業共有一覧画面を介して連携登録サービスを提供するサービスステップと、
を備えることを特徴とするCO2排出量算出支援システムの連携処理方法。
発明の詳細な説明
【技術分野】
【0001】
本発明は、所定の通信媒体を介して、各企業の各データ端末とサーバ装置とがCO2排出量を算出するサービスを提供するプラットフォームを介して接続して、各企業間が連携してCO2排出量の算出処理を支援するCO2排出量算出支援システムおよびCO2排出量算出支援システムの連携処理方法に関するものである。
続きを表示(約 1,800 文字)
【背景技術】
【0002】
本出願人は、本出願に先立ち、商品やサービスの提供に際して、各企業から取得する会計データを用いて、消費されるCO2排出量を導出するとともに、各商品やサービスの提供を仲介するECサーバ上のECページ上に各商品または各サービスに合わせたCFPを公開して、消費者に各企業の製造過程で排出されたCO2排出量を数値化して明示することでカーボンニュートラル活動への関心を深める商取引を支援するサービスを提供できるCO2排出量算出支援システムを出願している。一方、この種のデータ処理を支援するシステムとして、下記特許文献1が公開されている。
【0003】
この特許文献1では、複数の企業が関わるCO2排出量算出処理において、バイヤーとサプライヤーとが異なる仕様(複数の算出パラメータ)でCO2排出量算出処理を行う負担を改善するため、バイヤーが策定した算出用仕様画面をサプライヤーに提示して、簡単な操作でバイヤーとサプライヤーとが連携することで精度の高いCO2排出量算出処理を行える構成が記載されている。
【先行技術文献】
【特許文献】
【0004】
特許第7315191号公報
【発明の概要】
【発明が解決しようとする課題】
【0005】
しかしながら、特許文献1では、1つの登録企業をベースとして、SCOPE3排出量の算定処理を実行できるが、1つの製造業を営む企業を基準として、親企業にブランチする複数の子企業が連携して製品を製造するように複雑な支援関係が組織化されている場合には、サーバ装置のデータベースで管理すべき親企業と、子企業との関係が密に連携されていなため、企業単位、拠点単位にしたがってCO2排出量を算出することができないとの課題が指摘されていた。
【0006】
なお、親企業にブランチする複数の子企業が連携するための手法も確立されていないため、既存のシステムを単純に連動させるだけでは、連携する企業をベースとして、客観的なCO2排出量を視覚化するサービスを展開することが難しいとの課題も指摘されていた。
【0007】
また、連携する企業が離脱する際にも、登録中の企業におけるCO2排出量も異なる指標を示すこととなるが、客観的なCO2排出量の変動に対してシステムの構成変更に対して融通性が低いとの指摘がなされていた。
【0008】
本発明は、上記課題を解決するためになされたもので、本発明は、親企業と、これに連携する複数の子企業とが連携して製品を製造するような製造環境においても、グループ単位または拠点単位でSCOPE3に適応したCO2排出量を連携した指標として算出することができるCO2排出量算出支援システムおよびCO2排出量算出支援システムの連携処理方法を提供することである。
【課題を解決するための手段】
【0009】
所定の通信媒体を介して、各企業のGHG担当者が操作する複数のデータ端末からなるデータ端末集合体と、前記データ端末集合体に対してCO2排出量を算出するサービスを提供するプラットフォームをクラウド上で公開するサーバ装置とが通信可能なCO2排出量算出支援システムであって、前記サーバ装置は、前記データ端末集合体のいずれかのデータ端末から前記プラットフォームで開示される連携管理登録フォームに対して入力される自社企業を識別する識別情報を記憶して管理するデータベースと、前記データベースに登録された前記連携管理登録フォームに対して親企業を登録する親登録手段と、前記連携管理登録フォームに登録された親企業に連携する子企業を登録する子登録手段と、前記データベースに登録された前記親企業、前記子企業の連携態様を表示する連携企業共有一覧画面を編集する編集手段と、前記親企業のデータ端末、前記子企業のデータ端末に編集された前記連携企業共有一覧画面を介して連携登録サービスを提供するサービス手段と、を備えることを特徴とする。
【発明の効果】
【0010】
本発明によれば、親企業と、これに連携する複数の子企業とが連携して製品を製造するような製造環境においても、グループ単位または拠点単位でSCOPE3に適応したCO2排出量を連携した指標として算出することができる。
【図面の簡単な説明】
(【0011】以降は省略されています)
この特許をJ-PlatPat(特許庁公式サイト)で参照する
関連特許
株式会社タンソーマンGX
CO2排出量算出支援システムおよびCO2排出量算出支援システムの連携処理方法
今日
個人
詐欺保険
1か月前
個人
縁伊達ポイン
1か月前
個人
職業自動販売機
20日前
個人
RFタグシート
1か月前
個人
5掛けポイント
27日前
個人
地球保全システム
2か月前
個人
QRコードの彩色
1か月前
個人
ペルソナ認証方式
1か月前
個人
情報処理装置
1か月前
個人
自動調理装置
1か月前
個人
冷凍食品輸出支援構造
3か月前
個人
為替ポイント伊達夢貯
3か月前
個人
表変換編集支援システム
2か月前
個人
農作物用途分配システム
1か月前
個人
残土処理システム
1か月前
個人
知財出願支援AIシステム
3か月前
個人
インターネットの利用構造
1か月前
NISSHA株式会社
入力装置
今日
個人
知的財産出願支援システム
1か月前
個人
サービス情報提供システム
22日前
個人
タッチパネル操作指代替具
1か月前
個人
パスワード管理支援システム
2か月前
個人
学習用データ生成装置
1日前
個人
スケジュール調整プログラム
1か月前
個人
携帯端末障害問合せシステム
1か月前
個人
行動時間管理システム
2か月前
個人
システム及びプログラム
2か月前
株式会社キーエンス
受発注システム
2か月前
個人
エリアガイドナビAIシステム
1か月前
株式会社キーエンス
受発注システム
2か月前
個人
食品レシピ生成システム
2か月前
個人
AIキャラクター制御システム
2か月前
株式会社キーエンス
受発注システム
2か月前
個人
海外支援型農作物活用システム
2か月前
個人
音声対話型帳票生成支援システム
2か月前
続きを見る
他の特許を見る