TOP
|
特許
|
意匠
|
商標
特許ウォッチ
Twitter
他の特許を見る
10個以上の画像は省略されています。
公開番号
2025176530
公報種別
公開特許公報(A)
公開日
2025-12-04
出願番号
2024082747
出願日
2024-05-21
発明の名称
圧縮機
出願人
コベルコ・コンプレッサ株式会社
代理人
個人
,
個人
,
個人
主分類
F04B
41/00 20060101AFI20251127BHJP(液体用容積形機械;液体または圧縮性流体用ポンプ)
要約
【課題】高い冷却性能を有する圧縮機を提供する。
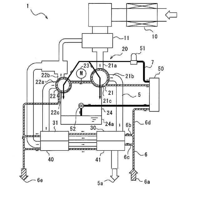
【解決手段】圧縮機1は、空気を吸い込んで圧縮する低圧段圧縮機本体21と、低圧段圧縮機本体21から吐出された圧縮空気を冷却する水冷式のインタークーラ31と、インタークーラ31で冷却された圧縮空気を圧縮する高圧段圧縮機本体22と、高圧段圧縮機本体22から吐出された圧縮空気を冷却する水冷式のアフタークーラ41と、低圧段圧縮機本体21および高圧段圧縮機本体22に供給する油を冷却する水冷式のオイルクーラ50と、冷却水が流れる冷却水流路6とを備える。冷却水流路6は、インタークーラ31、アフタークーラ41、およびオイルクーラが並列配置されており、インタークーラ31、アフタークーラ41、およびオイルクーラ50へ供給される冷却水はそれぞれ互いに干渉しない。
【選択図】図1
特許請求の範囲
【請求項1】
空気を吸い込んで圧縮する低圧段圧縮機本体と、
前記低圧段圧縮機本体から吐出された圧縮空気を冷却する水冷式のインタークーラと、
前記インタークーラで冷却された前記圧縮空気を圧縮する高圧段圧縮機本体と、
前記高圧段圧縮機本体から吐出された前記圧縮空気を冷却する水冷式のアフタークーラと、
前記低圧段圧縮機本体および前記高圧段圧縮機本体に供給する油を冷却する水冷式のオイルクーラと、
冷却水が流れる冷却水流路と
を備え、
前記冷却水流路は、前記インタークーラ、前記アフタークーラ、および前記オイルクーラが並列配置されており、前記インタークーラ、前記アフタークーラ、および前記オイルクーラへ供給される前記冷却水はそれぞれ互いに干渉しない、圧縮機。
続きを表示(約 750 文字)
【請求項2】
前記インタークーラおよび前記アフタークーラは、プレート式熱交換器である、請求項1に記載の圧縮機。
【請求項3】
前記低圧段圧縮機本体から吐出された前記圧縮空気を前記インタークーラよりも先に冷却する水冷式のインター補助クーラと、
前記高圧段圧縮機本体から吐出された前記圧縮空気を前記アフタークーラよりも先に冷却する水冷式のアフター補助クーラと
をさらに備える、請求項1に記載の圧縮機。
【請求項4】
前記インター補助クーラは、前記冷却水流路において、前記インタークーラの上流に配置され、
前記アフター補助クーラは、前記冷却水流路において、前記アフタークーラの上流に配置されている、請求項3に記載の圧縮機。
【請求項5】
前記インター補助クーラおよび前記アフター補助クーラは、プレート式熱交換器である、請求項3に記載の圧縮機。
【請求項6】
前記インター補助クーラは、前記圧縮空気が通過する内管と、前記冷却水が通過する外管とを含み、
前記アフター補助クーラは、前記圧縮空気が通過する内管と、前記冷却水が通過する外管とを含む、請求項3に記載の圧縮機。
【請求項7】
前記オイルクーラは、前記冷却水流路において、前記低圧段圧縮機本体の上流に配置されている、請求項1に記載の圧縮機。
【請求項8】
前記高圧段圧縮機本体は、前記冷却水流路において、前記低圧段圧縮機本体の下流に配置されている、請求項1に記載の圧縮機。
【請求項9】
前記低圧段圧縮機本体および前記高圧段圧縮機本体は、オイルフリースクリュ式である、請求項1から8いずれか1項に記載の圧縮機。
発明の詳細な説明
【技術分野】
【0001】
本発明は、圧縮機に関する。
続きを表示(約 1,500 文字)
【背景技術】
【0002】
圧縮機では、低圧段圧縮機本体および高圧段圧縮機本体の2段階で空気を圧縮するものがある。そのような圧縮機では、低圧段圧縮機本体から吐出された圧縮空気を冷却するインタークーラおよび高圧段圧縮機本体から吐出された圧縮空気を冷却するアフタークーラが設けられる。また、低圧段圧縮機本体および高圧段圧縮機本体は、駆動部の潤滑のために油を要するが、当該油を冷却するためのオイルクーラも設けられる。
【0003】
特許文献1には、低圧段圧縮機本体、高圧段圧縮機本体、インタークーラ、アフタークーラ、およびオイルクーラを有する水冷式オイルフリースクリュ圧縮機が開示されている。インタークーラ、アフタークーラ、およびオイルクーラは、水冷式であり、即ち冷却水を利用した熱交換器となっている。
【先行技術文献】
【特許文献】
【0004】
特開2001-153080号公報
【発明の概要】
【発明が解決しようとする課題】
【0005】
特許文献1では、インタークーラ、アフタークーラ、およびオイルクーラが冷却水源に直接接続されていない。特に、アフタークーラやオイルクーラは、インタークーラやその他の構成要素を介して冷却水源に接続されている。従って、アフタークーラやオイルクーラに対してインタークーラを通過後の昇温した冷却水が供給される。よって、冷却性能に改善の余地がある。
【0006】
本発明は、高い冷却性能を有する圧縮機を提供することを課題とする。
【課題を解決するための手段】
【0007】
本発明は、
空気を吸い込んで圧縮する低圧段圧縮機本体と、
前記低圧段圧縮機本体から吐出された圧縮空気を冷却する水冷式のインタークーラと、
前記インタークーラで冷却された前記圧縮空気を圧縮する高圧段圧縮機本体と、
前記高圧段圧縮機本体から吐出された前記圧縮空気を冷却する水冷式のアフタークーラと、
前記低圧段圧縮機本体および前記高圧段圧縮機本体に供給する油を冷却する水冷式のオイルクーラと、
冷却水が流れる冷却水流路と
を備え、
前記冷却水流路は、前記インタークーラ、前記アフタークーラ、および前記オイルクーラが並列配置されており、前記インタークーラ、前記アフタークーラ、および前記オイルクーラへ供給される前記冷却水はそれぞれ互いに干渉しない、圧縮機を提供する。
【0008】
この構成によれば、オイルクーラ、インタークーラ、およびアフタークーラを流れる冷却水がそれぞれ互いに干渉しないため、低温の冷却水を冷却に利用できる。仮に、インタークーラにて昇温した冷却水をアフタークーラやオイルクーラにて二次利用する場合、冷却性能が低下する。従って、オイルクーラ、インタークーラ、およびアフタークーラ間での冷却水の二次利用を抑制することで、高い冷却性能を有する圧縮機を提供できる。特に、インタークーラの冷却性能が圧縮機の性能に影響するため、インタークーラの冷却性能を高くできる。
【0009】
前記インタークーラおよび前記アフタークーラは、プレート式熱交換器であってもよい。
【0010】
この構成によれば、プレート式熱交換器は同じ冷却効率を実現する場合にチューブ式熱交換器等のその他の熱交換器に比べて小型であるため、インタークーラおよびアフタークーラを小型化できる。
(【0011】以降は省略されています)
この特許をJ-PlatPat(特許庁公式サイト)で参照する
関連特許
個人
海流製造装置。
2か月前
株式会社スギノマシン
圧縮機
1か月前
ダイニチ工業株式会社
空調装置
5か月前
株式会社ツインバード
送風装置
2か月前
株式会社ツインバード
送風装置
2か月前
日機装株式会社
遠心ポンプ
1か月前
カヤバ株式会社
電動ポンプ
3か月前
カヤバ株式会社
電動ポンプ
27日前
株式会社不二越
蓄圧装置
4か月前
ビッグボーン株式会社
送風装置
3か月前
株式会社ニクニ
液封式ポンプ装置
6か月前
株式会社ノーリツ
ロータリ圧縮機
3か月前
個人
携帯型扇風機用の送風ノズル
6か月前
株式会社酉島製作所
ポンプ
5か月前
サンデン株式会社
スクロール圧縮機
2か月前
株式会社不二越
油圧ユニット
6か月前
サンデン株式会社
可変容量型圧縮機
1か月前
樫山工業株式会社
真空ポンプ
1か月前
サンデン株式会社
スクロール圧縮機
2か月前
サンデン株式会社
スクロール圧縮機
2か月前
小倉クラッチ株式会社
ルーツブロア
4か月前
株式会社不二越
ベーンポンプ
4か月前
株式会社坂製作所
スクロール圧縮機
5か月前
株式会社ノーリツ
ロータリー圧縮機
5か月前
エドワーズ株式会社
真空ポンプ
2か月前
株式会社島津製作所
真空ポンプ
2か月前
株式会社クボタ
作業機
28日前
株式会社アイシン
ポンプケース
2か月前
株式会社ニクニ
縦型スクリューポンプ
今日
株式会社豊田自動織機
流体機械
3か月前
株式会社チロル
送風機、送風機付衣服
3か月前
株式会社島津製作所
真空ポンプ
3か月前
個人
連結式螺旋翼体及び流体移送装置
6か月前
株式会社コスメック
ピストン型ポンプ
6か月前
株式会社豊田自動織機
電動圧縮機
4か月前
株式会社神戸製鋼所
ターボ圧縮機
6か月前
続きを見る
他の特許を見る