TOP
|
特許
|
意匠
|
商標
特許ウォッチ
Twitter
他の特許を見る
公開番号
2025176365
公報種別
公開特許公報(A)
公開日
2025-12-04
出願番号
2024082461
出願日
2024-05-21
発明の名称
解析装置、解析方法および解析プログラム
出願人
カナデビア株式会社
代理人
弁理士法人 HARAKENZO WORLD PATENT & TRADEMARK
主分類
G16C
60/00 20190101AFI20251127BHJP(特定の用途分野に特に適合した情報通信技術)
要約
【課題】大きな粒子を用いた場合でも、実際の粉粒体層の力学特性をより詳細に表現することを可能とする。
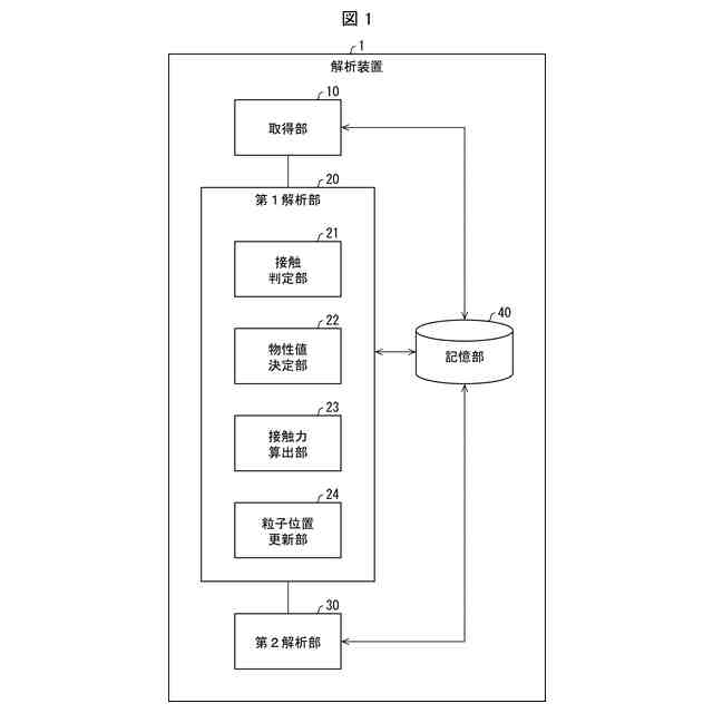
【解決手段】解析装置(1)は、粒子群を異なる密度で模擬した複数の粒子によって定義される多層粒子モデルを用いて、当該多層粒子の挙動を解析する解析装置であって、粒子群を第1密度で模擬した第1粒子の物性値と、粒子群を第1密度よりも密な第2密度で模擬した第2粒子の物性値とを取得する取得部(10)と、第1粒子同士または第2粒子同士のオーバーラップ量と、第1粒子の物性値と、第2粒子の物性値とに基づいて、多層粒子同士の接触力を算出して当該多層粒子の挙動を解析する第1解析部(20)と、を備える。
【選択図】図1
特許請求の範囲
【請求項1】
粒子群を異なる密度で模擬した複数の粒子によって定義される多層粒子モデルを用いて、当該多層粒子の挙動を解析する解析装置であって、
粒子群を第1密度で模擬した第1粒子の物性値と、前記粒子群を前記第1密度よりも密な第2密度で模擬した第2粒子の物性値とを取得する取得部と、
前記第1粒子同士または前記第2粒子同士のオーバーラップ量と、前記第1粒子の物性値と、前記第2粒子の物性値とに基づいて、前記多層粒子同士の接触力を算出して当該多層粒子の挙動を解析する第1解析部と、を備える解析装置。
続きを表示(約 1,900 文字)
【請求項2】
前記第1粒子および前記第2粒子は、それぞれ第1球形粒子および第2球形粒子であって、
前記第1解析部は、前記第1球形粒子の半径と前記第2球形粒子の半径との差と、前記オーバーラップ量との比較によって、前記第1球形粒子の物性値および前記第2球形粒子の物性値を選択的に使用して、前記多層粒子同士の接触力を算出する、請求項1に記載の解析装置。
【請求項3】
前記第1解析部は、
前記オーバーラップ量が前記差よりも小さい場合、前記第1球形粒子の物性値を用いて前記多層粒子同士の接触力を算出し、
前記オーバーラップ量が前記差以上の場合、前記第2球形粒子の物性値を用いて前記多層粒子同士の接触力を算出する、
請求項2に記載の解析装置。
【請求項4】
前記第1球形粒子同士のオーバーラップ量をδn
ij
、前記第1球形粒子の半径をr
1
、前記第2球形粒子の半径をr
2
、前記第1球形粒子の物性値をα、前記第2球形粒子の物性値をβ、前記第1球形粒子の接触力の関数をf、前記第2球形粒子の接触力の関数をgとすると、
前記第1解析部は、
前記オーバーラップ量δn
ij
が(r
1
-r
2
)よりも小さい場合、次式(式4)を用いて前記多層粒子同士の接触力F
C
を算出し、
前記オーバーラップ量δn
ij
が(r
1
-r
2
)以上の場合、次式(式5)を用いて前記多層粒子同士の接触力F
C
を算出する、
請求項3に記載の解析装置。
F
C
=αf ・・・(式4)
F
C
=αf+βg ・・・(式5)
【請求項5】
前記第1球形粒子の法線方向におけるばね係数をk
n1
、前記第2球形粒子の法線方向におけるばね係数をk
n2
とすると、
前記第1解析部は、
前記オーバーラップ量δn
ij
が(r
1
-r
2
)よりも小さい場合、次式(式6)を用いて前記多層粒子同士の法線方向における接触力F
spring_n
を算出し、
前記オーバーラップ量δn
ij
が(r
1
-r
2
)以上の場合、次式(式7)を用いて前記多層粒子同士の法線方向における接触力F
spring_n
を算出する、
請求項4に記載の解析装置。
F
spring_n
=k
n1
δ
nij
・・・(式6)
F
spring_n
=k
n1
(r
1
-r
2
)+k
n2
{δ
nij
-(r
1
-r
2
)} ・・・(式7)
【請求項6】
前記解析装置はさらに、前記第1解析部によって得られた前記多層粒子の位置情報と、前記粒子群を空隙を含まない球形粒子として模擬した第3球形粒子の半径とに基づいて前記粒子群における空隙率を算出し、当該空隙率に基づいて前記粒子群を含んだ流体の浸透流の挙動を解析する第2解析部を備える、請求項1~5のいずれか1項に記載の解析装置。
【請求項7】
粒子群を異なる密度で模擬した複数の粒子によって定義される多層粒子モデルを用いて、当該多層粒子の挙動を解析する解析方法であって、
粒子群を第1密度で模擬した第1粒子の物性値と、前記粒子群を前記第1密度よりも密な第2密度で模擬した第2粒子の物性値とを取得する工程と、
前記第1粒子同士または前記第2粒子同士のオーバーラップ量と、前記第1粒子の物性値と、前記第2粒子の物性値とに基づいて、前記多層粒子同士の接触力を算出して当該多層粒子の挙動を解析する工程と、を含む解析方法。
【請求項8】
請求項1に記載の解析装置としてコンピュータを機能させるための解析プログラムであって、前記取得部および前記第1解析部としてコンピュータを機能させるための解析プログラム。
発明の詳細な説明
【技術分野】
【0001】
本発明は、解析装置、解析方法および解析プログラムに関する。
続きを表示(約 1,500 文字)
【背景技術】
【0002】
DEM(離散要素法)は、粒子状の物体を対象とした計算手法であり、物体または物体群を球形粒子などで表現して各粒子の挙動を追跡する。解析粒子の形状やサイズが実粒子に近いほど、実際の現象を精度よく表現できる。
【0003】
特許文献1には、解析対象粒子及び/又は仮想粒子間の粒子姿勢角度を測定するステップを具備し、解析対象粒子及び/又は仮想粒子について、回転運動を基に立てた運動方程式を解いて個々の粒子の挙動を求めることが開示されている。
【先行技術文献】
【特許文献】
【0004】
特開2011-081530号
【発明の概要】
【発明が解決しようとする課題】
【0005】
DEMは、解析規模が大きくなると、計算負荷低減のためにより大きな粒子群を一つの大きな球形粒子で模擬する。この場合、解析粒子よりも小さな現象を表現することはできない。例えば、密に集合した粒子群を模擬した球形粒子と緩く集合した粒子群を模擬した球形粒子とでは、その力学特性は異なるため、同一の粒子で密な状態と緩い状態を正確に表現することはできない。
【0006】
また、球形粒子は他の物体と点接触するため、比較的密な状態になりやすい。安定して堆積可能な空隙率の範囲は狭く、実際の粉粒体層の空隙率範囲とは大きく異なる。また、大粒子を用いた場合、粒子より小さいスケールの変化は表現が難しく、空隙率が急激に変化する恐れがある。空隙率は、粒状体と流体の相互作用(空力特性)を記述する重要なパラメータであるため、正確な表現が必要である。
【0007】
このような問題点は、上記の特許文献1に記載の離散要素法解析シミュレーション方法を用いたとしても解決することができない。
【0008】
本開示の一態様は、上記従来の課題に鑑みてなされたものであって、大きな粒子を用いた場合でも、実際の粉粒体層の力学特性をより詳細に表現することが可能な技術を提供することを目的とする。
【課題を解決するための手段】
【0009】
上記の課題を解決するために、本発明の一態様に係る解析装置は、粒子群を異なる密度で模擬した複数の粒子によって定義される多層粒子モデルを用いて、当該多層粒子の挙動を解析する解析装置であって、粒子群を第1密度で模擬した第1粒子の物性値と、前記粒子群を前記第1密度よりも密な第2密度で模擬した第2粒子の物性値とを取得する取得部と、前記第1粒子同士または前記第2粒子同士のオーバーラップ量と、前記第1粒子の物性値と、前記第2粒子の物性値とに基づいて、前記多層粒子同士の接触力を算出して当該多層粒子の挙動を解析する第1解析部と、を備える。
【0010】
上記の課題を解決するために、本発明の一態様に係る解析方法は、粒子群を異なる密度で模擬した複数の粒子によって定義される多層粒子モデルを用いて、当該多層粒子の挙動を解析する解析方法であって、粒子群を第1密度で模擬した第1粒子の物性値と、前記粒子群を前記第1密度よりも密な第2密度で模擬した第2粒子の物性値とを取得する工程と、前記第1粒子同士または前記第2粒子同士のオーバーラップ量と、前記第1粒子の物性値と、前記第2粒子の物性値とに基づいて、前記多層粒子同士の接触力を算出して当該多層粒子の挙動を解析する工程と、を含む。
【発明の効果】
(【0011】以降は省略されています)
この特許をJ-PlatPat(特許庁公式サイト)で参照する
関連特許
カナデビア株式会社
ケース電池の製造方法
今日
鹿島建設株式会社
塔状構造物
21日前
カナデビア株式会社
洗掘形状取得方法および洗掘形状取得装置
今日
カナデビア株式会社
解析装置、解析方法および解析プログラム
7日前
カナデビア株式会社
ラミネート電池およびラミネート電池の製造方法
今日
カナデビア株式会社
異常判定システム、異常判定方法及び制御プログラム
29日前
カナデビア株式会社
被分離流体が流れる通路形成用の外管及びこれを用いた分離装置
13日前
カナデビア株式会社
通信システム、評価システム、通信データ評価方法およびプログラム
8日前
個人
医療のAI化
3か月前
個人
支援システム
6か月前
個人
管理装置
6か月前
個人
対話システム
6か月前
個人
通知ぬいぐるみAIシステム
3か月前
キラル株式会社
ヘルスケアシステム
1か月前
キラル株式会社
ヘルスケアシステム
1か月前
株式会社タカゾノ
薬剤秤量装置
4か月前
キヤノン株式会社
情報処理装置
21日前
株式会社タカゾノ
薬剤秤量装置
6か月前
株式会社タカゾノ
情報処理装置
13日前
株式会社タカゾノ
情報処理装置
13日前
株式会社タカゾノ
薬剤秤量装置
1か月前
株式会社タカゾノ
薬剤秤量装置
4か月前
株式会社タカゾノ
薬剤秤量装置
4か月前
株式会社タカゾノ
薬剤秤量装置
4か月前
株式会社タカゾノ
薬剤秤量装置
4か月前
株式会社リコー
投薬管理システム
3か月前
TOTO株式会社
健康管理システム
2か月前
個人
診療の管理装置及び診療システム
4か月前
株式会社ケアコム
看護必要度分析装置
21日前
株式会社サンクスネット
情報提供システム
6か月前
株式会社CureApp
プログラム
5か月前
株式会社サンクスネット
アンケートシステム
13日前
有限会社ビルケ
問診システム及び問診用端末
8日前
株式会社ユニオン
健康関連情報管理装置
22日前
株式会社 137
健康観察管理システム
6か月前
株式会社イシダ
受付端末装置
1か月前
続きを見る
他の特許を見る