TOP
|
特許
|
意匠
|
商標
特許ウォッチ
Twitter
他の特許を見る
10個以上の画像は省略されています。
公開番号
2025176038
公報種別
公開特許公報(A)
公開日
2025-12-03
出願番号
2025138092,2023540145
出願日
2025-08-21,2021-12-21
発明の名称
高度に利用可能なフローのための通信チャネル状態情報の同期
出願人
オラクル・インターナショナル・コーポレイション
代理人
弁理士法人深見特許事務所
主分類
H04L
41/0654 20220101AFI20251126BHJP(電気通信技術)
要約
【課題】複数のホストマシン間の通信チャネル関連の状態情報を維持及び複製する方法、システム、プログラム並びに非一時的なコンピュータ可読記憶媒体を提供する。
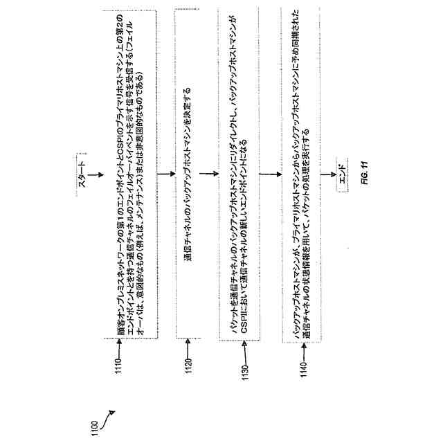
【解決手段】プライマリホストマシンは、顧客オンプレミスネットワーク内の第1のエンドポイントとクラウドサービスプロバイダインフラストラクチャ内のプライマリホストマシン上の第2のエンドポイントとを有する通信チャネルに対して、通信チャネルの状態情報の変更を決定し、通信チャネルのバックアップホストマシンを特定し、状態情報の変更をバックアップホストマシンに複製し、フェイルオーバによってバックアップホストマシンが通信チャネルの第2のエンドポイントになったときに、バックアップホストマシンに複製される。記憶されている状態情報は、バックアップホストマシンによって使用可能である。
【選択図】図11
特許請求の範囲
【請求項1】
方法であって、
顧客オンプレミスネットワーク内の第1のエンドポイントとクラウドサービスプロバイダインフラストラクチャ内のプライマリホストマシン上の第2のエンドポイントとを有する通信チャネルに対して、前記プライマリホストマシンが、前記通信チャネルの状態情報の変更を決定することと、
前記プライマリホストマシンが、前記通信チャネルのバックアップホストマシンを特定することと、
前記プライマリホストマシンが、前記状態情報の前記変更を前記バックアップホストマシンに複製することを含み、フェイルオーバによって前記バックアップホストマシンが前記通信チャネルの前記第2のエンドポイントになったときに、前記バックアップホストマシンに複製され、記憶されている前記状態情報は、前記バックアップホストマシンによって使用可能である、方法。
続きを表示(約 1,800 文字)
【請求項2】
前記通信チャネルの前記状態情報の前記変更を前記バックアップホストマシンに複製することは、
前記プライマリホストマシンが、前記状態情報の前記変更の前記複製がセーフモードで実行されているかを判断することを含み、前記状態情報の前記変更は、前記プライマリホストマシンによって受信されたパケットを解析することによって特定され、
前記状態情報の前記変更の前記複製が前記セーフモードで実行されていると判断した場合、
前記プライマリホストマシンが、前記パケットの処理を中断し、
前記プライマリホストマシンが、前記状態情報の前記変更を前記バックアップホストマシンに通信し、前記バックアップホストマシンは、複製チェーン内の前記プライマリホストマシンの後継ホストマシンであり、
前記プライマリホストマシンが、前記バックアップホストマシンが前記状態情報を複製したことを示す確認応答を受信し、
前記確認応答を受信したことに応答して、前記プライマリホストマシンが、前記パケットの処理を再開することを含む、請求項1に記載の方法。
【請求項3】
前記状態情報の前記変更の前記複製が前記セーフモードで実行されていないと判定した場合、
前記プライマリホストマシンが、前記状態情報の前記変更を前記バックアップホストマシンに通信し、
前記プライマリホストマシンが、前記パケットを処理することをさらに含む、請求項2に記載の方法。
【請求項4】
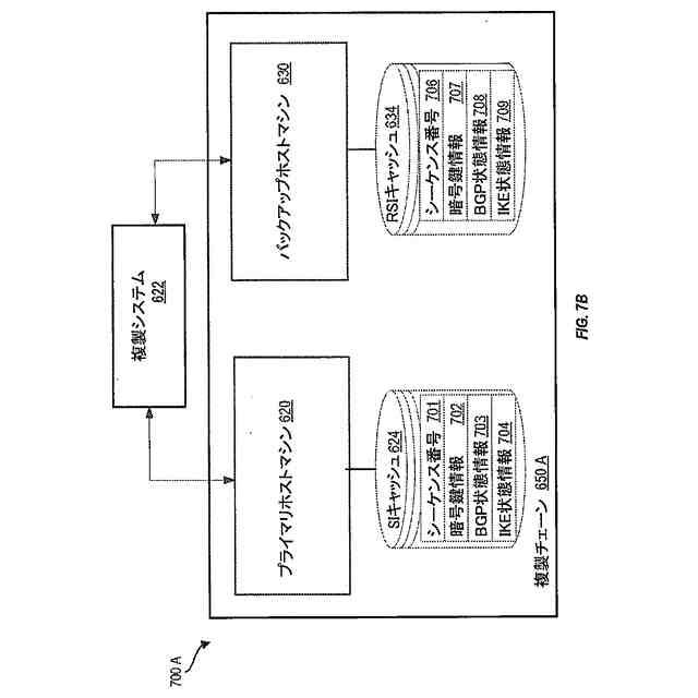
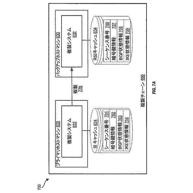
前記通信チャネルの前記状態情報は、シーケンス番号、暗号状態情報、インターネット鍵交換(IKE)状態情報、およびボーダゲートウェイプロトコル(BGP)状態情報のうちの少なくとも1つを含む、請求項1に記載の方法。
【請求項5】
前記状態情報の前記変更の前記複製が前記セーフモードで実行されていると判断するステップは、前記プライマリホストマシンが、前記プライマリホストマシンのダウンタイムが閾値期間内にスケジュールされていると判断することをさらに含む、請求項2に記載の方法。
【請求項6】
前記通信チャネルの前記状態情報の前記変更を決定することは、
前記プライマリホストマシンが、前記通信チャネルの前記状態情報の前記変更をトリガするイベントを検出することと、
前記プライマリホストマシンが、前記イベントに関連するパケットを解析することによって、前記状態情報の前記変更を決定することとをさらに含む、請求項1に記載の方法。
【請求項7】
前記状態情報の前記変更をトリガする前記イベントは、
前記プライマリホストマシンがパケットを受信することと、
前記通信チャネルの接続に関連する暗号化または復号化情報の変更を受信することと、
前記接続に関連するボーダゲートウェイプロトコル(BGP)状態情報の変更を受信することとのうちの少なくとも1つである、請求項6に記載の方法。
【請求項8】
前記通信チャネルの前記バックアップホストマシンを特定することは、
前記プライマリホストマシンが、ディスクバックアップストレージサーバに照会することによって、前記通信チャネルの前記複製チェーンを特定することと、
前記プライマリホストマシンが、前記複製チェーン内の前記通信チャネルの前記バックアップホストマシンを決定することとをさらに含み、
前記プライマリホストマシンは、前記複製チェーンのヘッドであり、
前記バックアップホストマシンは、前記複製チェーン内の前記プライマリホストマシンの後継ホストマシンである、請求項2に記載の方法。
【請求項9】
前記プライマリホストマシンによって受信されたパケットを解析することは、
前記プライマリホストマシンが、前記パケットの一部をハッシュすることによって、ハッシュ結果を生成することと、
前記プライマリホストマシンが、前記ハッシュ結果に基づいて前記通信チャネルの前記状態情報を特定することとをさらに含む、請求項2に記載の方法。
【請求項10】
前記通信チャネルは、インターネットプロトコルセキュリティ(IPSec)トンネルである、請求項1に記載の方法。
(【請求項11】以降は省略されています)
発明の詳細な説明
【技術分野】
【0001】
関連出願の相互参照
本願は、米国特許法第119条(e)に基づいて、2020年12月30日に出願された米国仮出願第63/132036号および2021年12月20日に出願された米国非仮出願第17/556540号の利益および優先権を主張する。前述した出願の全ての内容は、あらゆる目的で参照により本明細書に組み込まれる。
続きを表示(約 3,200 文字)
【背景技術】
【0002】
背景
クラウドベースのサービスに対する需要は、急速に増加し続けている。クラウドサービスという用語は、一般的に、クラウドサービスプロバイダによって提供されたシステムおよびインフラストラクチャ(クラウドインフラストラクチャ)を用いて、(例えば、加入モデルを介して)オンデマンドでユーザまたは顧客に提供されるサービスを指す。通常、クラウドサービスプロバイダのインフラストラクチャを構成するサーバおよびシステムは、顧客自身のオンプレミスサーバおよびシステムとは別個である。したがって、顧客は、サービスのためにハードウェアリソースおよびソフトウェアリソースを別途購入する必要なく、クラウドサービスプロバイダによって提供されているクラウドサービスを利用することができる。クラウドサービスは、様々な異なる種類のサービス、例えば、SaaS(Software-as-a-Service)、PaaS(Platform-as-a-Service)、IaaS(Infrastructure-as-a-Service)を含む。
【0003】
IaaSモデルにおいて、クラウドセンデスプロバイダは、インフラストラクチャリソース(例えば、計算リソース、メモリリソース、サーバなどのネットワーキングリソース、記憶装置)を提供し、顧客は、これらのインフラストラクチャリソースを用いて、自身のリソースおよび仮想ネットワークを構築することができる。IaaSクラウドサービスプロバイダによって提供され、相互に接続された高性能コンピュータ、メモリ、およびネットワークリソースまたはコンポーネントを含むインフラストラクチャは、(基板ネットワークまたはアンダーレイネットワークとも呼ばれる)物理ネットワークを形成する。物理ネットワークは、物理ネットワーク上で(オーバーレイネットワークとも呼ばれる)顧客仮想ネットワークを作成するための基礎を提供する。
【0004】
クラウドサービスプロバイダは、一般的に、広範囲のアプリケーション、サービス、およびAPIを提供する。これによって、顧客(例えば、企業)は、高度に利用可能な分散環境において、仮想ネットワークを効率的に構築し、これらの仮想ネットワークに様々な仮想作業負荷(例えば、仮想マシン、コンテナ、アプリケーション)を配置および管理することができる。顧客は、一般的に、オンプレミスワークロードの管理と同じ方法で、クラウドベースのワークロードを管理することができ、オンプレミスネットワークと同じ制御、隔離、セキュリティおよび予測可能な性能で、高性能のコンピューティング能力およびネットワーク能力の全てのメリットを得ることができる。
【0005】
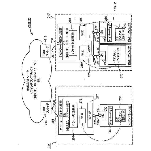
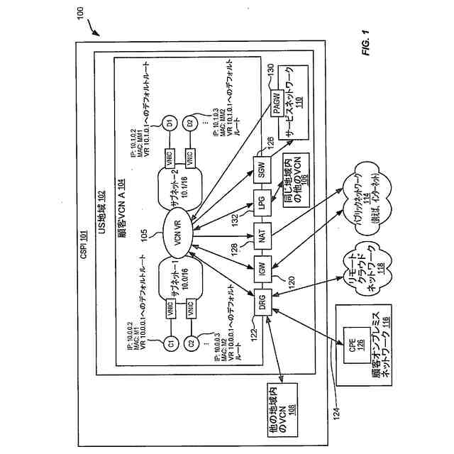
顧客は、一般的に、1つ以上の顧客オンプレミスネットワークと、クラウドサービスプロバイダによって提供されたインフラストラクチャを用いてクラウドに展開された1つ以上の仮想ネットワークとを有する。顧客オンプレミスネットワークは、様々な異なる通信機構を提供しているため、顧客仮想クラウドネットワークと通信することができる。通信を設立するために、これらの通信に参加できるように、顧客オンプレミスネットワーク内の装置または機器を構成する必要がある。例えば、顧客オンプレミスネットワークと、クラウドサービスインフラストラクチャ(CSPI)上でホストされている顧客仮想ネット
ワーク内の別のエンドポイントであるホストマシンとの間の通信チャネルの1つのエンドポイントである顧客構内機器(CPE)を適切に構成する必要がある。CPEエンドポイントとCSPIエンドポイントとの間のトラフィックを安全に処理するために、インターネットプロトコルセキュリティ(IPsec)トンネルを構成する必要がある。
【0006】
顧客は、基礎インフラストラクチャに問題があっても(例えば、ホストマシンがダウンしても、ケーブル配線に問題があっても)、ダウンタイムを最小限に抑えて、クラウドサービスの高度な可用性を期待している。これを実現するために、クラウドサービスプロバイダは、インフラストラクチャに冗長性を組み込んでいる。例えば、ネットワークパケットを処理するホストマシンには、1つ以上のバックアップシステム(バックアップホストマシン)が指定される。これによって、ホストマシンに何らかの問題が発生してパケットを処理できなくなった場合、バックアップホストマシンのうちの1つがパケットの処理を引き受ける。これによって、顧客に対して中断があったとしても、最小限に抑えられる。通常、ホストマシンがダウンすると、当該ホストマシンに関連する通信チャネルもダウンするため、双方向の全てのトラフィックが破棄される。
【0007】
顧客仮想ネットワーク内のエンドポイントまたはホストマシンがダウンした場合、バックアップシステムが新しい通信チャネルをネゴシエートするのに長い時間(例えば、数秒から数分)がかかることがある。顧客仮想クラウドネットワークがエンドポイント故障時にパケットを処理するためのバックアップ通信チャネルを装備している場合、バックアップチャネルを設立し、フェイルオーバ中にパケットをバックアップチャネルに動的にルーティングするという解決策は、非常に複雑であり、特にこの解決策を分散環境の全体に展開する場合に時間がかかる。
【発明の概要】
【0008】
概要
本開示は、一般的に、クラウドサービスの可用性を改善するための技術に関し、より詳しくは、複数のホストマシン間の通信チャネル関連の状態情報を維持および複製するための技術に関する。本明細書は、方法、システム、および1つ以上のプロセッサによって実行可能なプログラム、コードまたは命令を記憶する非一時的なコンピュータ可読記憶媒体を含む様々な実施形態を記載する。
【0009】
本開示の態様は、方法を提供する。この方法は、顧客オンプレミスネットワーク内の第1のエンドポイントとクラウドサービスプロバイダインフラストラクチャ内のプライマリホストマシン上の第2のエンドポイントとを有する通信チャネルに対して、プライマリホストマシンが、通信チャネルの状態情報の変更を決定することと、プライマリホストマシンが、通信チャネルのバックアップホストマシンを特定することと、プライマリホストマシンが、状態情報の変更をバックアップホストマシンに複製することを含み、フェイルオーバによってバックアップホストマシンが通信チャネルの第2のエンドポイントになったときに、バックアップホストマシンに複製され、記憶されている状態情報は、バックアップホストマシンによって使用可能である。
【0010】
本開示の別の態様は、実行されると、コンピュータシステムのプロセッサに方法を実行させるコンピュータ実行可能な命令を記憶する非一時的なコンピュータ可読記憶媒体を提供する。この方法は、顧客オンプレミスネットワーク内の第1のエンドポイントとクラウドサービスプロバイダインフラストラクチャ内のプライマリホストマシン上の第2のエンドポイントとを有する通信チャネルに対して、プライマリホストマシンが、通信チャネルの状態情報の変更を決定することと、プライマリホストマシンが、通信チャネルのバックアップホストマシンを特定することと、プライマリホストマシンが、状態情報の変更をバックアップホストマシンに複製することを含み、フェイルオーバによってバックアップホ
ストマシンが通信チャネルの第2のエンドポイントになったときに、バックアップホストマシンに複製され、記憶されている状態情報は、バックアップホストマシンによって使用可能である。
(【0011】以降は省略されています)
この特許をJ-PlatPat(特許庁公式サイト)で参照する
関連特許
個人
イヤーピース
27日前
個人
イヤーマフ
1か月前
個人
監視カメラシステム
1か月前
キーコム株式会社
光伝送線路
1か月前
個人
スイッチシステム
1か月前
WHISMR合同会社
収音装置
2か月前
サクサ株式会社
中継装置
1か月前
サクサ株式会社
中継装置
1か月前
個人
スキャン式車載用撮像装置
1か月前
キヤノン株式会社
撮像装置
3か月前
アイホン株式会社
電気機器
2か月前
キヤノン株式会社
撮像装置
6日前
サクサ株式会社
無線通信装置
1か月前
株式会社リコー
画像形成装置
3か月前
ヤマハ株式会社
放音制御装置
1か月前
株式会社リコー
画像形成装置
1か月前
キヤノン電子株式会社
画像読取装置
2か月前
個人
ワイヤレスイヤホン対応耳掛け
2か月前
サクサ株式会社
無線通信装置
1か月前
株式会社リコー
画像形成装置
3か月前
個人
映像表示装置、及びARグラス
1か月前
キヤノン電子株式会社
画像読取装置
1か月前
サクサ株式会社
無線システム
1か月前
キヤノン電子株式会社
画像読取装置
27日前
キヤノン電子株式会社
画像読取装置
1か月前
キヤノン電子株式会社
シート搬送装置
27日前
個人
発信機及び発信方法
1か月前
キヤノン株式会社
情報処理装置
14日前
キヤノン株式会社
画像処理装置
1か月前
キヤノン株式会社
撮像システム
2か月前
日本電気株式会社
海底分岐装置
1か月前
日本セラミック株式会社
超音波送受信器
14日前
シャープ株式会社
表示装置
27日前
株式会社NTTドコモ
端末
1か月前
株式会社松平商会
携帯機器カバー
2か月前
株式会社NTTドコモ
端末
1か月前
続きを見る
他の特許を見る