TOP
|
特許
|
意匠
|
商標
特許ウォッチ
Twitter
他の特許を見る
10個以上の画像は省略されています。
公開番号
2025176029
公報種別
公開特許公報(A)
公開日
2025-12-03
出願番号
2025135521,2021155345
出願日
2025-08-15,2021-09-24
発明の名称
メタデータにエラー検出訂正(ECC)ビットを割り当てるためのECCビットの分散
出願人
インテル・コーポレーション
代理人
弁理士法人RYUKA国際特許事務所
主分類
G06F
12/06 20060101AFI20251126BHJP(計算;計数)
要約
【課題】メモリシステムにおける必要なECC(エラー検出訂正)ビット数を低減するメモリコントローラ及びメモリアクセスのためのシステムを提供する。
【解決手段】コンピューティングシステムにおいて、メモリサブシステムは、並列に接続された複数のメモリリソースを含む。メモリサブシステムは、データの部分を複数のサブ部分に分割する。より小さい部分に分割すると、システムが同レベルのECC保護を提供するためにより少ないECC(エラー検出訂正)ビットしか必要なくなる。データの部分は、エラー訂正用のN個のECCビットを含み、サブ部分はそれぞれ、エラー訂正用の(N-M)ECCビットのサブ部分を含む。システムはそれにより、メタデータなどの非ECC目的でMビットのデータを使用できる。
【選択図】図9
特許請求の範囲
【請求項1】
第1のメモリリソースおよび第2のメモリリソースを含むメモリに結合するハードウェア入出力(I/O)インタフェースと、
データを前記第1のメモリリソースの第1のサブ部分および前記第2のメモリリソースの第2のサブ部分として分散する制御ロジックであって、前記データは、前記データにエラー訂正を提供するためのN個のエラー検出訂正(ECC)ビットを含み、前記第1のサブ部分および前記第2のサブ部分はそれぞれ前記第1のサブ部分および前記第2のサブ部分にエラー訂正を提供するためのECCビットを含み、前記第1のサブ部分および前記第2のサブ部分の組み合わされた前記ECCビットの数はN個より少ない、制御ロジックと
を備え、
前記制御ロジックは、非ECCビットを前記第1のサブ部分と前記第2のサブ部分との間に分散する、
メモリコントローラ。
続きを表示(約 1,300 文字)
【請求項2】
前記第1のサブ部分および前記第2のサブ部分はそれぞれ(N-M)/2個の前記ECCビットを含み、
前記制御ロジックは、M個の前記非ECCビットを前記第1のサブ部分と前記第2のサブ部分との間に分散する、
請求項1に記載のメモリコントローラ。
【請求項3】
前記制御ロジックは、前記第1のメモリリソースのデータのバーストチョップを用いて前記第1のサブ部分のアクセスを実行し、前記第2のメモリリソースのデータのバーストチョップを用いて前記第2のサブ部分のアクセスを実行する、
請求項1または2に記載のメモリコントローラ。
【請求項4】
前記第1のメモリリソースは、第1のランクを含み、前記第2のメモリリソースは、第2のランクを含む、
請求項1から3のいずれか一項に記載のメモリコントローラ。
【請求項5】
前記非ECCビットは、メタデータビットを含む、
請求項1から4のいずれか一項に記載のメモリコントローラ。
【請求項6】
第1のメモリリソースおよび第2のメモリリソースを含むメモリと、
前記メモリに結合されたメモリコントローラと
を備え、
前記メモリコントローラは、
データを前記第1のメモリリソースの第1のサブ部分および前記第2のメモリリソースの第2のサブ部分として分散する制御ロジックであって、前記データは、前記データにエラー訂正を提供するためのN個のエラー検出訂正(ECC)ビットを含み、前記第1のサブ部分および前記第2のサブ部分はそれぞれ前記第1のサブ部分および前記第2のサブ部分にエラー訂正を提供するためのECCビットを含み、前記第1のサブ部分および前記第2のサブ部分の組み合わされた前記ECCビットの数はN個より少ない、制御ロジックと
を含み、
前記制御ロジックは、非ECCビットを前記第1のサブ部分と前記第2のサブ部分との間に分散する、
メモリアクセスのためのシステム。
【請求項7】
前記第1のサブ部分および前記第2のサブ部分はそれぞれ(N-M)/2個の前記ECCビットを含み、
前記制御ロジックは、M個の前記非ECCビットを前記第1のサブ部分と前記第2のサブ部分との間に分散する、
請求項6に記載のシステム。
【請求項8】
前記制御ロジックは、前記第1のメモリリソースのデータのバーストチョップを用いて前記第1のサブ部分のアクセスを実行し、前記第2のメモリリソースのデータのバーストチョップを用いて前記第2のサブ部分のアクセスを実行する、
請求項6または7に記載のシステム。
【請求項9】
前記第1のメモリリソースは、第1のランクを含み、前記第2のメモリリソースは、第2のランクを含む、
請求項6から8のいずれか一項に記載のシステム。
【請求項10】
前記非ECCビットは、メタデータビットを含む、
請求項6から9のいずれか一項に記載のシステム。
発明の詳細な説明
【技術分野】
【0001】
説明は一般にメモリシステムに関し、より具体的な説明はエラー訂正ビットおよびデータストレージのシステム管理に関する。
続きを表示(約 1,200 文字)
【背景技術】
【0002】
メモリデバイスの密度と動作速度の増加は、メモリデバイスの製造プロセスのフィーチャサイズの縮小と相まって、メモリデバイスのランタイムエラーの増加を引き起こす傾向がある。メモリシステムは、エラー検出訂正(ECC)を使用して、さもなくばシステム障害を引き起こす可能性のあるエラーを訂正する。DRAM(ダイナミックランダムアクセスメモリ)デバイスは、並列に接続された複数のDRAMデバイスを含むDIMM(デュアルインラインメモリモジュール)などのモジュールで頻繁に用いられる。DIMMを使用するメモリシステムは、多くの場合、DIMMのDRAMデバイス全体の障害を訂正できるシングルデバイスデータ訂正(SDDC)を提供することに期待を持っている。
【0003】
今後のメモリデバイス規格は、増加した内部プリフェッチと長いバースト長を予定しており、メモリデバイスアクセストランザクション(例えば読み出しまたは書き込み)あたりの大きなデータ帯域幅をもたらす。トランザクションあたりの多くのビット数に対し、従来のアーキテクチャでは、ECCのために全ての適用可能なECC帯域幅を使用する。ECCのために使用される全ての追加ビットにより、システムはECC以外のシステムレベルの目的に適用可能なビットが無い。
【図面の簡単な説明】
【0004】
以下の説明は、実装の例として与えられる例示を有する図についての議論を含む。図面は、例として理解されるべきであり、限定として理解されるべきではない。本明細書において用いられる場合、1つまたは複数の例への言及は、本発明の少なくとも1つの実装に含まれる特定の機能、構造または特性の説明と理解されるべきである。本明細書に現れる「一例では」または「代替的な例において」などの語句は、本発明の実装の例を提供し、必ずしも全てが同じ実装を指すわけではない。しかしながら、それらは、必ずしも相互に排他的であるわけでもない。
【0005】
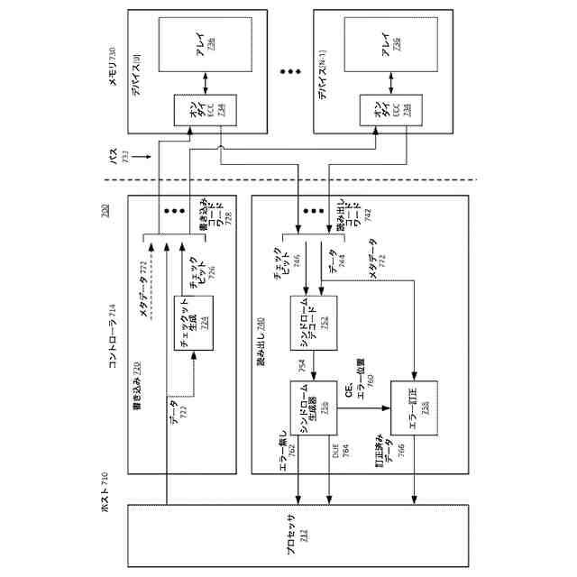
スプリットラインアクセス制御を持つシステムの例のブロック図である。
【0006】
スプリットラインアクセスがメタデータのためにECC容量を選択的に解放することを可能にするシステムの例のブロック図である。
【0007】
バーストチョップを適用するスプリットラインアクセスを備えたシステムの例のブロック図である。
【0008】
デュアルランク10x4メモリモジュールのスプリットラインアクセスのためのシステムアーキテクチャの例のブロック図である。
【0009】
パラレルメモリリソース間でデータを分割してエラー訂正を行う処理の例のフロー図である。
【0010】
スプリットラインECCに基づいて検出および訂正を実行するために行列を適用するためのチェックビット生成ロジックとシンドロームビット生成ロジックの例のブロック図である。
(【0011】以降は省略されています)
この特許をJ-PlatPat(特許庁公式サイト)で参照する
関連特許
個人
詐欺保険
1か月前
個人
縁伊達ポイン
1か月前
個人
RFタグシート
1か月前
個人
5掛けポイント
26日前
個人
職業自動販売機
19日前
個人
ペルソナ認証方式
1か月前
個人
地球保全システム
2か月前
個人
QRコードの彩色
1か月前
個人
自動調理装置
1か月前
個人
情報処理装置
29日前
個人
残土処理システム
1か月前
個人
表変換編集支援システム
2か月前
個人
農作物用途分配システム
1か月前
個人
タッチパネル操作指代替具
1か月前
個人
サービス情報提供システム
21日前
個人
知的財産出願支援システム
1か月前
個人
インターネットの利用構造
1か月前
個人
学習用データ生成装置
今日
個人
行動時間管理システム
2か月前
個人
パスワード管理支援システム
2か月前
個人
スケジュール調整プログラム
1か月前
個人
携帯端末障害問合せシステム
1か月前
個人
AIキャラクター制御システム
2か月前
個人
海外支援型農作物活用システム
2か月前
株式会社キーエンス
受発注システム
2か月前
株式会社キーエンス
受発注システム
2か月前
個人
システム及びプログラム
2か月前
個人
食品レシピ生成システム
2か月前
株式会社キーエンス
受発注システム
2か月前
個人
エリアガイドナビAIシステム
1か月前
キラル株式会社
顧客体験提供システム
1日前
株式会社ワコム
電子ペン
28日前
トヨタ自動車株式会社
通知装置
1か月前
キヤノン株式会社
画像認識装置
13日前
大同特殊鋼株式会社
疵判定方法
2か月前
個人
帳票自動生成型SaaSシステム
1か月前
続きを見る
他の特許を見る