TOP
|
特許
|
意匠
|
商標
特許ウォッチ
Twitter
他の特許を見る
10個以上の画像は省略されています。
公開番号
2025176016
公報種別
公開特許公報(A)
公開日
2025-12-03
出願番号
2025129486,2024004096
出願日
2025-08-01,2015-03-27
発明の名称
TVユーザ対話のためのインテリジェント自動アシスタント
出願人
アップル インコーポレイテッド
,
Apple Inc.
代理人
弁理士法人大塚国際特許事務所
主分類
H04N
21/466 20110101AFI20251126BHJP(電気通信技術)
要約
【課題】仮想アシスタントを使用してテレビユーザ対話を制御するシステム及び方法を提供する。
【解決手段】仮想アシスタントは、テレビ上に表示されたコンテンツを制御するために、テレビセットトップボックスと対話し、マイクロフォンを備えるデバイスから、仮想アシスタントのための発語入力を受信し、発語入力からユーザ意図を判定し、ユーザの意図に従って、テレビ上でメディアを再生させることを含むタスクを実行し、所望の情報を伝達しながら、テレビの、占有スペースを最小量にするように拡大又は縮小することができるインタフェースに、仮想アシスタント対話を表示し、複数のディスプレイと関連付けられた複数のデバイスを使用して、発語入力からユーザ意図を判定し、かつ、ユーザに情報を伝達する。
【選択図】図10
特許請求の範囲
【請求項1】
仮想アシスタントを使用してテレビ対話を制御するための方法であって、前記方法が、
電子デバイスにおいて、
ユーザからの発語入力を受信することと、
前記発語入力に基づいて、メディアコンテンツを判定することと、
第1のサイズを有する第1のユーザインタフェースを表示することであって、前記第1のユーザインタフェースが、前記メディアコンテンツへの1つ以上の選択可能なリンクを含む、ことと、
前記1つ以上の選択可能なリンクのうちの1つの選択を受信することと、前記選択に応じて、前記第1のサイズよりも大きい第2のサイズを有する第2のユーザインタフェースを表示することであって、前記第2のユーザインタフェースが、前記選択と関連付けられた前記メディアコンテンツを含む、ことと、
を含む方法。
続きを表示(約 720 文字)
【請求項2】
前記選択に応じて、前記第1のユーザインタフェースが、前記第2のユーザインタフェースへと拡張する、請求項1に記載の方法。
【請求項3】
前記第1のユーザインタフェースが、再生中のメディアコンテンツ上に重なっている、請求項1に記載の方法。
【請求項4】
前記第2のユーザインタフェースが、再生中のメディアコンテンツ上に重なっている、請求項1に記載の方法。
【請求項5】
前記発語入力がクエリを含み、前記メディアコンテンツが、前記クエリの結果を含む、請求項1に記載の方法。
【請求項6】
前記第1のユーザインタフェースが、前記メディアコンテンツへの前記1つ以上の選択可能なリンク以外に、前記クエリの結果へのリンクを含む、請求項5に記載の方法。
【請求項7】
前記クエリが、天気に関するクエリを含み、前記第1のユーザインタフェースが、前記天気に関する前記クエリと関連付けられたメディアコンテンツへのリンクを含む、請求項5に記載の方法。
【請求項8】
前記クエリが場所を含み、前記天気に関する前記クエリと関連付けられた前記メディアコンテンツへの前記リンクが、前記場所の天気と関連付けられたメディアコンテンツの一部分へのリンクを含む、請求項7に記載の方法。
【請求項9】
前記選択に応じて、前記選択と関連付けられた前記メディアコンテンツを再生することを更に含む、請求項1に記載の方法。
【請求項10】
前記メディアコンテンツが、映画を含む、請求項1に記載の方法。
(【請求項11】以降は省略されています)
発明の詳細な説明
【技術分野】
【0001】
[関連出願の相互参照]
本出願は、2014年6月30日付けで出願された「INTELLIGENT AUTOMATED ASSISTANT FOR TV USER INTERACTIONS」と題する米国特許仮出願第62/019,312号、及び2014年9月26日付けで出願された「INTELLIGENT AUTOMATED ASSISTANT FOR TV USER INTERACTIONS」と題する米国特許出願第14/498,503号に基づく優先権を主張し、これらの出願は、あらゆる目的のためにその全体が参照として本明細書に組み込まれる。
続きを表示(約 2,100 文字)
【0002】
本出願はまた、同時係属中の、2014年6月30日付けで出願された「REAL-TIME DIGITAL ASSISTANT KNOWLEDGE UPDATES」と題する米国特許出願第62/019,292号(代理人書類番号106843097900(P22498USP1))に関し、この出願は、その全体が参照として本明細書に組み込まれる。
[技術分野]
【0003】
本出願は、概して、テレビユーザ対話を制御することに関し、より詳細には、テレビユーザ対話を制御するために、仮想アシスタントに対する発語を処理することに関する。
【背景技術】
【0004】
インテリジェント自動アシスタント(又は仮想アシスタント)は、ユーザと電子デバイスとの間の直観的なインタフェースを提供する。これらのアシスタントは、ユーザが、口頭形態及び/又はテキスト形態の自然言語を使用してデバイス又はシステムと対話することを可能にすることができる。例えば、ユーザは、電子デバイスと関連付けられた仮想アシスタントに、自然言語形態の口頭ユーザ入力を提供することによって、電子デバイスのサービスにアクセスすることができる。仮想アシスタントは、ユーザの意図を推測し、ユーザの意図をタスクへと操作できるようにするために、口頭ユーザ入力に対して自然言語処理を実行することができる。次いで、電子デバイスの1つ以上の機能を実行することによってタスクを実行することができ、いくつかの実施例では、関連する出力を自然言語形態でユーザに戻すことができる。
【0005】
携帯電話(例えば、スマートフォン)、タブレットコンピュータなどが、仮想アシスタント制御から恩恵を受ける一方で、多くの他のユーザデバイスには、そのような便利な制御機構がない。例えば、メディア制御デバイス(例えば、テレビ、テレビセットトップボックス、ケーブルボックス、ゲームデバイス、ストリーミングメディアデバイス、デジタルビデオレコーダなど)とのユーザ対話の学習は、複雑で難しいことがある。更に、そのようなデバイス(例えば、オーバージエアTV、サブスクリプションTVサービス、ストリーミングビデオサービス、ケーブルオンデマンドビデオサービス、ウェブベースのビデオサービスなど)を介して利用可能なソースが増えると、一部のユーザには、消費する所望のメディアコンテンツを発見することが煩雑で、面倒でさえあり得る。その結果、多くのメディア制御デバイスは、ユーザエクスペリエンスを低下させ、多くのユーザを失望させることがある。
【発明の概要】
【0006】
仮想アシスタントを使用してテレビ対話を制御するためのシステム及びプロセスを開示する。1つの実施例では、ユーザからの発語入力を受信することができる。その発語入力に基づいて、メディアコンテンツを判定することができる。第1のサイズを有する第1のユーザインタフェースを表示することができ、第1のユーザインタフェースは、メディアコンテンツに選択可能なリンクを含むことができる。選択可能なリンクのうちの1つの選択を受信することができる。その選択に応じて、第1のサイズよりも大きい第2のサイズを有する第2のユーザインタフェースを表示することができ、第2のユーザインタフェースは、その選択と関連付けられたメディアコンテンツを備える。
【0007】
別の実施例では、第1のディスプレイを有する第1のデバイスにおいて、ユーザからの発語入力を受信することができる。第1のディスプレイ上に表示されたコンテンツに基づいて、この発語入力のユーザの意図を判定することができる。そのユーザ意図に基づいて、メディアコンテンツを判定することができる。第2のディスプレイと関連付けられた第2のデバイス上で、このメディアコンテンツを再生することができる。
【0008】
別の実施例では、ユーザからの発語入力を受信することができ、その発語入力は、テレビディスプレイ上に表示されたコンテンツと関連付けられたクエリを含むことができる。テレビディスプレイ上に表示されたコンテンツのうちの1つ以上とメディアコンテンツの閲覧履歴とに基づいて、クエリのユーザ意図を判定することができる。判定したユーザ意図に基づいて、クエリの結果を表示することができる。
【0009】
別の実施例では、ディスプレイ上にメディアコンテンツを表示することができる。ユーザからの入力を受信することができる。メディアコンテンツ及び/又はメディアコンテンツの閲覧履歴に基づいて、仮想アシスタントクエリを判定することができる。推薦された仮想アシスタントクエリをディスプレイ上に表示することができる。
【図面の簡単な説明】
【0010】
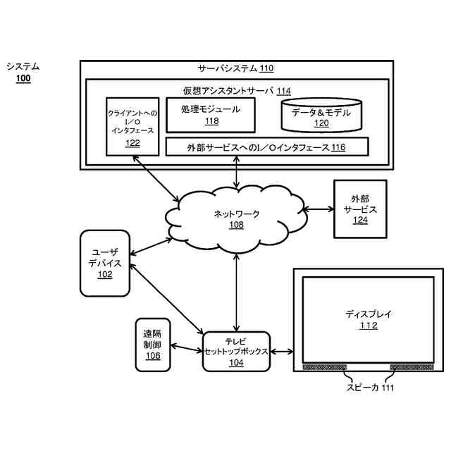
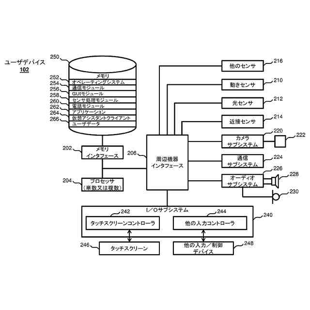
仮想アシスタントを使用してテレビユーザ対話を制御するための例示的なシステムを示す図である。
(【0011】以降は省略されています)
この特許をJ-PlatPat(特許庁公式サイト)で参照する
関連特許
個人
イヤーピース
27日前
個人
イヤーマフ
1か月前
個人
監視カメラシステム
1か月前
個人
スイッチシステム
1か月前
キーコム株式会社
光伝送線路
1か月前
サクサ株式会社
中継装置
1か月前
個人
スキャン式車載用撮像装置
1か月前
サクサ株式会社
中継装置
1か月前
WHISMR合同会社
収音装置
2か月前
アイホン株式会社
電気機器
2か月前
キヤノン株式会社
撮像装置
6日前
ヤマハ株式会社
放音制御装置
1か月前
キヤノン電子株式会社
画像読取装置
2か月前
キヤノン電子株式会社
画像読取装置
1か月前
個人
映像表示装置、及びARグラス
1か月前
サクサ株式会社
無線通信装置
1か月前
サクサ株式会社
無線通信装置
1か月前
サクサ株式会社
無線システム
1か月前
株式会社リコー
画像形成装置
1か月前
個人
ワイヤレスイヤホン対応耳掛け
2か月前
キヤノン電子株式会社
画像読取装置
1か月前
キヤノン電子株式会社
画像読取装置
27日前
日本電気株式会社
海底分岐装置
1か月前
キヤノン電子株式会社
シート搬送装置
27日前
キヤノン株式会社
画像処理装置
1か月前
キヤノン株式会社
撮像システム
2か月前
個人
発信機及び発信方法
1か月前
キヤノン株式会社
情報処理装置
14日前
シャープ株式会社
表示装置
27日前
キヤノン電子株式会社
画像処理システム
1か月前
株式会社松平商会
携帯機器カバー
2か月前
沖電気工業株式会社
画像形成装置
1か月前
シャープ株式会社
表示装置
27日前
株式会社NTTドコモ
端末
1か月前
パテントフレア株式会社
超高速電波通信
3か月前
株式会社NTTドコモ
端末
1か月前
続きを見る
他の特許を見る