TOP
|
特許
|
意匠
|
商標
特許ウォッチ
Twitter
他の特許を見る
公開番号
2025175398
公報種別
公開特許公報(A)
公開日
2025-12-03
出願番号
2024081484
出願日
2024-05-20
発明の名称
溶銑滓液面判定方法、高炉操業方法及び溶銑滓液面判定装置
出願人
JFEスチール株式会社
代理人
個人
,
個人
,
個人
,
個人
主分類
C21B
5/00 20060101AFI20251126BHJP(鉄冶金)
要約
【課題】高炉の炉内の溶銑滓の液面の状態を判定し得る、溶銑滓液面判定方法及び装置を提供する。
【解決手段】溶銑滓液面判定方法は、炉体の周方向に4つ以上の出銑口が設けられる高炉において、溶銑滓の出銑が同じ時期に行われる2つ以上の出銑口を含む第1出銑口群、及び、第1出銑口群による出銑が行われる時期に出銑を行わない2つ以上の出銑口を含む第2出銑口群を特定するステップと、第1出銑口群に含まれる出銑口に対応して炉体の周方向の位置に設けられる2つ以上のレベル計からの第1計測値群、及び、前記第2出銑口群に含まれる出銑口に対応して炉体の周方向の位置に設けられる2つ以上のレベル計からの第2計測値群を取得するステップと、第1計測値群の積である第1指標、及び、第2計測値群の積である第2指標を用いて、溶銑滓の液面の高低割合を算出するステップと、高低割合に基づいて、溶銑滓の液面の状態を判定する判定ステップと、を有する。
【選択図】図8
特許請求の範囲
【請求項1】
炉体の周方向に4つ以上の出銑口が設けられる高炉において、炉内の溶銑滓の液面の状態を判定する溶銑滓液面判定方法であって、
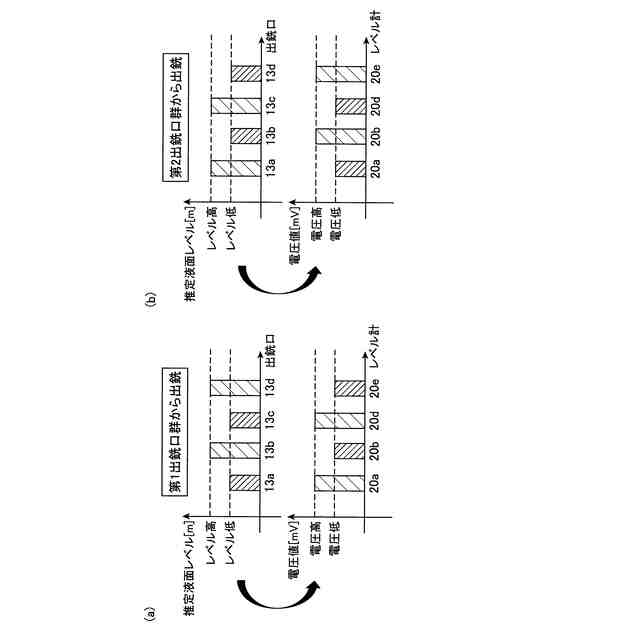
溶銑滓の出銑が同じ時期に行われる2つ以上の出銑口を含む第1出銑口群、及び、前記第1出銑口群による出銑が行われる時期に出銑を行わない2つ以上の出銑口を含む第2出銑口群を特定する特定ステップと、
前記第1出銑口群に含まれる出銑口に対応して前記炉体の周方向の位置に設けられる2つ以上のレベル計からの第1計測値群、及び、前記第2出銑口群に含まれる出銑口に対応して前記炉体の周方向の位置に設けられる2つ以上のレベル計からの第2計測値群を取得する取得ステップと、
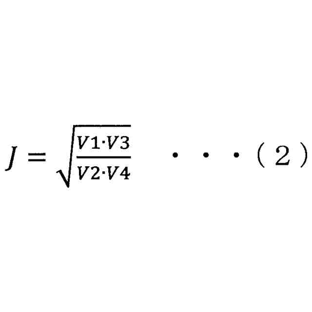
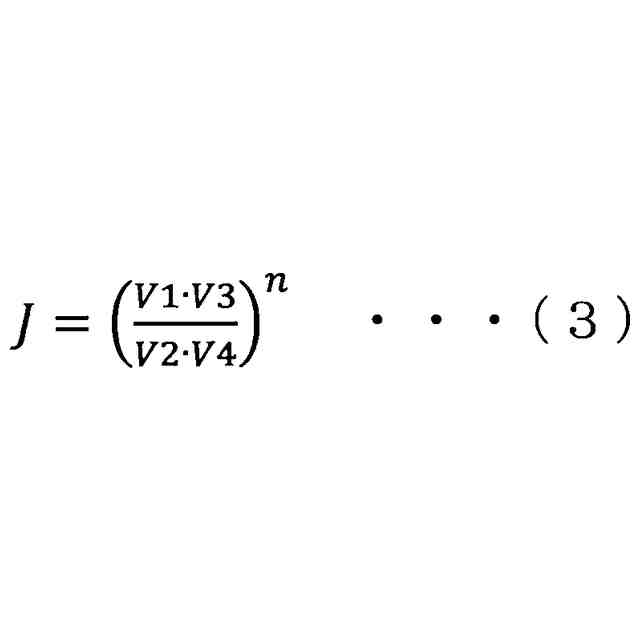
前記第1計測値群の積である第1指標、及び、前記第2計測値群の積である第2指標を用いて、溶銑滓の液面の高低割合を算出する算出ステップと、
前記算出ステップにて算出される前記高低割合に基づいて、溶銑滓の液面の状態を判定する判定ステップと、
を有する、溶銑滓液面判定方法。
続きを表示(約 950 文字)
【請求項2】
前記高低割合は、前記第1指標と前記第2指標との比又は前記第1指標と前記第2指標との比を底とする冪である、請求項1に記載の溶銑滓液面判定方法。
【請求項3】
前記高炉は前記炉体の周方向に4つの出銑口が設けられ、
前記特定ステップにおいて、溶銑滓の出銑が同じ時期に行われる2つの出銑口を含む第1出銑口群、及び、前記第1出銑口群による出銑が行われる時期に出銑を行わない2つの出銑口を含む第2出銑口群を特定する、請求項1に記載の溶銑滓液面判定方法。
【請求項4】
前記高炉は前記炉体の周方向に4つの出銑口が設けられ、
前記特定ステップにおいて、溶銑滓の出銑が同じ時期に行われる2つの出銑口を含む第1出銑口群、及び、前記第1出銑口群による出銑が行われる時期に出銑を行わない2つの出銑口を含む第2出銑口群を特定する、請求項2に記載の溶銑滓液面判定方法。
【請求項5】
請求項1~4の何れか1項に記載の溶銑滓液面判定方法における溶銑滓の液面の状態の判定の結果に基づいて、炉内への送風量及びコークス装入量の少なくとも一方の操業条件を変更する、高炉操業方法。
【請求項6】
炉体の周方向に4つ以上の出銑口が設けられる高炉において、炉内の溶銑滓の液面の状態を判定する溶銑滓液面判定装置であって、
溶銑滓の出銑が同じ時期に行われる2つ以上の出銑口を含む第1出銑口群、及び、前記第1出銑口群による出銑が行われる時期に出銑を行わない2つ以上の出銑口を含む第2出銑口群を特定する特定部と、
前記第1出銑口群に含まれる出銑口に対応して前記炉体の周方向の位置に設けられる2つ以上のレベル計からの第1計測値群、及び、前記第2出銑口群に含まれる出銑口に対応して前記炉体の周方向の位置に設けられる2つ以上のレベル計からの第2計測値群を取得する取得部と、
前記第1計測値群の積である第1指標、及び、前記第2計測値群の積である第2指標を用いて、溶銑滓の液面の高低割合を算出する算出部と、
算出される前記高低割合に基づいて、溶銑滓の液面の状態を判定する判定部と、
を有する、溶銑滓液面判定装置。
発明の詳細な説明
【技術分野】
【0001】
本発明は、高炉の炉内の溶銑滓の液面の状態を判定し得る溶銑滓液面判定方法、高炉操業方法及び溶銑滓液面判定装置に関する。
続きを表示(約 1,600 文字)
【背景技術】
【0002】
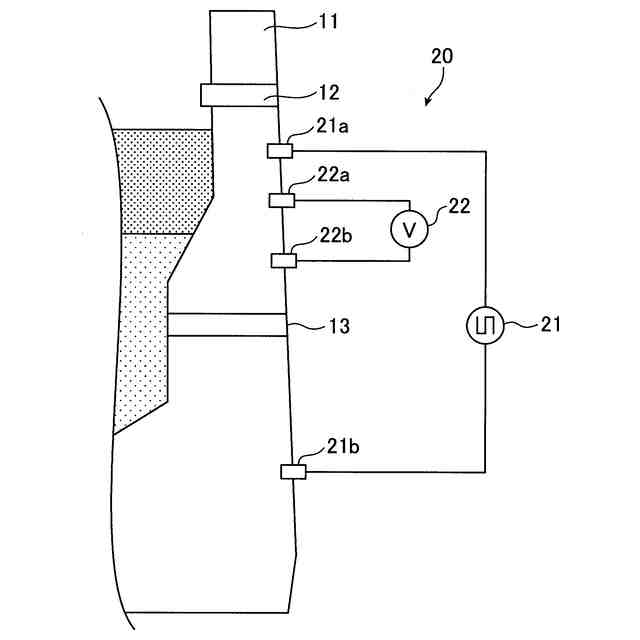
高炉は、羽口から吹き込まれた高温空気及び酸素とコークス及び微粉炭との反応により生成された高温還元ガスにより、鉄鉱石の昇温、還元、溶解を促進し、羽口の下方に設けられた出銑口から銑鉄及びスラグを排出することで、銑鉄を生産する設備である。高炉の操業においては、炉底に溶銑と溶滓(スラグ)が貯留され、これらを出銑口から排出(出銑)することにより炉内の物質収支が調整される。しかし、出銑口からの溶銑及び溶滓(以下、これらを合わせて「溶銑滓」と言う。)の出銑作業においては、炉内の溶銑滓の液面の高さ(溶銑滓レベル)の変動に起因して、操業上のトラブルを招く恐れがある。
【0003】
具体的に、炉内において溶銑滓レベルが所定の高さを超えた場合、炉内におけるガスの通気性が悪化し、安定的な操業の維持が困難となる恐れがある。特に、溶銑滓レベルが送風用の羽口の高さまで上昇した場合、溶滓により羽口が閉塞され、操業不能に陥ることとなる。よって、高炉の安定的な操業を維持するためには、炉内の溶銑滓レベルを適正に管理することが重要となり、従来から各種の研究がなされてきた。
【0004】
特許文献1は、高炉鉄皮表面において複数個の電位測定点を高さ方向に間隔を開けて設け、電位測定点の間で電位差を測定するに際し、高炉炉体円周方向における複数の個所で電位差を測定し、電位差測定値の平均値に基づいて高炉内の溶銑滓レベルを評価する方法を開示する。
【0005】
特許文献2は、高炉の炉壁を構成する煉瓦に、少なくとも1対の電極を取付け、取付けた電極を用いて電気抵抗を測定することにより、溶銑滓レベルを連続的に測定する方法を開示する。
【0006】
特許文献3は、高炉の操業条件に関する値を入力値とし、溶滓を透過しにくい低透過相を炉底部に配置させることを仮定する、物質収支に基づく物理モデルを用いることで、低透過相により区切られた複数の領域ごとに、溶滓を含む溶銑滓の液面レベルを算出する方法を開示する。
【先行技術文献】
【特許文献】
【0007】
特開2003-155507号公報
特開昭59-140309号公報
特開2023-18547号公報
【発明の概要】
【発明が解決しようとする課題】
【0008】
しかしながら、上記従来技術には、以下のような課題がある。
【0009】
特許文献1には、炉体円周方向の複数個所、好ましくは4個所以上において鉄皮表面での高さ方向の電位差を測定し、測定した複数個所の電位差を平均化することにより、ノイズやドリフトの影響を相殺して溶銑滓レベルの推定精度を向上し得ることが記載されている。しかし、溶銑滓レベルの炉体円周方向における平均的な高さを推定できても、炉体円周方向において溶銑滓レベルの液面が不均一に形成され、例えば液面が局所的に上昇する状態までは把握できない。そのため、例えば、溶銑滓の液面レベルが局所的に上昇する状況において、通気性が悪化した際の対処を適切に実行できない恐れがある。
【0010】
特許文献2は、高炉の炉壁を構成する煉瓦の電気抵抗を測定することにより、溶銑滓レベルを連続的に測定する方法を記載する。そして、特許文献2には、電気抵抗を測定する電極を炉底の円周方向において対向する位置に配置することにより、溶銑滓レベルが偏った場合であっても、平均的な溶銑滓レベルを推定できるとの事項が記載されている。しかし、溶銑滓レベルの平均的な高さを推定することができても、炉体円周方向における液面レベルが不均一に形成される状態を把握することはできない。
(【0011】以降は省略されています)
この特許をJ-PlatPat(特許庁公式サイト)で参照する
関連特許
個人
バイオ水素製鉄方法
3か月前
新和環境株式会社
炉システム
8か月前
新和環境株式会社
炉システム
8か月前
日本製鉄株式会社
転炉精錬方法
8か月前
日本製鉄株式会社
転炉精錬方法
2か月前
NTN株式会社
焼入れ方法
29日前
日本製鉄株式会社
溶鋼の製造方法
4か月前
日本製鉄株式会社
溶鉄の製造方法
1か月前
富士電子工業株式会社
焼入れ装置
4か月前
日本製鉄株式会社
溶鉄の製造方法
3か月前
中外炉工業株式会社
連続式熱処理炉
6か月前
株式会社伊原工業
還元鉄の製造方法
8か月前
日本製鉄株式会社
溶銑の予備処理方法
4か月前
株式会社デンケン
高温炉
8か月前
中外炉工業株式会社
前処理装置
5か月前
日本製鉄株式会社
溶鋼の脱窒処理方法
1か月前
バイオメッド バレー ディスカバリーズ,インコーポレイティド
C21H22Cl2N4O2の結晶形態
5か月前
株式会社不二越
熱処理システム
2か月前
高周波熱錬株式会社
熱処理方法及び熱処理装置
1か月前
高周波熱錬株式会社
熱処理方法及び熱処理装置
4か月前
大同特殊鋼株式会社
浸炭部材の製造方法
5か月前
JFEスチール株式会社
高炉の原料装入方法
4か月前
バイオメッド バレー ディスカバリーズ,インコーポレイティド
結晶性C21H22Cl2N4O2マロン酸塩
2か月前
JFEスチール株式会社
高炉の原料装入方法
3か月前
日本製鉄株式会社
脱りん方法
6か月前
大同特殊鋼株式会社
熱処理設備
4か月前
東京窯業株式会社
溶鋼処理用の浸漬管
4か月前
日本製鉄株式会社
高炉の操業方法
7か月前
日本製鉄株式会社
高炉の冷却構造
3か月前
日本製鉄株式会社
高炉の操業方法
5か月前
日本製鉄株式会社
高炉の操業方法
6か月前
日本製鉄株式会社
鋼の製造方法
3か月前
出光興産株式会社
熱処理油
1か月前
日本製鉄株式会社
鋼の製造方法
5か月前
出光興産株式会社
熱処理油
3か月前
出光興産株式会社
熱処理油
3か月前
続きを見る
他の特許を見る