TOP
|
特許
|
意匠
|
商標
特許ウォッチ
Twitter
他の特許を見る
10個以上の画像は省略されています。
公開番号
2025175123
公報種別
公開特許公報(A)
公開日
2025-11-28
出願番号
2025157104,2021021441
出願日
2025-09-22,2021-02-15
発明の名称
伸縮可撓管
出願人
日本ニューロン株式会社
代理人
弁理士法人三木特許事務所
,
個人
,
個人
主分類
F16J
3/04 20060101AFI20251120BHJP(機械要素または単位;機械または装置の効果的機能を生じ維持するための一般的手段)
要約
【課題】圧縮変形、S字変形、湾曲変形等の変形量を大きくすることができ、地震等における配管の変位を確実に吸収緩和できる伸縮継手を提供する。
【解決手段】周壁Pが全長に亘って山部Mと谷部Vとが交互に連続する肉厚一様の伸縮継手F1であって、山部M1の高さH1及び山部M2の高さH2(更には、山部M1,M2の幅及び谷部Vの幅S)は、周壁Pが変形した場合に、隣合う高さH1の高い山部M1,M1の間に高さH2の低い山部M2が入り込むように設定されている。
【選択図】図1
特許請求の範囲
【請求項1】
地震における配管の変位を吸収緩和するための伸縮可撓管であり、
周壁が全長に亘って山部と谷部とが交互に連続する肉厚一様の伸縮可撓管であって、山部の高さ、山部の幅及び谷部の幅の少なくとも一つが変化するパターンを有し、
山部の全部又は一部の幅が広狭変化し、各谷部の底における周壁の径が同一であり、各山部の頂における周壁の径が同一であり、各山部とそれに隣接する各谷部は必ず、周壁が、軸線を含む断面図において軸線に垂直な直線部分を挟んで連続している前記パターンを有することを特徴とする、伸縮可撓管。
続きを表示(約 2,700 文字)
【請求項2】
地震における配管の変位を吸収緩和するための伸縮可撓管であり、
周壁が全長に亘って山部と谷部とが交互に連続する肉厚一様の伸縮可撓管であって、山部の高さ、山部の幅及び谷部の幅の少なくとも一つが変化するパターンを有し、
谷部の全部又は一部の幅が広狭変化し、各谷部の底における周壁の径が同一であり、各山部とそれに隣接する各谷部は必ず、周壁が、軸線を含む断面図において軸線に垂直な直線部分を挟んで連続している前記パターンを有することを特徴とする、伸縮可撓管。
【請求項3】
地震における配管の変位を吸収緩和するための伸縮可撓管であり、
周壁が全長に亘って山部と谷部とが交互に連続する肉厚一様の伸縮可撓管であって、山部の高さ、山部の幅及び谷部の幅の少なくとも一つが変化するパターンを有し、
各山部の幅及び各谷部の幅を各々同一とする奇数個の山部が高さの高いものと高さの低いものとが並んでおり、各端部に位置する高い山部に隣接する山部の高さ及び中央部に位置する山部の高さが低いものであり、高さの低い山部間に一対の高さの高い山部があり、各谷部の底における周壁の径を同一とする前記パターンを有することを特徴とする、伸縮可撓管。
【請求項4】
地震における配管の変位を吸収緩和するための伸縮可撓管であり、
周壁が全長に亘って山部と谷部とが交互に連続する肉厚一様の伸縮可撓管であって、山部の高さ、山部の幅及び谷部の幅の少なくとも一つが変化するパターンを有し、
各山部の幅及び各谷部の幅を各々同一とする奇数個の山部が高さの高いものと高さの低いものとが並んでおり、各端部に位置する低い山部に隣接する山部の高さ及び中央部に位置する山部の高さが高いものであり、高さの高い山部間に一対の高さの低い山部があり、各山部とそれに隣接する各谷部は必ず、周壁が、軸線を含む断面図において軸線に垂直な直線部分を挟んで連続している前記パターンを有することを特徴とする、伸縮可撓管。
【請求項5】
地震における配管の変位を吸収緩和するための伸縮可撓管であり、
周壁が全長に亘って山部と谷部とが交互に連続する肉厚一様の伸縮可撓管であって、山部の高さ、山部の幅及び谷部の幅の少なくとも一つが変化するパターンを有し、
各山部の幅及び各谷部の幅を各々同一とする奇数個の山部が高さの高いものと高さの低いものと両山部の中間の高さのものが並んでおり、各端部に位置する山部及び中央部に位置する山部の高さが最も低いものであり、最も低い山部間の中央部に位置する山部の高さが最も高いものであり、最も高い山部から最も低い山部へと順次高さが低くなっていて、各山部とそれに隣接する各谷部は必ず、周壁が、軸線を含む断面図において軸線に垂直な直線部分を挟んで連続している前記パターンを有することを特徴とする、伸縮可撓管。
【請求項6】
地震における配管の変位を吸収緩和するための伸縮可撓管であり、
周壁が全長に亘って山部と谷部とが交互に連続する肉厚一様の伸縮可撓管であって、山部の高さ、山部の幅及び谷部の幅の少なくとも一つが変化するパターンを有し、
各山部の幅及び各谷部の幅を各々同一とする奇数個の山部が高さの高いものと高さの低いものと両山部の中間の高さのものが並んでおり、各端部に位置する山部及び中央部に位置する山部の高さが最も高いものであり、最も高い山部間の中央部に位置する山部の高さ
が最も低いものであり、最も高い山部から最も低い山部へと順次高さが低くなっていて、各山部とそれに隣接する各谷部は必ず、周壁が、軸線を含む断面図において軸線に垂直な直線部分を挟んで連続している前記パターンを有することを特徴とする、伸縮可撓管。
【請求項7】
地震における配管の変位を吸収緩和するための伸縮可撓管であり、
周壁が全長に亘って山部と谷部とが交互に連続する肉厚一様の伸縮可撓管であって、山部の高さ、山部の幅及び谷部の幅の少なくとも一つが変化するパターンを有し、
各谷部の幅を同一とする奇数個の山部が、高さの高いものと低いものとが交互に並んでおり、高さの高い山部の幅が大きく且つ高さの低い山部の幅が小さく、高さの高い山部が端部から1つおきに位置していて、各谷部の底における周壁の径が同一で、かつ、高さの高い山部の頂における周壁の径が前記谷部の底における周壁の径の1.5倍である前記パターンを有することを特徴とする、伸縮可撓管。
【請求項8】
地震における配管の変位を吸収緩和するための伸縮可撓管であり、
周壁が全長に亘って山部と谷部とが交互に連続する肉厚一様の伸縮可撓管であって、山部の高さ、山部の幅及び谷部の幅の少なくとも一つが変化するパターンを有し、
高さが同一である奇数個の山部からなり、各端部の山部から中央部の山部へと山部の幅及び谷部の幅が各々順次小さくなり、各山部とそれに隣接する各谷部は必ず、周壁が、軸線を含む断面図において軸線に垂直な直線部分を挟んで連続している前記パターンを有することを特徴とする、伸縮可撓管。
【請求項9】
地震における配管の変位を吸収緩和するための伸縮可撓管であり、
周壁が全長に亘って山部と谷部とが交互に連続する肉厚一様の伸縮可撓管であって、山部の高さ、山部の幅及び谷部の幅の少なくとも一つが変化するパターンを有し、
高さ及び幅が各々同一である複数個の山部からなり、山部間の各谷部の幅が山部の幅より大きく、各山部とそれに隣接する各谷部は必ず、周壁が、軸線を含む断面図において軸線に垂直な直線部分を挟んで連続している前記パターンを有することを特徴とする、伸縮可撓管。
【請求項10】
地震における配管の変位を吸収緩和するための伸縮可撓管であり、
周壁が全長に亘って山部と谷部とが交互に連続する肉厚一様の伸縮可撓管であって、山部の高さ、山部の幅及び谷部の幅の少なくとも一つが変化するパターンを有し、
山部の高さ及び幅が各々同一である二つの山部が一組として複数組並んでおり、この一組の山部とこれに隣接する一組の山部との間の谷部の幅が各組の山部間の谷部の幅より大きく、各谷部の底における周壁の径が同一である前記パターンを有することを特徴とする、伸縮可撓管。
(【請求項11】以降は省略されています)
発明の詳細な説明
【技術分野】
【0001】
本発明は、地震等による配管の変位を吸収する伸縮継手、連結管等の伸縮可撓管に関するものである。
続きを表示(約 3,300 文字)
【背景技術】
【0002】
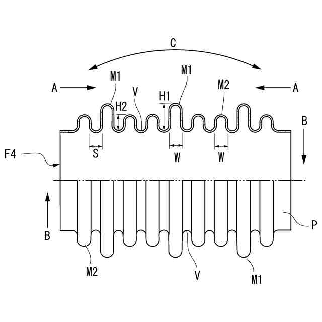
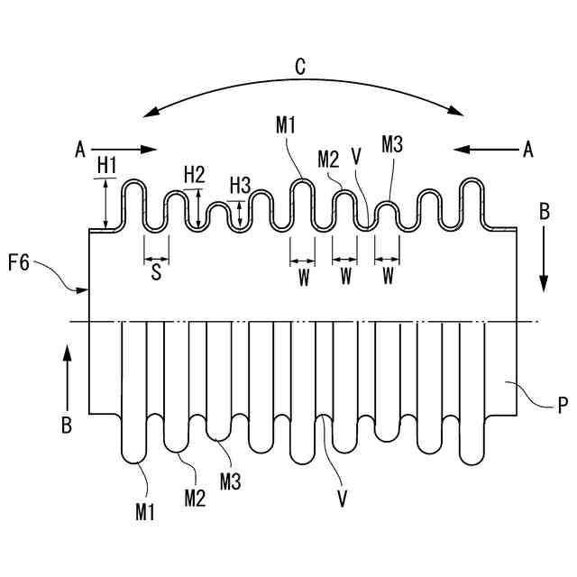
周壁が全長に亘って山部と谷部とが交互に連続する肉厚一様の伸縮継手等の伸縮可撓管は、山部及び谷部の軸線方向間隔が変位することにより圧縮変形、S字変形、湾曲変形等の変位が行われ、地震等の配管の変位を吸収緩和できるものである。
【先行技術文献】
【特許文献】
【0003】
特開昭50-127047号公報
【発明の概要】
【発明が解決しようとする課題】
【0004】
しかし、従来の伸縮可撓管は、例えば特許文献1に開示されるように、高さ及び幅が各々同一である山部と幅が同一である谷部とが交互に並んでいるために。隣接する山部同士が干渉して圧縮変形、S字変形、湾曲変形等の変形量が小さく、地震等における配管の変位を確実に吸収緩和できない虞れがあった。
【0005】
本発明は、このような問題を解決して、圧縮変形、S字変形、湾曲変形等の変形量が大きく、地震等における配管の変位を確実に吸収緩和できる伸縮継手等の伸縮可撓管を提供することを目的とするものである。
【課題を解決するための手段】
【0006】
本発明は、周壁が全長に亘って山部と谷部とが交互に連続する肉厚一様の伸縮継手等の伸縮可撓管であって、特に上記の目的を達成すべく、山部の高さ、山部の幅及び谷部の幅の少なくとも一つが変化するパターンを有することを特徴とする伸縮可撓管を提案するものである。
【0007】
かかる本発明の伸縮可撓管の好ましい実施の形態にあっては、山部の全部又は一部の高さが高低変化するパターン、山部の全部又は一部の幅が広狭変化するパターン及び谷部の全部又は一部の幅が広狭変化するパターンの少なくとも一つを有するものである。
【0008】
具体的には、本発明の伸縮可撓管は、
各山部の幅及び各谷部の幅を各々同一とする奇数個の山部が高さの高いものと低いものとが交互に並んでおり、両端部に位置する山部の高さが低いものであるパターン、
各山部の幅及び各谷部の幅を各々同一とする奇数個の山部が高さの高いものと低いものとが交互に並んでおり、両端部に位置する山部の高さが高いものであるパターン、
各山部の幅及び各谷部の幅を各々同一とする奇数個の山部が高さの高いものと高さの低いものとが並んでおり、各端部に位置する高い山部に隣接する山部の高さ及び中央部に位置する山部の高さが低いものであり、高さの低い山部間に一対の高さの高い山部があるパターン、
各山部の幅及び各谷部の幅を各々同一とする奇数個の山部が高さの高いものと高さの低いものとが並んでおり、各端部に位置する低い山部に隣接する山部の高さ及び中央部に位置する山部の高さが高いものであり、高さの高い山部間に一対の高さの低い山部があるパターン、
各山部の幅及び各谷部の幅を各々同一とする奇数個の山部が高さの高いものと高さの低いものと両山部の中間の高さのものが並んでおり、各端部に位置する山部及び中央部に位置する山部の高さが最も低いものであり、最も低い山部間の中央部に位置するの高さが最も高いものであり、最も高い山部から最も低い山部へと順次高さが低くなっているパターン、
各山部の幅及び各谷部の幅を各々同一とする奇数個の山部が高さの高いものと高さの低いものと両山部の中間の高さのものが並んでおり、各端部に位置する山部及び中央部に位置する山部の高さが最も高いものであり、最も高い山部間の中央部に位置するの高さが最も低いものであり、最も高い山部から最も低い山部へと順次高さが低くなっているパターン、
各谷部の幅を同一とする奇数個の山部が、高さの高いものと低いものとが交互に並んでおり、高さの低い山部の幅が大きく且つ高さの高い山部の幅が小さく、高さの低い山部が端部から1つおきに位置しているパターン、
各谷部の幅を同一とする奇数個の山部が、高さの高いものと低いものとが交互に並んでおり、高さの高い山部の幅が大きく且つ高さの低い山部の幅が小さく、高さの高い山部が端部から1つおきに位置しているパターン、
高さが同一である奇数個の山部からなり、各端部の山部から中央部の山部へと山部の幅及び谷部の幅が各々順次小さくなるパターン、
高さ及び幅が各々同一である複数個の山部からなり、山部間の各谷部の幅が山部の幅より大きいパターン、
山部の高さ及び幅が各々同一である二つの山部が一組として複数組並んでおり、この一組の山部とこれに隣接する一組の山部との間の谷部の幅を各組の山部間の谷部の幅より大きくするパターン、
幅が同一である奇数個の山部からなり、各端部及び中央部に位置する山部の高さが高いものであり、各端部に位置する山部に隣接する山部及び中央部に位置する山部に隣接する各山部の高さが低いものであり、各端部に位置する山部に隣接する山部と中央部に位置する山部に隣接する各山部との間の谷部の幅が、各端部に位置する山部とこれに隣接する山部との間の谷部及び中央部に位置する山部とこれに隣接する各山部との谷部の幅より大きいものであるパターン、
幅が同一である奇数個の山部からなり、各端部及び中央部に位置する山部の高さが低いものであり、各端部に位置する山部に隣接する山部及び中央部に位置する山部に隣接する各山部の高さが高いものであり、各端部に位置する山部に隣接する山部と中央部に位置する山部に隣接する各山部との間の谷部の幅が、各端部に位置する山部とこれに隣接する山部との間の谷部及び中央部に位置する山部とこれに隣接する各山部との谷部の幅より大きいものであるパターン、
各山部の幅及び各谷部の幅を各々同一とする奇数個の山部が高さの高いものと低いものとが並んでおり、両端部に位置する高さが最も高い山部から中央部に位置する高さが最も低い山部へと順次高さが低くなっているパターン、
奇数個の山部からなり、各端部に位置する山部の高さ及び幅が最大であり、中央部に位置する山部の高さ及び幅が最小であり、中央部の山部から各端部の山部へと山部の高さ、幅及び谷部の幅が順次大きくなっているパターン、
幅及び谷部の幅が各々同一である奇数個の山部からなり、山部の高さが中央部に位置するものから各端部に位置する山部へと順次低くなっているパターン、奇数個の山部からなり、各端部に位置する山部から中央部に位置する山部へと山部の高さ、幅及び谷部の幅が各々順次大きくなっているパターン、
山部の高さ及び谷部の幅が各々同一である奇数個の山部からなり、山部の幅が大きい山部と小さい山部とが交互に並んでおり、端部に位置する山部の幅が大きいパターン又は
高さが同一である奇数個の山部からなり、中央部に位置する山部から各端部に位置する山部へと山部の幅及び山部間の谷部の幅を順次大きくするパターンを有するものである。すなわち、かかるバターンから選択されたものを一つ以上有するものであって、このパタ
ーンを周壁の全長に亘って形成するか、周壁の一部に亘って形成すると共に他の部分を一般的なパターン(高さが同一である山部が連続するパターン等)を形成する。
【0009】
本発明の伸縮可撓管としては、前記パターンが周壁の全長又は一部に形成される伸縮継手であることが好ましい。
【発明の効果】
【0010】
本発明の伸縮可撓管は、山部の高さ、山部の幅及び谷部の幅の少なくとも一つが変化するパターンを有するものであり、このパターンが形成された周壁部分では山部の高さ、山部の幅又は谷部の少なくとも一つが大きく変化してその変形量を大きくできるから、地震等における配管の変位(圧縮変形、S字変形、湾曲変形等)を確実に吸収緩和することができる。
【図面の簡単な説明】
(【0011】以降は省略されています)
この特許をJ-PlatPat(特許庁公式サイト)で参照する
関連特許
日本ニューロン株式会社
伸縮可撓管
3日前
和歌山市
漏洩防止装置、管継手部の漏洩防止構造、及び、漏洩防止方法
1か月前
個人
留め具
1か月前
個人
鍋虫ねじ
3か月前
個人
紛体用仕切弁
3か月前
個人
ホース保持具
7か月前
個人
回転伝達機構
3か月前
個人
トーションバー
8か月前
個人
差動歯車用歯形
5か月前
個人
給排気装置
1か月前
個人
ジョイント
2か月前
個人
ナット
2か月前
株式会社不二工機
電磁弁
6か月前
個人
地震の揺れ回避装置
4か月前
株式会社不二工機
電磁弁
5か月前
個人
ナット
26日前
個人
吐出量監視装置
3か月前
個人
ゲート弁バルブ
11日前
株式会社三協丸筒
枠体
8か月前
カヤバ株式会社
緩衝器
1か月前
カヤバ株式会社
ダンパ
5か月前
カヤバ株式会社
緩衝器
4か月前
兼工業株式会社
バルブ
27日前
柿沼金属精機株式会社
分岐管
3か月前
カヤバ株式会社
ダンパ
5か月前
カヤバ株式会社
緩衝器
4か月前
株式会社不二工機
電動弁
8か月前
株式会社ノーリツ
分配弁
1か月前
株式会社奥村組
制振機構
2か月前
株式会社タカギ
水栓装置
3か月前
株式会社奥村組
制振機構
2か月前
株式会社ニフコ
クリップ
1か月前
個人
固着具と固着具の固定方法
7か月前
株式会社ニフコ
クリップ
11日前
株式会社不二工機
電磁弁
3か月前
株式会社不二工機
電動弁
1か月前
続きを見る
他の特許を見る