TOP
|
特許
|
意匠
|
商標
特許ウォッチ
Twitter
他の特許を見る
10個以上の画像は省略されています。
公開番号
2025175118
公報種別
公開特許公報(A)
公開日
2025-11-28
出願番号
2025155431,2021029613
出願日
2025-09-18,2021-02-26
発明の名称
電磁波減衰体、電子装置、成膜装置及び成膜方法
出願人
芝浦メカトロニクス株式会社
代理人
主分類
C23C
14/06 20060101AFI20251120BHJP(金属質材料への被覆;金属質材料による材料への被覆;化学的表面処理;金属質材料の拡散処理;真空蒸着,スパッタリング,イオン注入法,または化学蒸着による被覆一般;金属質材料の防食または鉱皮の抑制一般)
要約
【課題】電磁波の減衰特性を向上可能な電磁波減衰体、電子装置、成膜装置及び成膜方法を提供する。
【解決手段】実施形態によれば、電磁波減衰体は、第1構造体を含む。前記第1構造体は、積層方向である第1方向に交互に設けられた第1磁性層及び導電性の第1非磁性層を含む第1部材と、前記第1方向に交互に設けられた第2磁性層及び導電性の第2非磁性層を含む第2部材と、導電性の第3非磁性層を含む第3部材と、を含む。前記第3部材から前記第1部材への方向は、前記第1方向に沿う。前記第3部材から前記第2部材への方向は、前記第1方向に沿う。前記第1磁性層の前記第1方向に沿う第1磁性層厚は、前記第2磁性層の前記第1方向に沿う第2磁性層厚よりも厚い。
【選択図】図1
特許請求の範囲
【請求項1】
積層方向である第1方向に交互に設けられた第1磁性層及び導電性の第1非磁性層を含む第1部材と、
前記第1方向に交互に設けられた第2磁性層及び導電性の第2非磁性層を含む第2部材と、
導電性の第3非磁性層を含む第3部材と、
を含む第1構造体を備え、
前記第3部材から前記第1部材への方向は、前記第1方向に沿い、
前記第3部材から前記第2部材への方向は、前記第1方向に沿い、
前記第1磁性層の前記第1方向に沿う厚みである第1磁性層厚は、前記第2磁性層の前記第1方向に沿う厚みである第2磁性層厚よりも厚い、電磁波減衰体。
続きを表示(約 1,000 文字)
【請求項2】
前記第1磁性層の少なくとも一部の結晶性は、前記第2磁性層の少なくとも一部の結晶性よりも高い、請求項1記載の電磁波減衰体。
【請求項3】
積層方向である第1方向に交互に設けられた第1磁性層及び導電性の第1非磁性層を含む第1部材と、
前記第1方向に交互に設けられた第2磁性層及び導電性の第2非磁性層を含む第2部材と、
導電性の第3非磁性層を含む第3部材と、
を含む第1構造体を備え、
前記第3部材から前記第1部材への方向は、前記第1方向に沿い、
前記第3部材から前記第2部材への方向は、前記第1方向に沿い、
前記第1磁性層の少なくとも一部の結晶性は、前記第2磁性層の少なくとも一部の結晶性よりも高い、電磁波減衰体。
【請求項4】
前記第1磁性層の前記少なくとも一部は、結晶であり、前記第2磁性層の前記少なくとも一部は、アモルファスである、請求項2または3に記載の電磁波減衰体。
【請求項5】
前記第1磁性層厚は、80nm以上400nm以下であり、
前記第2磁性層厚は、10nm以上80nm未満である、請求項1~4のいずれか1つに記載の電磁波減衰体。
【請求項6】
前記第1非磁性層の厚さは、10nm以下であり、
前記第2非磁性層の厚さは、10nm以下である、請求項5記載の電磁波減衰体。
【請求項7】
前記第1非磁性層及び前記第2非磁性層の少なくともいずれかは、Ta、Cr及びTiよりなる群から選択された少なくとも1つを含む、請求項1~6のいずれか1つに記載の電磁波減衰体。
【請求項8】
前記第1磁性層及び前記第2磁性層の少なくともいずれかは、Ni、Fe、Cu及びMoを含む、請求項1~7のいずれか1つに記載の電磁波減衰体。
【請求項9】
前記第1磁性層におけるNiの組成比は、前記第2磁性層におけるNiの組成比の0.9倍以上1.1倍以下であり、
前記第1磁性層におけるFeの組成比は、前記第2磁性層におけるFeの組成比の0.9倍以上1.1倍以下である、請求項8記載の電磁波減衰体。
【請求項10】
前記第1磁性層の組成は、前記第2磁性層の組成と実質的に同じである、請求項1~8のいずれか1つに記載の電磁波減衰体。
(【請求項11】以降は省略されています)
発明の詳細な説明
【技術分野】
【0001】
本発明の実施形態は、電磁波減衰体、電子装置、成膜装置及び成膜方法に関する。
続きを表示(約 1,900 文字)
【背景技術】
【0002】
例えば、電磁シールドシートなどの電磁波減衰体が提案されている。電磁波減衰体及び半導体素子を含む電子装置がある。電磁波減衰体において、電磁波に対する減衰特性を向上させることが望まれる。
【先行技術文献】
【特許文献】
【0003】
特開2012-38807号公報
【発明の概要】
【発明が解決しようとする課題】
【0004】
本発明の実施形態は、電磁波に対する減衰特性を向上可能な電磁波減衰体、電子装置、成膜装置及び成膜方法を提供する。
【課題を解決するための手段】
【0005】
本発明の実施形態によれば、電磁波減衰体は、第1構造体を含む。前記第1構造体は、積層方向である第1方向に交互に設けられた第1磁性層及び導電性の第1非磁性層を含む第1部材と、前記第1方向に交互に設けられた第2磁性層及び導電性の第2非磁性層を含む第2部材と、導電性の第3非磁性層を含む第3部材と、を含む。前記第3部材から前記第1部材への方向は、前記第1方向に沿う。前記第3部材から前記第2部材への方向は、前記第1方向に沿う。前記第1磁性層の前記第1方向に沿う第1磁性層厚は、前記第2磁性層の前記第1方向に沿う第2磁性層厚よりも厚い。
【図面の簡単な説明】
【0006】
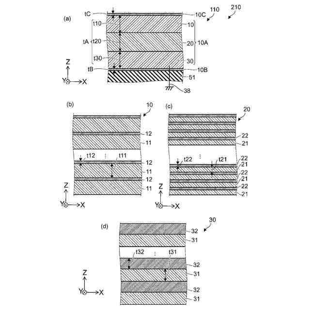
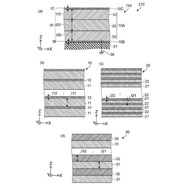
図1(a)~図1(d)は、第1実施形態に係る電磁波減衰体を例示する模式的断面図である。
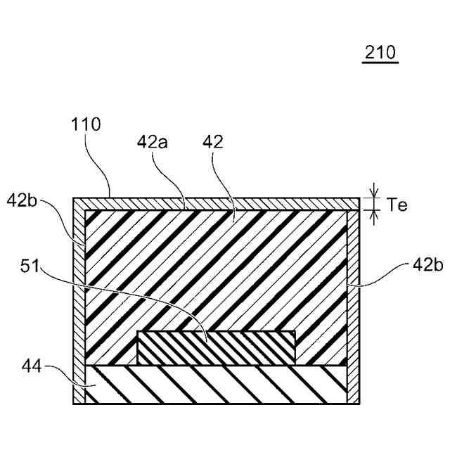
図2は、実施形態に係る電子装置を例示する模式的断面図である。
図3(a)~図3(f)は、第1実施形態に係る電磁波減衰体を例示する模式的断面図である。
図4(a)~図4(d)は、第1実施形態に係る電磁波減衰体を例示する模式図である。
図5は、電磁波減衰体の特性を例示するグラフ図である。
図6は、第2実施形態に係る成膜装置を例示する模式図である。
図7は、第2実施形態に係る成膜装置を例示する模式図である。
図8は、第2実施形態に係る成膜装置を例示する、図6のA-A模式縦断図である。
図9は、第2実施形態に係る成膜装置の制御装置を例示する機能ブロック図である。
図10は、第2実施形態に係る成膜装置において電子装置が配置されたトレイを例示する斜視図である。
図11は、第2実施形態に係る成膜装置の動作を例示するフローチャート図である。
【発明を実施するための形態】
【0007】
以下に、本発明の各実施の形態について図面を参照しつつ説明する。
図面は模式的または概念的なものであり、各部分の厚さと幅との関係、部分間の大きさの比率などは、必ずしも現実のものと同一とは限らない。同じ部分を表す場合であっても、図面により互いの長さや比率が異なって表される場合もある。
本願明細書と各図において、既出の図に関して前述したものと同様の要素には同一の符号を付して詳細な説明は適宜省略する。
【0008】
(第1実施形態)
図1(a)~図1(d)は、第1実施形態に係る電磁波減衰体を例示する模式的断面図である。
図2は、実施形態に係る電子装置を例示する模式的断面図である。
【0009】
図1(a)に示すように、実施形態に係る電磁波減衰体110は、電子装置210に用いられる。実施形態に係る電子装置210は、電磁波減衰体110と、基体55と、を含む。
【0010】
図2に示すように、本実施形態の電子装置210は、電子素子51を封止したパッケージ42の天面42a及び側面42bに、電磁波減衰体110が形成されている。電子素子51を封止したパッケージ42は基体55の一例である。減衰効果を得るためには、電磁波減衰体110は、少なくともパッケージ42の天面42aに形成されていればよい。側面42bの電磁波減衰体110は、接地のためである。パッケージ42の天面42aは、製品に実装される面とは反対側の外表面である。天面42aは、水平に載置された場合には、最も高い位置にある上面となる。天面42aは、実装された場合に、上方を向く場合も、上方を向かない場合もある。側面42bは、天面42aに対して異なる角度で形成された外周面である。天面42aと側面42bとの間は、角を形成していても、曲面により連続していてもよい。
(【0011】以降は省略されています)
この特許をJ-PlatPat(特許庁公式サイト)で参照する
関連特許
個人
フッ素樹脂塗装鋼板の保管方法
4か月前
株式会社京都マテリアルズ
めっき部材
2か月前
株式会社カネカ
製膜装置
1か月前
株式会社カネカ
製膜装置
1か月前
トヨタ自動車株式会社
治具
1か月前
株式会社三愛工業所
アルミニウム材
6か月前
株式会社KSマテリアル
防錆組成物
4か月前
株式会社オプトラン
蒸着装置
7か月前
日本化学産業株式会社
複合めっき皮膜
3か月前
エドワーズ株式会社
真空排気システム
1か月前
台灣晶技股ふん有限公司
無電解めっき法
2か月前
日東電工株式会社
積層体の製造方法
6か月前
東京エレクトロン株式会社
成膜方法
2か月前
株式会社カネカ
気化装置及び製膜装置
1か月前
JFEスチール株式会社
鋼部品
4か月前
信越半導体株式会社
真空蒸着方法
6か月前
東京エレクトロン株式会社
基板処理装置
7か月前
TOTO株式会社
構造部材
1か月前
住友重機械工業株式会社
成膜装置
4か月前
株式会社アルバック
マスクユニット
1か月前
東京エレクトロン株式会社
基板処理装置
5か月前
株式会社内村
防食具、防食具の設置方法
2か月前
住友重機械工業株式会社
成膜装置
5か月前
東京エレクトロン株式会社
基板処理装置
7か月前
DOWAサーモテック株式会社
浸炭方法
6か月前
黒崎播磨株式会社
溶射装置
2か月前
株式会社アルバック
基板ステージ装置
2か月前
日本コーティングセンター株式会社
炭化ホウ素被膜
1か月前
株式会社デンソー
接合体
2か月前
国立大学法人千葉大学
成膜装置及び成膜方法
2か月前
フジタ技研株式会社
被覆部材、及び、表面被覆金型
2か月前
ケニックス株式会社
蒸発源装置
3か月前
黒崎播磨株式会社
溶射用ランス
6か月前
川崎重工業株式会社
水素遮蔽膜
3か月前
信越化学工業株式会社
炭化金属被覆材料
12日前
株式会社アルバック
成膜装置、および搬送方法
3か月前
続きを見る
他の特許を見る