TOP
|
特許
|
意匠
|
商標
特許ウォッチ
Twitter
他の特許を見る
10個以上の画像は省略されています。
公開番号
2025175031
公報種別
公開特許公報(A)
公開日
2025-11-28
出願番号
2025147017,2025035349
出願日
2025-09-04,2019-05-19
発明の名称
駐車場管理システムおよびプログラム
出願人
株式会社スペース二十四インフォメーション
代理人
個人
主分類
G06Q
50/10 20120101AFI20251120BHJP(計算;計数)
要約
【課題】ユーザが通信端末を用い、管理サーバと通信することにより、電子決済を行うことを可能にする。
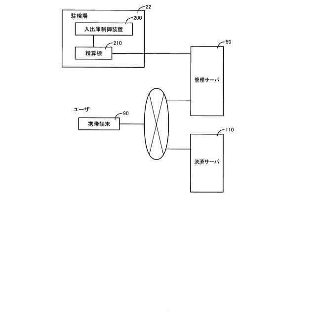
【解決手段】駐車場22を管理する駐車場管理システムは、管理サーバ50を含み、その管理サーバは、ユーザの前記駐車場からの出庫時に、入庫時に前記駐車場の位置において取得されたユーザ固有情報である入庫時ユーザ固有情報と同じ種類のユーザ固有情報を出庫時ユーザ固有情報として前記ユーザの通信端末90から受信する機能と、前記出庫時に、前記取得された入庫時ユーザ固有情報と前記受信した出庫時ユーザ固有情報とが互いに一致することを条件に、駐車料金について電子決済を行うための駐車料金データを前記通信端末に送信する機能とを含む。
【選択図】図12
特許請求の範囲
【請求項1】
駐車場を管理する駐車場管理システムであって、
管理サーバを含み、
その管理サーバは、
ユーザの前記駐車場からの出庫時に、ユーザの前記駐車場への入庫時に前記駐車場の位置において取得されたユーザ固有情報である入庫時ユーザ固有情報と同じ種類のユーザ固有情報を出庫時ユーザ固有情報として前記ユーザの通信端末から受信する機能と、
前記出庫時に、前記取得された入庫時ユーザ固有情報と前記受信した出庫時ユーザ固有情報とが互いに一致することを条件に、駐車料金について電子決済を行うための駐車料金データを前記通信端末に送信する機能と
を含む駐車場管理システム。
続きを表示(約 1,500 文字)
【請求項2】
当該駐車場管理システムは、さらに、
前記駐車場に対応する位置情報を提示する位置情報提示手段と、
前記通信端末のコンピュータによって実行されるプログラムと
を含み、
前記管理サーバは、さらに、
前記駐車場に対応する前記位置情報を受信し、その受信した位置情報に基づいて前記駐車場を特定する機能と、
前記駐車料金の額を送信する機能と
を含み、
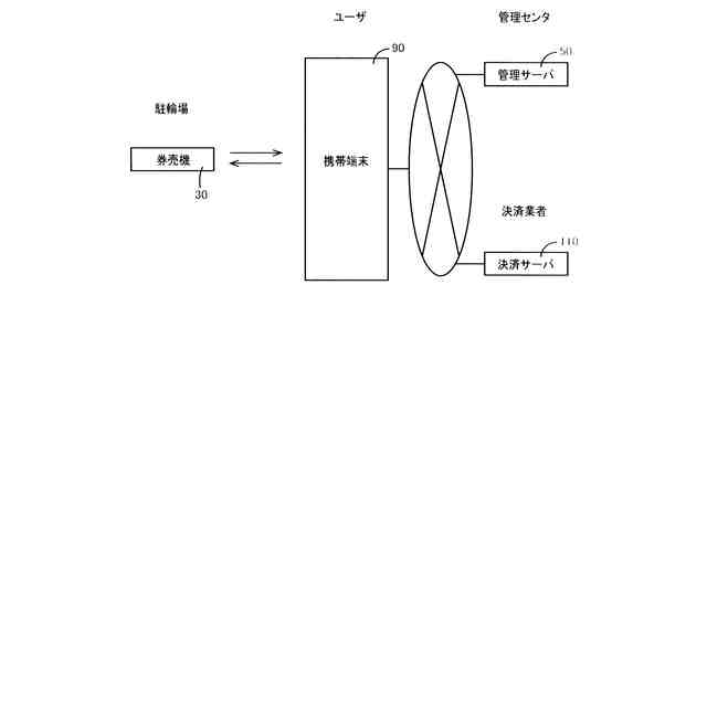
前記駐車料金の前記電子決済は、当該駐車場管理システムに帰属しない要素としての決済サーバを用いて行われ、
前記通信端末は、複数の機能として、
前記管理サーバと前記決済サーバとに選択的に接続されることを可能にする機能と、
当該通信端末が前記駐車場に対応する前記位置情報提示手段に適用させられた場合、前記駐車場に対応する前記位置情報を前記管理サーバに送信する機能と、
前記管理サーバとの通信状態において、前記駐車場についての前記駐車料金の額を前記管理サーバから受信する機能と、
前記決済サーバとの通信状態において、電子決済リクエストを前記決済サーバに送信する機能と
を含み、
前記プログラムは、前記複数の機能を実現するために前記通信端末のコンピュータによって実行される請求項1に記載の駐車場管理システム。
【請求項3】
前記位置情報提示手段は、前記駐車場に対応する識別マークまたは発信機を含み、
前記識別マークは、対応する駐車場に対応する前記位置情報を表す模様を含み、
前記発信機は、対応する駐車場に対応する前記位置情報を表す信号を発信する機能を含む請求項2に記載の駐車場管理システム。
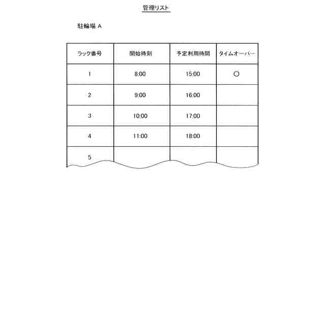
【請求項4】
前記位置情報は、前記駐車場が複数の車室または複数の駐車スペースを有する場合に、各車室または各駐車スペースを特定するための情報を含む請求項2に記載の駐車場管理システム。
【請求項5】
前記通信端末および/または前記管理サーバは、前記通信端末を用いることにより、前記ユーザが前記駐車場の近傍に居るか否かを判定し、前記ユーザが前記駐車場の近傍に居ると判定された場合に、前記電子決済を許可する電子決済許可機能を有する請求項1に記載の駐車場管理システム。
【請求項6】
請求項1ないし5のいずれかに記載の駐車場管理システムを用いて前記駐車場を管理するために前記管理サーバによって実行されるプログラム。
【請求項7】
管理サーバを含む駐車場管理システムによって管理される駐車場のユーザの通信端末のコンピュータによって実行されるプログラムであって、
前記管理サーバは、ユーザの前記駐車場への入庫時に、前記駐車場の位置においてユーザ固有情報を入庫時ユーザ固有情報として取得し、
前記通信端末は、
ユーザの前記駐車場からの出庫時に、前記取得された入庫時ユーザ固有情報と同じ種類のユーザ固有情報を出庫時ユーザ固有情報として前記管理サーバに送信する送信機能と、
前記出庫時に、前記取得された入庫時ユーザ固有情報と前記送信した出庫時ユーザ固有情報とが互いに一致することを条件に、駐車料金について電子決済を行うための駐車料金データを前記管理サーバから受信する受信機能と
を含み、
前記送信機能および前記受信機能を実現するために前記コンピュータによって実行されるプログラム。
【請求項8】
請求項6に記載のプログラムをコンピュータ読み取り可能に記録した記録媒体。
【請求項9】
請求項7に記載のプログラムをコンピュータ読み取り可能に記録した記録媒体。
発明の詳細な説明
【技術分野】
【0001】
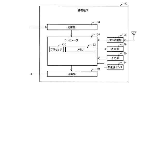
本発明は、電子決済を除く非電子決済方法で決済する非電子決済機能を備えた決済装置を、ユーザの通信端末との組合せにより、システム全体として、電子決済に対応可能とする技術、および/または、ユーザが通信端末を用い、管理サーバと通信することにより、電子決済を行うことを可能にする技術に関する。
続きを表示(約 1,300 文字)
【背景技術】
【0002】
種々のビジネスの分野において、ユーザが料金を決済する種々の方式が存在する。
【0003】
従来、例えば、駐車場に設置される券売機または精算機は、(1)ユーザが料金の決済(支払い(金銭または価値の移動)+取引成立のための情報入力(金銭または価値の移動という単なる物理的な現象に経済的な意味を与えるための情報))を行うことを可能にする決済機能と、(2)ユーザによる決済の代償としてそのユーザに駐車場の利用権限を付与するとともにその証明としてチケットまたは領収書を発行する発行機能とを有するように設計される。
【0004】
ユーザが駐車場の利用料金としての駐車料金を支払うタイミングとして、駐車場の利用に先立って駐車料金を支払う前払い式と、駐車場の利用後に駐車料金を支払う後払い式とがある。また、駐車料金を決済する方法として、現金決済と、プリペイド式ICカード決済と、後述の電子決済とがある。また、駐車料金を決済するために使用される媒体として、貨幣(現金、現金と等価な価値を有するプリペイド式ICカードやクレジットカードなど)、代用貨幣(使途が限定されるトークン、商品券、優待券など)、特典(使途が限定されるポイント、クーポン、割引券、割戻券など)、利用券(使途が限定される無料券など)などがある。
【0005】
よって、この出願書類の全体を通じ、「前払い式」または「後払い式」の決済といっても、その決済のためにユーザが貨幣を用いることは不可欠ではなく、代用貨幣を用いる場合も、特典を用いる場合も、利用券を用いる場合も、それらと等価な場合も、それらの媒体を組み合わせる場合も、「前払い式」または「後払い式」の決済に該当することを意味する。
【0006】
特許文献1は、自動販売機(現金決済可能。券売機に相当する)と、ユーザの携帯端末(通信端末の一例)と、サーバとを用いるシステムを開示している。
【0007】
その自動販売機においては、釣銭が発生すると、その釣銭と同じ現金価値を有する電子情報である電子バリューがサーバ内の口座に入金される。
【0008】
具体的には、まず、ユーザが携帯端末でサーバにアクセスし、必要な認証に成功した後、携帯端末がサーバからバーコードを受信する。次に、ユーザは、そのバーコードを表示している携帯端末を自動販売機のバーコードリーダーにかざす。
【0009】
続いて、自動販売機は、サーバと通信し、真正なバーコードであることが認証されると、サーバから販売許可を得る。
【0010】
その後、ユーザは、自動販売機において、決済選択ボタンのうち現金決済ボタンか電子バリュー決済ボタンを押す。ユーザが現金決済ボタンを押し、商品選択後、釣銭が発生すると、ユーザは、返却選択ボタンのうち現金返却ボタンか電子バリュー返却ボタンを押す。ユーザが電子バリュー返却ボタンを押すと、釣銭の金額に相当する電子バリューをサーバに送信する。
(【0011】以降は省略されています)
この特許をJ-PlatPat(特許庁公式サイト)で参照する
関連特許
個人
詐欺保険
1か月前
個人
縁伊達ポイン
1か月前
個人
5掛けポイント
21日前
個人
職業自動販売機
14日前
個人
RFタグシート
1か月前
個人
QRコードの彩色
1か月前
個人
地球保全システム
1か月前
個人
ペルソナ認証方式
29日前
個人
情報処理装置
24日前
個人
自動調理装置
1か月前
個人
農作物用途分配システム
1か月前
個人
表変換編集支援システム
2か月前
個人
残土処理システム
1か月前
個人
インターネットの利用構造
28日前
個人
タッチパネル操作指代替具
1か月前
個人
サービス情報提供システム
16日前
個人
知的財産出願支援システム
1か月前
個人
パスワード管理支援システム
2か月前
個人
スケジュール調整プログラム
1か月前
個人
携帯端末障害問合せシステム
1か月前
株式会社キーエンス
受発注システム
1か月前
個人
海外支援型農作物活用システム
2か月前
個人
エリアガイドナビAIシステム
29日前
株式会社キーエンス
受発注システム
1か月前
個人
AIキャラクター制御システム
2か月前
株式会社キーエンス
受発注システム
1か月前
個人
システム及びプログラム
2か月前
個人
食品レシピ生成システム
1か月前
キヤノン株式会社
画像認識装置
8日前
キヤノン株式会社
情報処理装置
8日前
個人
音声対話型帳票生成支援システム
2か月前
キヤノン株式会社
情報処理装置
8日前
大同特殊鋼株式会社
疵判定方法
2か月前
株式会社ワコム
電子ペン
23日前
キヤノン株式会社
情報処理装置
22日前
エッグス株式会社
情報処理装置
1か月前
続きを見る
他の特許を見る