TOP
|
特許
|
意匠
|
商標
特許ウォッチ
Twitter
他の特許を見る
10個以上の画像は省略されています。
公開番号
2025174864
公報種別
公開特許公報(A)
公開日
2025-11-28
出願番号
2025049137
出願日
2025-03-24
発明の名称
伸縮式ガセットファスナー及び二重伸縮式ガセットファスナー
出願人
ちょ州市預見旅游用品有限公司
,
CHUZHOU YUJIAN TRAVEL PRODUCT CO., LTD.
代理人
個人
主分類
A44B
19/34 20060101AFI20251120BHJP(小間物;貴金属宝石類)
要約
【課題】構造が簡単な伸縮式ガセットファスナーを提供する。
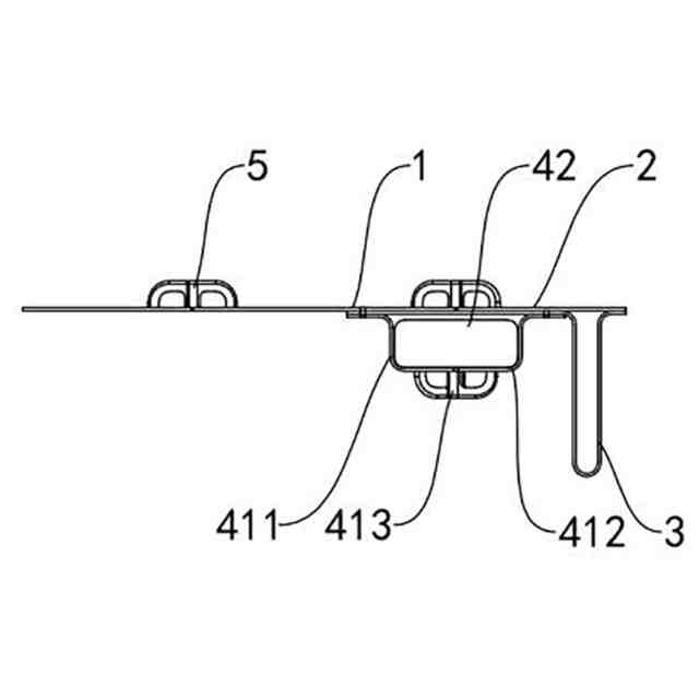
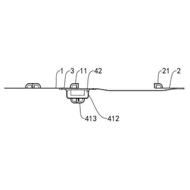
【解決手段】伸縮式ガセットファスナー及び二重伸縮式ガセットファスナーであって、第一のファスナー布1、第二のファスナー布2、伸縮布3、支持構造を含み、前記第一のファスナー布上に第一のファスナーエレメント11が配置され、前記第二のファスナー布上に第二のファスナーエレメントが配置され、伸縮布の両端はそれぞれ前記第一のファスナー布及び第二のファスナー布と接続され、前記支持構造は、第一のファスナーエレメントに接近するように配置され、且つ伸縮布の内側に設けられ、前記支持構造は、支持布41と支持部材42とを含み、前記支持布と前記伸縮布は、囲んで収容空間を形成し、前記支持部材は、前記収容空間内に配置され、且つその幅は、二つのファスナーエレメントが閉じる時の幅以上であり、それによってファスナーエレメント及び伸縮布を支持する。
【選択図】図5
特許請求の範囲
【請求項1】
伸縮式ガセットファスナーであって、第一のファスナー布と、第二のファスナー布と、伸縮布と、支持構造とを含み、前記第一のファスナー布上に第一のファスナーエレメントが配置され、前記第二のファスナー布上に第二のファスナーエレメントが配置され、前記伸縮布の両端は、それぞれ前記第一のファスナー布及び第二のファスナー布と接続され、前記支持構造は、前記第一のファスナーエレメントに接近するように配置され、且つ前記伸縮布の内側に設けられ、前記支持構造は、支持布と支持部材とを含み、前記支持布と前記伸縮布は、囲んで収容空間を形成し、前記支持部材は、前記収容空間内に配置され、且つその幅は、二つのファスナーエレメントが閉じる時の幅以上であり、それによってファスナーエレメント及び伸縮布を支持する、ことを特徴とする伸縮式ガセットファスナー。
続きを表示(約 940 文字)
【請求項2】
前記支持布は、第一の固定布と第二の固定布とを含み、二つの固定布の間は、内側ファスナーを介して接続される、ことを特徴とする請求項1に記載の伸縮式ガセットファスナー。
【請求項3】
前記第一の固定布の前記内側ファスナーから離れる端は、前記伸縮布と揃い、且つ前記伸縮布及び第一のファスナー布と縫い目により固定され、前記第二の固定布の前記内側ファスナーから離れる端は、前記伸縮布と縫い目により固定される、ことを特徴とする請求項2に記載の伸縮式ガセットファスナー。
【請求項4】
前記伸縮布の一端は、折り畳んで前記第一の固定布を形成し、この折り畳み部分は、前記第一のファスナー布と縫い目により固定される、ことを特徴とする請求項2に記載の伸縮式ガセットファスナー。
【請求項5】
前記収容空間は、環状であり、前記支持部材には、前記伸縮布に向かって支持面が設置され、前記支持面は、水平方向に沿って配置される、ことを特徴とする請求項1に記載の伸縮式ガセットファスナー。
【請求項6】
前記支持部材は、中空状である、ことを特徴とする請求項1に記載の伸縮式ガセットファスナー。
【請求項7】
前記第一のファスナーエレメントと第二のファスナーエレメントは、それぞれ前記第一のファスナー布と第二のファスナー布の内側に倒置される、ことを特徴とする請求項1から6のいずれか1項に記載の伸縮式ガセットファスナー。
【請求項8】
前記支持部材の材質は、プラスチック材料、金属、木質、皮革、炭素繊維又は発泡材料である、ことを特徴とする請求項1から6のいずれか1項に記載の伸縮式ガセットファスナー。
【請求項9】
二重伸縮式ガセットファスナーであって、二本の請求項1から6のいずれか1項に記載の伸縮式ガセットファスナーを含み、二つの前記第一のファスナー布の前記第一のファスナーエレメントから離れる端に主ファスナーエレメントが配置され、二つの前記第一のファスナー布は、前記主ファスナーエレメントを介して接続されるように構成される、ことを特徴とする二重伸縮式ガセットファスナー。
発明の詳細な説明
【技術分野】
【0001】
本発明は、ファスナー技術分野に関し、具体的には、伸縮式ガセットファスナー及び二重伸縮式ガセットファスナーに関する。
続きを表示(約 1,500 文字)
【背景技術】
【0002】
カバン分野では、伸縮式ガセット及び伸縮式ガセットファスナーの設置によってカバンの容量拡大を実現するのは、よく見られている構造であり、例えば中国実用新案CN217284960Uにより開示された二重伸縮式ガセットファスナーは、二列ファスナーを設置し、且つファスナーの間にカバン空間拡張に用いる可能な布ベルトを設置して伸縮式ガセット構造を形成することによって、カバン空間の拡張伸縮効果を実現する。従来の伸縮式ガセットファスナー構造は、一般的には図1と図2に示すように、伸縮式ガセットファスナー外側に鋼線ブラケットA1を設置し、且つ鋼線ブラケットA1のケーシングA2をファスナー布A3、伸縮式ガセットA4、エッジカバーA5と共に固定する。この構造は、カバン上によく幅広く使用されるが、プロセスが比較的複雑であるとともに、鋼線ブラケットA1の重量が比較的多く増加する。このために市場に図3と図4に示す伸縮式ガセットファスナーが現れ、この構造は、直接にファスナー布A3を伸縮式ガセットA4の縫い目と固定し、プロセスが簡単であり、重量が軽い。しかしながらこの伸縮式ガセットファスナーは、支持されず、しわが現れやすく、外観が平坦ではないことを引き起こすため、カバンの美しさも顕著に低下する。
【先行技術文献】
【特許文献】
【0003】
中国実用新案CN217284960U号公報
【発明の概要】
【発明が解決しようとする課題】
【0004】
本発明は、従来の伸縮式ガセットファスナープロセスが複雑であり及びしわができやすいという問題を改善するために、構造が簡単な伸縮式ガセットファスナーを開示する。
【課題を解決するための手段】
【0005】
本発明は、以下のような方案を採用する。
伸縮式ガセットファスナーは、第一のファスナー布と、第二のファスナー布と、伸縮布と、支持構造とを含み、前記第一のファスナー布上に第一のファスナーエレメントが配置され、前記第二のファスナー布上に第二のファスナーエレメントが配置され、前記伸縮布の両端は、それぞれ前記第一のファスナー布及び第二のファスナー布と接続され、前記支持構造は、前記第一のファスナーエレメントに接近するように配置され、且つ前記伸縮布の内側に設けられ、前記支持構造は、支持布と支持部材とを含み、前記支持布と前記伸縮布は、囲んで収容空間を形成し、前記支持部材は、前記収容空間内に配置され、且つその幅は、二つのファスナーエレメントが閉じる時の幅以上であり、それによってファスナーエレメント及び伸縮布を支持する。
【0006】
好ましくは、前記支持布は、第一の固定布と第二の固定布とを含み、二つの固定布の間は、内側ファスナーを介して接続される。
【0007】
好ましくは、前記第一の固定布の前記内側ファスナーから離れる端は、前記伸縮布と揃い、且つ前記伸縮布及び第一のファスナー布と縫い目により固定され、前記第二の固定布の前記内側ファスナーから離れる端は、前記伸縮布と縫い目により固定される。
【0008】
好ましくは、前記伸縮布の一端は、折り畳んで前記第一の固定布を形成し、この折り畳み部分は、前記第一のファスナー布と縫い目により固定される。
【0009】
好ましくは、前記収容空間は、環状であり、前記支持部材には、前記伸縮布に向かって支持面が設置され、前記支持面は、水平方向に沿って配置される。
【0010】
好ましくは、前記支持部材は、中空状である。
(【0011】以降は省略されています)
この特許をJ-PlatPat(特許庁公式サイト)で参照する
関連特許
個人
装飾体
12か月前
個人
装飾体
27日前
個人
名札留め
9か月前
個人
指輪
5か月前
個人
装身具
5か月前
個人
ベルト等の留め具
2か月前
個人
ネイルアクセサリー
10か月前
個人
スナップファスナー
7か月前
個人
装身具
4か月前
合同会社川畑
ベルト
10か月前
個人
爪装着具および爪装身具
7か月前
個人
荷物運搬軽減補助バックル
7か月前
モリト株式会社
バックル
7か月前
株式会社セベル・ピコ
イヤリング
10か月前
個人
装飾用部材、及び装飾品
1か月前
個人
缶製品及び缶製品作成方法
2か月前
YKK株式会社
ファスナー用引手
4か月前
株式会社トップジュエリー
装身具
5か月前
個人
縫わずにプッチンと取付けるボタン
8か月前
個人
腕時計のベルトの長さの採寸治具
2か月前
株式会社ニフコ
帯状体用アクセサリー
1か月前
株式会社Lin
裸石入れ替え式ペンダント石枠
2か月前
株式会社クロノコーポレーション
連結具
4日前
YKK株式会社
スライダー及びファスナー
4か月前
株式会社B.L.S.
固定構造および宝飾品
8か月前
株式会社クロスフォー
指輪、及びその製造方法
6か月前
高笙工業有限公司
ロープ締付装置
12か月前
YKK株式会社
スライダー
7か月前
アイティーボタン株式会社
ボタン
11か月前
株式会社円樹
装身具
1か月前
株式会社G-STARS
クリップ止め器具
7か月前
川北商店株式会社
がま口の金具装着用挟み止め具
8か月前
株式会社クロスフォー
装身具用のポスト及び装身具
2か月前
セイコーエプソン株式会社
距離調整機構
2か月前
YKK株式会社
バックル
7か月前
モリト株式会社
テープ状ストラップ及びその取付け具
5か月前
続きを見る
他の特許を見る