TOP
|
特許
|
意匠
|
商標
特許ウォッチ
Twitter
他の特許を見る
公開番号
2025174665
公報種別
公開特許公報(A)
公開日
2025-11-28
出願番号
2024081161
出願日
2024-05-17
発明の名称
車両用空調システム、及び空調デバイスの使用方法
出願人
日本碍子株式会社
代理人
アクシス国際弁理士法人
主分類
B60H
3/00 20060101AFI20251120BHJP(車両一般)
要約
【課題】再生処理から吸着処理へのスムーズな移行が可能な車両用空調システムを提供する。
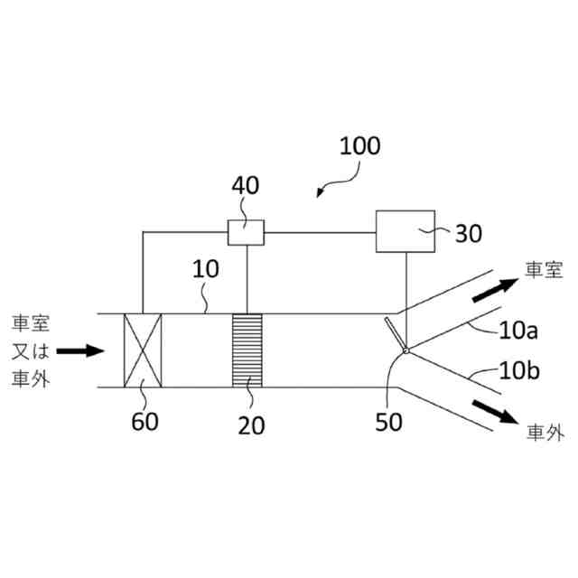
【解決手段】空気が流通可能な空調ダクト10と;外周壁23と、外周壁23の内側に配設され、第1端面24aから第2端面24bまで延びる空気の流路となる複数のセル25を区画形成する隔壁26とを有するハニカム構造体21、及び隔壁26の表面上に設けられ、吸着材を含有する吸着層27を備え、空調ダクト10内に配置される空調デバイス20と;空調デバイス20のセル25を流通する空気の流速を制御可能な制御部30とを備える車両用空調システム100である。吸着層27の再生処理の終期及び/又は再生処理後の吸着処理時において、制御部30は、吸着層27が吸着温度以上のときの空気の流速を、吸着層27が吸着温度未満のときの空気の流速よりも大きくなるように制御する。
【選択図】図1
特許請求の範囲
【請求項1】
空気が流通可能な空調ダクトと、
外周壁と、前記外周壁の内側に配設され、第1端面から第2端面まで延びる前記空気の流路となる複数のセルを区画形成する隔壁とを有するハニカム構造体、及び前記隔壁の表面上に設けられ、吸着材を含有する吸着層を備え、前記空調ダクト内に配置される空調デバイスと、
前記空調デバイスの前記セルを流通する前記空気の流速を制御可能な制御部と
を備え、
前記吸着層の再生処理の終期及び/又は前記再生処理後の吸着処理時において、前記制御部は、前記吸着層が吸着温度以上のときの前記空気の流速を、前記吸着層が吸着温度未満のときの前記空気の流速よりも大きくなるように制御する、車両用空調システム。
続きを表示(約 970 文字)
【請求項2】
前記空気の流速の制御が、前記再生処理の終了時から15秒以内に行われる、請求項1に記載の車両用空調システム。
【請求項3】
前記再生処理の終期が、前記再生処理の終了時から再生処理時間の1/4以内の前記再生処理中の期間である、請求項1に記載の車両用空調システム。
【請求項4】
前記再生処理と前記吸着処理とが繰り返し行われる、請求項1~3のいずれか一項に記載の車両用空調システム。
【請求項5】
前記吸着層が吸着温度未満のときの前記空気の流速に対する前記吸着層が吸着温度以上のときの前記空気の流速の比率が1.1以上である、請求項1~3のいずれか一項に記載の車両用空調システム。
【請求項6】
前記吸着層が吸着温度以上のときの前記空気の流速が0.03m/秒以上である、請求項1~3のいずれか一項に記載の車両用空調システム。
【請求項7】
前記吸着層の温度は、前記ハニカム構造体の温度、前記ハニカム構造体の抵抗値、前記ハニカム構造体の電流値、前記ハニカム構造体の加熱時間、前記ハニカム構造体を通過した前記空気の温度、及び前記ハニカム構造体を通過した前記空気の含有成分量から選択される少なくとも1つの条件パラメータと前記吸着層の温度との関係を予め求めておき、前記条件パラメータを測定することによって求められる、請求項1~3のいずれか一項に記載の車両用空調システム。
【請求項8】
前記空調ダクト内に配置された通風機を更に備え、前記制御部は前記通風機の回転数を調整することによって前記空気の流速を制御する、請求項1~3のいずれか一項に記載の車両用空調システム。
【請求項9】
前記空調ダクトは、前記空調デバイスの下流側で、前記空気を車室に流入させる第1経路と、前記空気を車外に排出させる第2経路とに分岐しており、前記第1経路と前記第2経路との間で前記空気の流れを切替え可能なバルブを更に備える、請求項1~3のいずれか一項に記載の車両用空調システム。
【請求項10】
前記空調デバイスに電圧を印加するための電源を更に備える、請求項9に記載の車両用空調システム。
(【請求項11】以降は省略されています)
発明の詳細な説明
【技術分野】
【0001】
本発明は、車両用空調システム、及び空調デバイスの使用方法に関する。
続きを表示(約 1,800 文字)
【背景技術】
【0002】
自動車などの各種車両において、車室環境の向上に対する要求が高まっている。具体的な要求としては、車室内のCO
2
を低減して運転者の眠気を抑制すること、車室内を調湿すること、及び車室内のにおい成分やアレルギー誘因成分などの有害な揮発成分を除去することなどが例示される。このような要求に有効な対策として換気が挙げられるが、換気は、冬場のヒーターエネルギーを大きくロスする要因となり、冬場のエネルギー効率の低下を招く。特に電気自動車(BEV:Battery Electric Vehicle)では、そのエネルギーロスにより、航続距離が大幅に減少するという問題がある。
【0003】
上記の問題を解決する方法として、特許文献1には、外周壁と、外周壁の内側に配設され、一方の端面から他方の端面まで延びる流路を形成する複数のセルを区画形成する隔壁とを有し、少なくとも隔壁がPTC(Positive Temperature Coefficient)特性を有する材料で構成されたハニカム構造体、及びハニカム構造体の所定の位置に設けられた一対の電極を備え、水蒸気やCO
2
などを吸着する吸着層(機能材含有層)を隔壁の表面上に有するヒーターエレメントが提案されている。
【先行技術文献】
【特許文献】
【0004】
国際公開第2023/074202号
【発明の概要】
【発明が解決しようとする課題】
【0005】
車室内の湿度が高い場合、吸着層に吸着される水分が飽和し易くなるため、吸着層を再生処理した後に吸着処理を繰り返し行うことが必要になる。このとき車室内を効率良く除湿するためには、再生処理から吸着処理へのスムーズな移行が重要となる。
しかしながら、特許文献1のヒーターエレメントを用いただけでは、再生処理時に加熱された吸着層が冷却され難いため、吸着処理に移行するのに時間がかかってしまう。
本発明は、上記のような問題を解決するためになされたものであり、再生処理から吸着処理へのスムーズな移行が可能な車両用空調システム、及び空調デバイスの使用方法を提供することを目的とする。
【課題を解決するための手段】
【0006】
本発明者らは、空調デバイスを備える車両用空調システムについて鋭意研究を行った結果、吸着層の再生処理の終期及び/又は再生処理後の吸着処理時において、吸着層が吸着温度以上のときの空気の流速を、吸着層が吸着温度未満のときの空気の流速よりも大きくなるように制御することにより、吸着材の吸着能力を発揮できる温度まで吸着層を迅速に冷却し、再生処理から吸着処理へのスムーズな移行が可能になることを見出し、本発明を完成するに至った。すなわち、本発明は、以下のように例示される。
【0007】
<1> 空気が流通可能な空調ダクトと、
外周壁と、前記外周壁の内側に配設され、第1端面から第2端面まで延びる前記空気の流路となる複数のセルを区画形成する隔壁とを有するハニカム構造体、及び前記隔壁の表面上に設けられ、吸着材を含有する吸着層を備え、前記空調ダクト内に配置される空調デバイスと、
前記空調デバイスの前記セルを流通する前記空気の流速を制御可能な制御部と
を備え、
前記吸着層の再生処理の終期及び/又は前記再生処理後の吸着処理時において、前記制御部は、前記吸着層が吸着温度以上のときの前記空気の流速を、前記吸着層が吸着温度未満のときの前記空気の流速よりも大きくなるように制御する、車両用空調システム。
【0008】
<2> 前記空気の流速の制御が、前記再生処理の終了時から15秒以内に行われる、<1>に記載の車両用空調システム。
【0009】
<3> 前記再生処理の終期が、前記再生処理の終了時から再生処理時間の1/4以内の前記再生処理中の期間である、<1>に記載の車両用空調システム。
【0010】
<4> 前記再生処理と前記吸着処理とが繰り返し行われる、<1>~<3>のいずれか一つに記載の車両用空調システム。
(【0011】以降は省略されています)
この特許をJ-PlatPat(特許庁公式サイト)で参照する
関連特許
日本碍子株式会社
蒸発器
2日前
日本碍子株式会社
把持方法
1か月前
日本碍子株式会社
熱交換器
1か月前
日本碍子株式会社
熱交換器
2か月前
日本碍子株式会社
ウエハ載置台
1か月前
日本碍子株式会社
回収システム
2日前
日本碍子株式会社
空調システム
1か月前
日本碍子株式会社
亜鉛二次電池
1か月前
日本碍子株式会社
電気化学セル
24日前
日本碍子株式会社
ハニカム構造体
1か月前
日本碍子株式会社
電気加熱式担体
1か月前
日本碍子株式会社
ハニカム構造体
1か月前
日本碍子株式会社
ハニカム構造体
1か月前
日本碍子株式会社
ハニカム構造体
1か月前
日本碍子株式会社
電気加熱式担体
1か月前
日本碍子株式会社
ハニカム構造体
2か月前
日本碍子株式会社
ハニカム構造体
2か月前
日本碍子株式会社
セラミックヒータ
3日前
日本碍子株式会社
メタン製造反応器
1か月前
日本碍子株式会社
ハニカムフィルタ
1か月前
日本碍子株式会社
アルカリ二次電池
2か月前
日本碍子株式会社
導波素子の製造方法
2か月前
日本碍子株式会社
車両用空調システム
2日前
日本碍子株式会社
車両用調湿システム
2日前
日本碍子株式会社
ウォーキングビーム炉
1か月前
日本碍子株式会社
半導体製造装置用部材
2か月前
日本碍子株式会社
三相型ハニカムヒータ
1か月前
日本碍子株式会社
セラミックサセプター
1か月前
日本碍子株式会社
半導体製造装置用ヒータ
1か月前
日本碍子株式会社
浄水膜構造体の製造方法
1か月前
日本碍子株式会社
センサ素子及びガスセンサ
1か月前
日本碍子株式会社
センサ素子およびガスセンサ
2か月前
日本碍子株式会社
セラミックス部材の製造方法
1か月前
日本碍子株式会社
ロボットハンドおよびロボット
1か月前
日本碍子株式会社
ロボットハンドおよびロボット
1か月前
日本碍子株式会社
セラミックス試料の酸分解方法
1か月前
続きを見る
他の特許を見る