TOP
|
特許
|
意匠
|
商標
特許ウォッチ
Twitter
他の特許を見る
公開番号
2025174255
公報種別
公開特許公報(A)
公開日
2025-11-28
出願番号
2024080412
出願日
2024-05-16
発明の名称
電気音響変換器、電気音響変換器の製造方法
出願人
パナソニックオートモーティブシステムズ株式会社
代理人
個人
,
個人
,
個人
主分類
H04R
9/04 20060101AFI20251120BHJP(電気通信技術)
要約
【課題】ボビンにダンパーを取り付ける
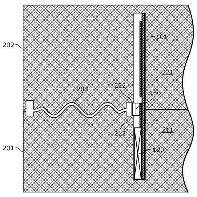
【解決手段】電気音響変換器100は、筒状のボビン110と、ボビン110の一端部に巻き付けられるボイスコイル120と、ボイスコイル120が配置される管状の磁気ギャップを有する磁気回路170と、磁気回路170が取り付けられるフレーム130と、ボビン110とフレーム130とに結合される振動板140と、ボイスコイル120と振動板140との間において、ボビン110の外周面から外向きに突出するフランジ部150と、フランジ部150の外周面に接続され、磁気回路170またはフレーム130に接続されるダンパー160と、を備える。
【選択図】図3
特許請求の範囲
【請求項1】
筒状のボビンと、
前記ボビンの一端部に巻き付けられるボイスコイルと、
前記ボイスコイルが配置される管状の磁気ギャップを有する磁気回路と、
前記磁気回路が取り付けられるフレームと、
前記ボビンと前記フレームとに結合される振動板と、
前記ボイスコイルと前記振動板との間において、前記ボビンの外周面から外向きに突出するフランジ部と、
前記フランジ部の外周面に接続され、前記磁気回路または前記フレームに接続されるダンパーと、
を備える電気音響変換器。
続きを表示(約 850 文字)
【請求項2】
前記フランジ部は、紙である
請求項1に記載の電気音響変換器。
【請求項3】
前記ボビンの外周面からの前記フランジ部の突出量は、前記ボビンの外周面からの前記ボイスコイルの突出量よりも多い
請求項1または2に記載の電気音響変換器。
【請求項4】
前記ボイスコイルの巻き軸方向において、前記ボビンの前記ボイスコイルが取り付けられている一端部と反対側の他端部には、目印が設けられ、
前記振動板は、
前記目印と前記フランジ部との間の前記ボビンの外周面に取り付けられる
請求項1または2に記載の電気音響変換器。
【請求項5】
前記ボイスコイルの両端部にそれぞれ電気的に接続される接続部材を備え、
前記接続部材は、
前記ボビンと前記フランジ部との間を通過する様に配線される
請求項1または2に記載の電気音響変換器。
【請求項6】
前記ボイスコイルの両端部にそれぞれ電気的に接続される接続部材を備え、
前記ボビンは、
筒状の内側部材と、
前記内側部材の外側かつ前記ボイスコイル側に配置される筒状の第一外側部材と、
前記内側部材の外側かつ前記振動板側において前記第一外側部材と隙間を開けて配置される筒状の第二外側部材と、
を備え、
前記接続部材は、
前記内側部材と前記第一外側部材との間を通過し、前記第一外側部材と前記第二外側部材との隙間を通過する様に配線される
請求項1または2に記載の電気音響変換器。
【請求項7】
請求項1または請求項2に記載の電気音響変換器の製造方法であって、
前記ボイスコイルの巻き軸方向において、前記フランジ部の全周を挟むように配置された第一型部、および第二型部の隙間に樹脂を充填して前記ダンパーを形成する
電気音響変換器の製造方法。
発明の詳細な説明
【技術分野】
【0001】
本開示は、電気信号を音に変換するスピーカ、音を電気信号に変換するマイクなどの電気音響変換器に関する。
続きを表示(約 1,800 文字)
【背景技術】
【0002】
従来、特許文献1の記載のように、ボイスコイルが取り付けられるボビンにダンパーが接続されたスピーカが存在している。また、特許文献2には、ボビンとダンパーとが一体成形されたスピーカが記載されている。
【先行技術文献】
【特許文献】
【0003】
特開平9-307993号公報
特開平2-248200号公報
【発明の概要】
【発明が解決しようとする課題】
【0004】
ところが、ボビンとダンパーとの接続は、手作業で行われる場合があり、ダンパーの取り付け位置を決定する作業などが煩雑になる。ボビンとダンパーとを一体成形する場合、手作業は不要となるが、ボビンに求められる機能とダンパーに求められる機能とが相反するにも関わらず同じ材質で成形されるためスピーカとして必要な特性を得ることが困難になる場合が多い。
【0005】
本開示は、上記課題に鑑みなされたものであり、ボビンにダンパーを容易に取り付けることができる電気音響変換器を提供する。
【課題を解決するための手段】
【0006】
本開示に係る電気音響変換器は、筒状のボビンと、前記ボビンの一端部に巻き付けられるボイスコイルと、前記ボイスコイルが配置される管状の磁気ギャップを有する磁気回路と、前記磁気回路が取り付けられるフレームと、前記ボビンと前記フレームとに結合される振動板と、前記ボイスコイルと前記振動板との間において、前記ボビンの外周面から外向きに突出するフランジ部と、前記フランジ部の外周面に接続され、前記磁気回路または前記フレームに接続されるダンパーと、を備える。
【0007】
本開示に係る電気音響変換器の製造方法は、筒状のボビンと、前記ボビンの一端部に巻き付けられるボイスコイルと、前記ボイスコイルが配置される管状の磁気ギャップを有する磁気回路と、前記磁気回路が取り付けられるフレームと、前記ボビンと前記フレームとに結合される振動板と、前記ボイスコイルと前記振動板との間において、前記ボビンの外周面から外向きに突出するフランジ部と、前記フランジ部の外周面に接続され、前記磁気回路または前記フレームに接続されるダンパーと、を備える電気音響変換器の製造方法であって、前記ボイスコイルの巻き軸方向において、前記フランジ部の全周を挟むように配置された第一型部、および第二型部の隙間に樹脂を充填して前記ダンパーを形成する。
【発明の効果】
【0008】
本開示によれば、フランジ部を介してダンパーをボビンに容易に取り付けることが可能となる。
【図面の簡単な説明】
【0009】
電気音響変換器の内部構造を示す断面図である。
ボビン、ボイスコイル、フランジ部、およびダンパーの組み立てた状態を示す斜視図である。
ボビン、ボイスコイル、フランジ部、およびダンパーの組み立てた状態を示す断面図である。
ダンパーを射出成形により成形しつつダンパーとフランジ部とを接続する第一工程を示す図である。
ダンパーを射出成形により成形しつつダンパーとフランジ部とを接続する第二工程を示す図である。
ダンパーを射出成形により成形しつつダンパーとフランジ部とを接続する第三工程を示す図である。
ダンパーを射出成形により成形しつつダンパーとフランジ部とを接続する第一工程を別の角度から示す図である。
ダンパーの別例を示す斜視図である。
【発明を実施するための形態】
【0010】
以下、本発明に係る電気音響変換器、電気音響変換器の製造方法の実施の形態について、図面を参照しつつ説明する。なお、以下の実施の形態は、本発明を説明するために一例を挙示するものであり、本発明を限定する主旨ではない。例えば、以下の実施の形態において示される形状、構造、材料、構成要素、相対的位置関係、接続状態、数値、数式、方法における各段階の内容、各段階の順序などは、一例であり、以下に記載されていない内容を含む場合がある。また、平行、直交などの幾何学的な表現を用いる場合があるが、これらの表現は、数学的な厳密さを示すものではなく、実質的に許容される誤差、ずれなどが含まれる。また、同時、同一などの表現も、実質的に許容される範囲を含んでいる。
(【0011】以降は省略されています)
この特許をJ-PlatPat(特許庁公式サイト)で参照する
関連特許
個人
イヤーピース
23日前
個人
イヤーマフ
1か月前
個人
監視カメラシステム
1か月前
キーコム株式会社
光伝送線路
1か月前
個人
スイッチシステム
1か月前
個人
スキャン式車載用撮像装置
1か月前
サクサ株式会社
中継装置
1か月前
サクサ株式会社
中継装置
1か月前
キヤノン株式会社
撮像装置
2日前
サクサ株式会社
無線通信装置
1か月前
個人
映像表示装置、及びARグラス
1か月前
キヤノン電子株式会社
画像読取装置
1か月前
キヤノン電子株式会社
画像読取装置
23日前
サクサ株式会社
無線通信装置
1か月前
キヤノン電子株式会社
画像読取装置
1か月前
サクサ株式会社
無線システム
1か月前
株式会社リコー
画像形成装置
1か月前
ヤマハ株式会社
放音制御装置
1か月前
キヤノン株式会社
画像処理装置
26日前
キヤノン電子株式会社
シート搬送装置
23日前
個人
発信機及び発信方法
1か月前
キヤノン株式会社
情報処理装置
10日前
日本電気株式会社
海底分岐装置
1か月前
日本セラミック株式会社
超音波送受信器
10日前
シャープ株式会社
表示装置
23日前
有限会社フィデリックス
マイクロフォン
1か月前
キヤノン電子株式会社
画像処理システム
1か月前
シャープ株式会社
表示装置
23日前
株式会社NTTドコモ
端末
1か月前
株式会社JVCケンウッド
通信システム
1か月前
沖電気工業株式会社
画像形成装置
1か月前
株式会社NTTドコモ
端末
1か月前
シャープ株式会社
端末装置
1か月前
沖電気工業株式会社
画像形成装置
2か月前
株式会社NTTドコモ
端末
1か月前
株式会社NTTドコモ
端末
1か月前
続きを見る
他の特許を見る