TOP
|
特許
|
意匠
|
商標
特許ウォッチ
Twitter
他の特許を見る
10個以上の画像は省略されています。
公開番号
2025174071
公報種別
公開特許公報(A)
公開日
2025-11-28
出願番号
2024080105
出願日
2024-05-16
発明の名称
太陽光発電パネル可動機構
出願人
株式会社スペースハウリング
代理人
個人
主分類
H02S
20/10 20140101AFI20251120BHJP(電力の発電,変換,配電)
要約
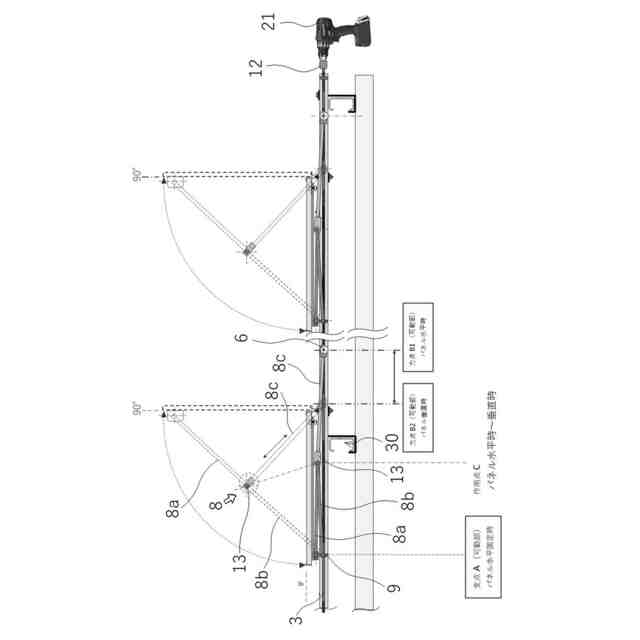
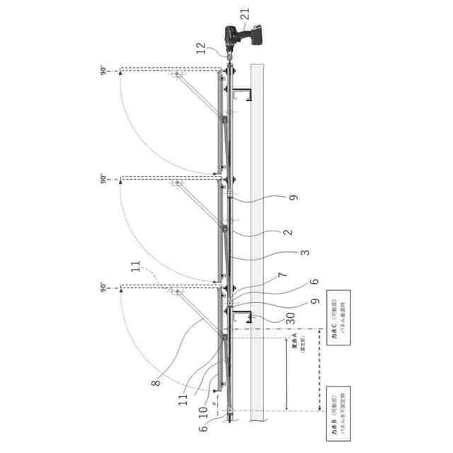
【課題】並列する複数の太陽光発電パネルを同時に起立もしくは傾倒できるとともに、起立状態では太陽光発電パネルを安定して支承でき、また、駆動軸は太陽光発電パネルを回動可能に支承するチャンネル状ガイドレールの内部に収めたので上下に高さを必要とせず、例えば、屋上や屋根上等にも設置が適する太陽光発電パネル可動機構を提供する。
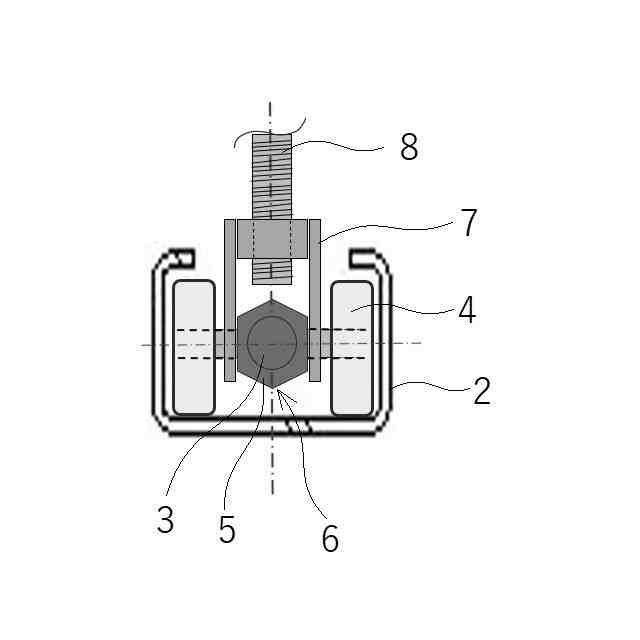
【解決手段】太陽光発電パネル10を回動可能に支承するチャンネル状ガイドレール2の内部に螺子シャフトによる駆動軸3を収め、該駆動軸3にナットによるスライドベースブロック6を前記チャンネル状ガイドレール2の内部で螺合し、太陽光発電パネル10の一端は他所にヒンジ結合するとともに太陽光発電パネル10とスライドベースブロック6とを端部を軸着するパネル支持アーム8で結合した。
【選択図】図1
特許請求の範囲
【請求項1】
太陽光発電パネルを回動可能に支承するチャンネル状ガイドレールの内部に螺子シャフトによる駆動軸を収め、該駆動軸にナットによるスライドベースブロックを前記チャンネル状ガイドレールの内部で螺合し、太陽光発電パネルの一端は他所にヒンジ結合するとともに太陽光発電パネルとスライドベースブロックとを端部を軸着するパネル支持アームで結合したことを特徴とする太陽光発電パネル可動機構。
続きを表示(約 480 文字)
【請求項2】
チャンネル状ガイドレールは太陽光発電パネルを水平状態から垂直状態に可逆的に回動可能に支承する請求項1記載の太陽光発電パネル可動機構。
【請求項3】
駆動軸の端に、駆動軸を駆動する発動機を取り付け可能とした請求項1または請求項2記載の太陽光発電パネル可動機構。
【請求項4】
パネル支持アームは太陽光発電パネル中央部に軸着する請求項1記載の太陽光発電パネル可動機構。
【請求項5】
パネル支持アームは三角形の斜辺を構成する上下アームとこれら上下アームをそれらの結合部でユニバーサルジョイントによるクロス結合部を介して結合する対角線アームとからなり、前記上下アームおよび対角線アームは折り畳み可能で、対角線アームの下端はスライドベースブロックに端部を軸着し、上アームの先端はパネル支持アームの太陽光発電パネル上部に軸着した請求項1記載の太陽光発電パネル可動機構。
【請求項6】
太陽光発電パネルは1枚~50枚を並列させる請求項1または請求項2記載の太陽光発電パネル可動機構。
発明の詳細な説明
【技術分野】
【0001】
本発明は、太陽光発電パネルの可動機構、例えば、豪雪地域における積雪対策として太陽光発電パネルを立てるための太陽光発電パネル可動機構に関するものである。
続きを表示(約 1,200 文字)
【背景技術】
【0002】
太陽光発電は、脱炭素の観点からも注目され、普及が進んでいる。
【0003】
太陽光発電に用いられる太陽光発電パネルは、当たる太陽光が多ければ発電量も増すため、季節によって変化する太陽高度に応じて太陽電池モジュール(太陽光発電パネル)の傾斜角度を変更できる太陽光発電パネルの架台も下記特許文献に示すように各種提案されている。
特開2005-126930号公報
特開2013-219174号公報
特開2001-217447号公報
特開2007-180257号公報
【0004】
特許文献1にはフェンス形状の太陽光発電パネル架台の一例として、延設されたフェンスの上端付近に板状の太陽光発電パネルが、フェンスの延設方向に沿って上向きに傾斜されて設けられており、板状の太陽光発電パネルは傾斜角度が変更可能となされている発電フェンスが開示されている。
【0005】
特許文献2には、間隔をあけて立設した支柱間に、太陽電池モジュールを傾斜自在に掛け渡して設けた太陽電池用架台において、降雪期以外は太陽電池モジュールを太陽に向けて傾斜させ、降雪期は太陽電池モジュールの設置角を垂直に変更可能とし、太陽電池モジュール上へ積雪を防止した太陽電池モジュール用架台が開示されている。
【0006】
特許文献3には駆動軸を用いて太陽光発電パネルの一端を上下させて太陽光発電パネルの設置角を垂直にすることに関し、例えば、支柱(架台)に連結した伸縮自在なアーム(ピストン)を用いる機構が開示されている。
【0007】
特許文献4には、スライド自在な長尺な断面矩形状のジャッキを用いる機構(特許文献4)、などが開示されている。
【発明の概要】
【発明が解決しようとする課題】
【0008】
特許文献1に開示された技術では、板状の太陽光発電パネルの傾斜角度は可動範囲内で太陽光の強度が最大となる様に回転手段により傾斜角度が変更される。
【0009】
しかし、特許文献1に開示された技術は、発電効率は考慮されてはいるが降雪地帯でモジュール上への積雪を防止することは示されていない。風を伴わない降雪だと傾斜した太陽電池モジュール上には積雪し、効率どころか全く発電しなくなってしまう。また、豪雪地域では、積もった雪の重みにより、太陽電池モジュール自体が破損してしまう問題があった。
【0010】
特許文献2に開示された太陽電池用架台は、パネル取付アームを固定するアーム支持バーの固定孔のボルトを抜き取って固定を解除し、太陽光発電パネルを垂直に変化させる。その後、太陽光発電パネルを垂直状態で固定孔にボルトを挿通して固定する必要があり、作業が非常に煩雑である。
(【0011】以降は省略されています)
この特許をJ-PlatPat(特許庁公式サイト)で参照する
関連特許
個人
電気を重力で発電装置
24日前
個人
高圧電気機器の開閉器
11日前
キヤノン電子株式会社
モータ
23日前
キヤノン電子株式会社
モータ
1か月前
日星電気株式会社
ケーブル組立体
1か月前
コーセル株式会社
電源装置
1か月前
トヨタ自動車株式会社
モータ
23日前
株式会社アイドゥス企画
減反モータ
11日前
株式会社デンソー
端子台
4日前
個人
二次電池繰返パルス放電器用印刷基板
1か月前
株式会社ミツバ
回転電機
1か月前
ローム株式会社
半導体集積回路
2日前
株式会社デンソー
電力変換装置
1か月前
トヨタ自動車株式会社
固定子の加熱装置
1か月前
矢崎総業株式会社
電源回路
10日前
株式会社日立製作所
回転電機
2日前
矢崎総業株式会社
給電装置
3日前
株式会社デンソー
非接触受電装置
1か月前
株式会社TMEIC
制御装置
3日前
山洋電気株式会社
モータ
1か月前
ローム株式会社
モータドライバ回路
18日前
日産自動車株式会社
ロータシャフト
18日前
日産自動車株式会社
ロータシャフト
18日前
個人
非対称鏡像力を有する4層PWB電荷搬送体
18日前
大和ハウス工業株式会社
敷設用機器
3日前
トヨタ自動車株式会社
ステータの製造装置
24日前
トヨタ紡織株式会社
ロータの製造装置
1か月前
株式会社マキタ
電動作業機
1か月前
個人
電線盗難防止方法及び電線盗難防止装置
1か月前
トヨタ自動車株式会社
可変界磁ロータ
26日前
株式会社アイシン
電力変換装置
23日前
株式会社TMEIC
電力変換装置
3日前
株式会社TMEIC
電力変換装置
1か月前
株式会社明治ゴム化成
ワイヤレス給電用部品
1か月前
株式会社土井製作所
ケーブル保護管路
2日前
京商株式会社
模型用非接触電力供給システム
11日前
続きを見る
他の特許を見る