TOP
|
特許
|
意匠
|
商標
特許ウォッチ
Twitter
他の特許を見る
10個以上の画像は省略されています。
公開番号
2025173701
公報種別
公開特許公報(A)
公開日
2025-11-28
出願番号
2024079389
出願日
2024-05-15
発明の名称
情報処理装置、情報処理方法及び情報処理プログラム
出願人
PayPay株式会社
代理人
弁理士法人酒井国際特許事務所
主分類
G06F
16/90 20190101AFI20251120BHJP(計算;計数)
要約
【課題】ユーザの質問への適切な回答を作成するための検索性能を向上させる。
【解決手段】本願に係る情報処理装置は、検索部と、特定部とを備える。検索部は、ユーザの質問に基づく情報との類似度が高い世代対象であって第1世代対象に基づいて生成された世代対象である第2世代対象を検索する。特定部は、検索部により検索された第2世代対象に基づいて、質問への回答の作成のための基となる第1世代対象を特定する。
【選択図】図10
特許請求の範囲
【請求項1】
ユーザの質問に基づく情報との類似度が高い世代対象であって第1世代対象に基づいて生成された世代対象である第2世代対象を検索する検索部と、
前記検索部により検索された第2世代対象に基づいて、前記質問への回答の作成のための基となる前記第1世代対象を特定する特定部と、
を有することを特徴とする情報処理装置。
続きを表示(約 1,000 文字)
【請求項2】
前記検索部は、
前記質問を、所定の質問への仮回答の生成又は所定の質問と類似する一又は複数の質問の生成が可能な生成AIへ提供することで生成された前記情報との前記類似度が高い前記第2世代対象を検索する
ことを特徴とする請求項1に記載の情報処理装置。
【請求項3】
前記検索部は、
前記第2世代対象を検索するために前記質問とともに前記類似度が判定される前記情報を生成するためのプロンプトと前記質問とを前記生成AIへ提供することで生成された前記情報に基づき前記第2世代対象を検索する
ことを特徴とする請求項2に記載の情報処理装置。
【請求項4】
前記第2世代対象は、前記第1世代対象を所定の文章単位で分割することで生成された世代対象である
ことを特徴とする請求項1に記載の情報処理装置。
【請求項5】
前記第2世代対象は、前記第1世代対象を、最大文字数以下となるように文章単位で区切って分割することで生成された世代対象である
ことを特徴とする請求項1に記載の情報処理装置。
【請求項6】
前記第1世代対象は、質問への回答に用いることを前提として所定のソースデータから生成された世代対象である
ことを特徴とする請求項1に記載の情報処理装置。
【請求項7】
前記所定のソースデータは、社内用に作成された社内規定である
ことを特徴とする請求項6に記載の情報処理装置。
【請求項8】
コンピュータが実行する情報処理方法であって、
ユーザの質問に基づく情報との類似度が高い世代対象であって第1世代対象に基づいて生成された世代対象である第2世代対象を検索する検索工程と、
前記検索工程により検索された第2世代対象に基づいて、前記質問への回答の作成のための基となる前記第1世代対象を特定する特定工程と、
を含むことを特徴とする情報処理方法。
【請求項9】
ユーザの質問に基づく情報との類似度が高い世代対象であって第1世代対象に基づいて生成された世代対象である第2世代対象を検索する検索手順と、
前記検索手順により検索された第2世代対象に基づいて、前記質問への回答の作成のための基となる前記第1世代対象を特定する特定手順と、
をコンピュータに実行させることを特徴とする情報処理プログラム。
発明の詳細な説明
【技術分野】
【0001】
本発明は、情報処理装置、情報処理方法及び情報処理プログラムに関する。
続きを表示(約 1,800 文字)
【背景技術】
【0002】
従来、チャットボットなどの自動応答サービスが普及しつつある。例えば、ユーザが質問を入力すると、検索モデルを利用してユーザの質問に対応する文章を参照しながら回答を作成する技術が知られている。
【先行技術文献】
【特許文献】
【0003】
特開2023-076413号公報
【発明の概要】
【発明が解決しようとする課題】
【0004】
しかしながら、従来の技術では、例えば、ユーザの質問が抽象的な場合や、質問への回答の作成時の文章の参照において似た文章が多い場合や、回答のソース元が不明で正誤判断がし難い場合など、ユーザの質問への適切な回答を提供することができない場合があった。
【0005】
本願は、上記に鑑みてなされたものであって、ユーザの質問への適切な回答を作成するための検索性能を向上させることを目的とする。
【課題を解決するための手段】
【0006】
本願に係る情報処理装置は、ユーザの質問に基づく情報との類似度が高い世代対象であって第1世代対象に基づいて生成された世代対象である第2世代対象を検索する検索部と、前記検索部により検索された第2世代対象に基づいて、前記質問への回答の作成のための基となる前記第1世代対象を特定する特定部と、を有することを特徴とする。
【発明の効果】
【0007】
実施形態の一態様によれば、ユーザの質問への適切な回答を作成するための検索性能を向上させることができるという効果を奏する。
【図面の簡単な説明】
【0008】
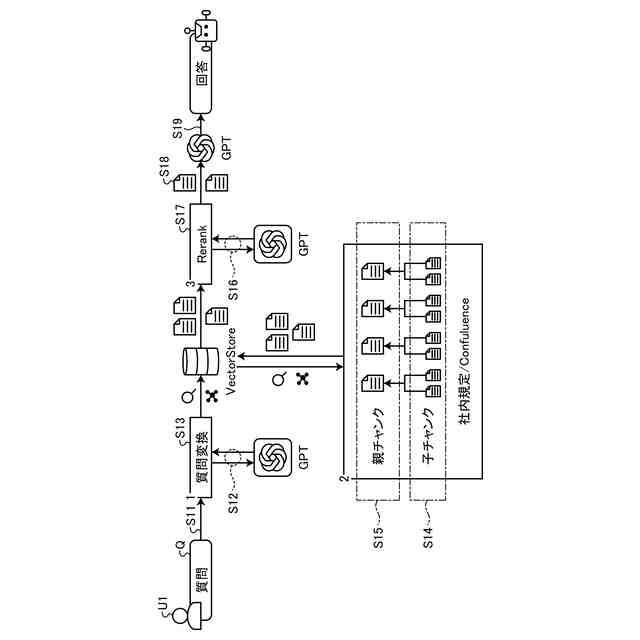
図1は、実施形態に係る情報処理の概要を説明するための説明図である。
図2は、実施形態に係る情報処理システムの構成例を示す図である。
図3は、実施形態に係る情報処理の一例を示す図である。
図4は、実施形態に係る情報処理(質問変換)の一例を示す図である。
図5は、実施形態に係る情報処理(検索改良)の一例を示す図である。
図6Aは、実施形態に係る第1世代対象及び第2世代対象の関係を説明するための説明図(1)である。
図6Bは、実施形態に係る第1世代対象及び第2世代対象の関係を説明するための説明図(2)である。
図7は、実施形態に係る情報処理(リランク)の一例を示す図である。
図8は、実施形態に係るリランクを説明するための説明図である。
図9は、実施形態に係る端末装置の構成例を示す図である。
図10は、実施形態に係る情報処理装置の構成例を示す図である。
図11は、実施形態に係る第1世代対象記憶部の一例を示す図である。
図12は、実施形態に係る第2世代対象記憶部の一例を示す図である。
図13は、実施形態に係る質問変換処理の一例を示すフローチャートである。
図14は、実施形態に係る検索改良処理の一例を示すフローチャートである。
図15は、実施形態に係るリランク処理の一例を示すフローチャートである。
図16は、情報処理装置の機能を実現するコンピュータの一例を示すハードウェア構成図である。
【発明を実施するための形態】
【0009】
以下に、本願に係る情報処理装置、情報処理方法及び情報処理プログラムを実施するための形態(以下、「実施形態」と呼ぶ)について図面を参照しつつ詳細に説明する。なお、この実施形態により本願に係る情報処理装置、情報処理方法及び情報処理プログラムが限定されるものではない。また、以下の各実施形態において同一の部位には同一の符号を付し、重複する説明は省略される。
【0010】
(実施形態)
〔1.情報処理の概要〕
従来、チャットボットなどの自動応答サービスが普及しつつある。例えば、ユーザが質問を入力すると、検索モデルを利用してユーザの質問に対応する文章を参照しながら回答を作成する技術が知られている。しかしながら、従来の技術では、例えば、ユーザの質問が抽象的な場合や、質問への回答の作成時の文章の参照において似た文章が多い場合や、回答のソース元が不明で正誤判断がし難い場合など、ユーザの質問への適切な回答を提供することができない場合があった。
(【0011】以降は省略されています)
この特許をJ-PlatPat(特許庁公式サイト)で参照する
関連特許
PayPay株式会社
情報処理装置、情報処理方法、およびプログラム
2か月前
PayPay株式会社
情報処理装置、情報処理方法、およびプログラム
4日前
PayPay株式会社
情報処理装置、情報処理方法、およびプログラム
27日前
PayPay株式会社
情報処理装置、情報処理方法、およびプログラム
4日前
PayPay株式会社
情報処理装置、情報処理方法及び情報処理プログラム
11日前
PayPay株式会社
情報処理装置、情報処理方法及び情報処理プログラム
11日前
PayPay株式会社
情報処理装置、情報処理方法及び情報処理プログラム
11日前
PayPay株式会社
情報処理装置、情報処理方法、及び情報処理プログラム
1か月前
PayPay株式会社
情報処理装置、情報処理方法、及び情報処理プログラム
1か月前
PayPay株式会社
辞書作成方法、辞書作成装置、プログラム、および情報提供装置
4日前
PayPay株式会社
情報処理装置、情報処理装置の情報処理方法、およびプログラム
19日前
PayPay株式会社
アプリケーションプログラム、決済システム、および端末装置の制御方法
4日前
PayPay株式会社
アプリケーションプログラム、決済システム、および端末装置の制御方法
4日前
PayPay株式会社
決済サーバ、金融機関サーバ、決済システム、決済方法、およびプログラム
2か月前
PayPay株式会社
アプリケーションプログラム、決済システム、決済管理装置、およびプログラム
4日前
PayPay株式会社
情報処理装置、情報処理方法、およびプログラム
4日前
PayPay株式会社
辞書作成方法、辞書作成装置、プログラム、および情報提供装置
4日前
PayPay株式会社
アプリケーションプログラム、決済システム、および端末装置の制御方法
4日前
PayPay株式会社
アプリケーションプログラム、決済システム、決済管理装置、およびプログラム
4日前
個人
詐欺保険
1か月前
個人
縁伊達ポイン
1か月前
個人
職業自動販売機
25日前
個人
RFタグシート
1か月前
個人
5掛けポイント
1か月前
個人
ペルソナ認証方式
1か月前
個人
QRコードの彩色
2か月前
個人
情報処理装置
1か月前
個人
自動調理装置
1か月前
個人
立体グラフの利用方法
4日前
個人
農作物用途分配システム
1か月前
個人
残土処理システム
2か月前
個人
タッチパネル操作指代替具
1か月前
個人
知的財産出願支援システム
2か月前
個人
サービス情報提供システム
27日前
個人
インターネットの利用構造
1か月前
NISSHA株式会社
入力装置
5日前
続きを見る
他の特許を見る