TOP
|
特許
|
意匠
|
商標
特許ウォッチ
Twitter
他の特許を見る
10個以上の画像は省略されています。
公開番号
2025178478
公報種別
公開特許公報(A)
公開日
2025-12-05
出願番号
2025166402,2023073569
出願日
2025-10-02,2021-05-27
発明の名称
情報処理装置、情報処理方法、およびプログラム
出願人
PayPay株式会社
代理人
個人
,
個人
,
個人
主分類
G06Q
20/42 20120101AFI20251128BHJP(計算;計数)
要約
【課題】ユーザの実際の状況に応じてユーザ情報を迅速に変更することを可能にすること。
【解決手段】ユーザの端末装置にインストールされた決済アプリケーションプログラムと連携した電子決済サービスの提供元が保持している決済サービス関連情報が示す内容に変化があったか否かを、前記電子決済サービスの決済履歴に含まれる決済金額、または前記電子決済サービスを利用して行われる前記ユーザへの支払い情報に基づいて、判定する変化判定部と、前記変化判定部によって前記内容に変化があったと判定された場合、前記ユーザの端末装置に前記内容の変化を通知する判定結果提供部と、を備える情報処理装置。
【選択図】図1
特許請求の範囲
【請求項1】
ユーザの端末装置にインストールされた決済アプリケーションプログラムと連携した電子決済サービスの提供元が保持している決済サービス関連情報が示す内容に変化があったか否かを、前記電子決済サービスの決済履歴に含まれる決済金額、または前記電子決済サービスを利用して行われる前記ユーザへの支払い情報に基づいて、判定する変化判定部と、
前記変化判定部によって前記内容に変化があったと判定された場合、前記ユーザの端末装置に前記内容の変化を通知する判定結果提供部と、
を備える情報処理装置。
続きを表示(約 1,300 文字)
【請求項2】
前記変化判定部は、前記決済金額、または前記支払い情報に基づいて、前記内容として前記ユーザの年収情報に変化があったか否かを判定する、
請求項1に記載の情報処理装置。
【請求項3】
ユーザの端末装置にインストールされた決済アプリケーションプログラムと連携した電子決済サービスの提供元が保持している決済サービス関連情報が示す内容に変化があったか否かを判定する変化判定部と、
前記変化判定部によって前記内容に変化があったと判定された場合、前記ユーザの端末装置に前記内容の変化を通知する判定結果提供部と、
を備える情報処理装置。
【請求項4】
前記決済サービス関連情報は、決済履歴を含む、
請求項3に記載の情報処理装置。
【請求項5】
前記変化判定部は、前記決済履歴に含まれる決済地点の情報に基づいて、前記内容として前記ユーザの勤務先情報に変化があったか否かを判定する、
請求項4に記載の情報処理装置。
【請求項6】
前記変化判定部は、前記決済履歴に含まれる決済地点の情報に基づいて、前記内容として前記ユーザの住所情報に変化があったか否かを判定する、
請求項4に記載の情報処理装置。
【請求項7】
前記変化判定部は、前記決済履歴に含まれる決済金額の情報に基づいて、前記内容として前記ユーザの年収情報に変化があったか否かを判定する、
請求項4に記載の情報処理装置。
【請求項8】
コンピュータが、
ユーザの端末装置にインストールされた決済アプリケーションプログラムと連携した電子決済サービスの提供元が保持している決済サービス関連情報が示す内容に変化があったか否かを、前記電子決済サービスの決済履歴に含まれる決済金額、または前記電子決済サービスを利用して行われる前記ユーザへの支払い情報に基づいて、判定し、
前記内容に変化があったと判定された場合、前記ユーザの端末装置に前記内容の変化を通知する、
情報処理方法。
【請求項9】
コンピュータに、
ユーザの端末装置にインストールされた決済アプリケーションプログラムと連携した電子決済サービスの提供元が保持している決済サービス関連情報が示す内容に変化があったか否かを、前記電子決済サービスの決済履歴に含まれる決済金額、または前記電子決済サービスを利用して行われる前記ユーザへの支払い情報に基づいて、判定させ、
前記内容に変化があったと判定された場合、前記ユーザの端末装置に前記内容の変化を通知させる、
プログラム。
【請求項10】
コンピュータが、
ユーザの端末装置にインストールされた決済アプリケーションプログラムと連携した電子決済サービスの提供元が保持している決済サービス関連情報が示す内容に変化があったか否かを判定し、
前記内容に変化があったと判定された場合、前記ユーザの端末装置に前記内容の変化を通知する、
情報処理方法。
(【請求項11】以降は省略されています)
発明の詳細な説明
【技術分野】
【0001】
本発明は、情報処理装置、情報処理方法、およびプログラムに関する。
続きを表示(約 1,900 文字)
【背景技術】
【0002】
ユーザがネットワークを通じてサービスを利用するために登録した情報の信頼性を評価する技術が知られている。例えば、特許文献1には、ユーザが登録した情報と、事前に記憶した人事情報とを照合することによって、当該情報の信頼性を評価する技術が開示されている。
【先行技術文献】
【特許文献】
【0003】
特開2020-190955号公報
【発明の概要】
【発明が解決しようとする課題】
【0004】
特許文献1に記載の技術では、ユーザが登録した情報の信頼性を評価するために、事前に当該ユーザに対応する人事情報を用意することが必要とされる。その結果、例えば、人事情報の内容に変更がある場合、ユーザは当該人事情報を保存する機関やシステムに変更を通知する必要がある。しかしながら、従来技術では、例えば、ユーザが変更の通知を失念することに起因して、ユーザの実際の状況に応じて人事情報が迅速に変更されない場合があった。
【0005】
本発明は、このような事情を考慮してなされたものであり、ユーザの実際の状況に応じてユーザ情報を迅速に変更することを可能にする情報処理装置、情報処理方法、およびプログラムを提供することを目的の一つとする。
【課題を解決するための手段】
【0006】
本発明の一態様は、ユーザがサービスを利用するための情報として、前記サービスの提供元が保持しているユーザ情報を取得する情報取得部と、前記ユーザの端末装置にインストールされた決済アプリケーションプログラムと連携した電子決済サービスの提供元が保持している、前記ユーザ情報とは異なる内容である決済サービス関連情報に基づいて、前記ユーザ情報が示す内容に変化があったか否かを判定する変化判定部と、前記変化判定部によって前記内容に変化があったと判定された場合、前記端末装置に前記ユーザ情報の更新を依頼する更新依頼部と、を備える情報処理装置である。
【発明の効果】
【0007】
本発明の一態様によれば、ユーザの実際の状況に応じてユーザ情報を迅速に変更することを可能にすることができる。
【図面の簡単な説明】
【0008】
システム1の構成の一例を示す図である。
決済サーバ20の機能構成の一例を示す図である。
ユーザが端末装置10の決済アプリケーションプログラムを用いて決済を行う場面の一例を示す図である。
記憶部30に格納される残高情報32の例示的な構成を示す図である。
記憶部30に格納される決済履歴情報34の例示的な構成を示す図である。
記憶部30に格納されるアップロード情報36の例示的な構成を示す図である。
情報処理装置60の機能構成の一例を示す図である。
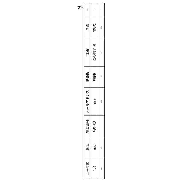
記憶部70に格納されるサービスユーザ情報74の例示的な構成を示す図である。
記憶部30によって格納される残高情報32、決済履歴情報34、およびアップロード情報36と、記憶部70に格納されるサービスユーザ情報74との間の関係を説明するための図である。
変化判定部66によって判定された、サービスユーザ情報74が示す内容に変化の一例を示す図である。
記憶部70に格納される統合情報78の例示的な構成を示す図である。
更新依頼部68がサービスユーザ情報74の更新を依頼することによって端末装置10に表示される更新依頼情報の一例を示す図である。
システム1により実行される処理の流れの一例を示すシーケンス図である。
【発明を実施するための形態】
【0009】
以下、図面を参照し、本発明の情報処理装置、サービス提供システム、情報処理システム、情報処理方法、およびプログラムの実施形態について説明する。
【0010】
図1は、システム1の構成の一例を示す図である。システム1は、例えば、端末装置10と、決済サーバ20と、サービスサーバ40と、情報処理装置60とを備える。サービスサーバ40と、情報処理装置60とを組み合わせたものが「サービス提供システム」の一例であり、端末装置10で動作する後述する決済アプリケーションプログラムと、決済サーバ20と、情報処理装置60とを組み合わせたものが、「情報処理システム」の一例である。
(【0011】以降は省略されています)
この特許をJ-PlatPat(特許庁公式サイト)で参照する
関連特許
PayPay株式会社
情報処理装置、情報処理方法、およびプログラム
4日前
PayPay株式会社
辞書作成方法、辞書作成装置、プログラム、および情報提供装置
4日前
PayPay株式会社
アプリケーションプログラム、決済システム、および端末装置の制御方法
4日前
PayPay株式会社
アプリケーションプログラム、決済システム、決済管理装置、およびプログラム
4日前
PayPay株式会社
情報処理装置、情報処理方法、およびプログラム
4日前
PayPay株式会社
辞書作成方法、辞書作成装置、プログラム、および情報提供装置
4日前
PayPay株式会社
アプリケーションプログラム、決済システム、および端末装置の制御方法
4日前
PayPay株式会社
アプリケーションプログラム、決済システム、決済管理装置、およびプログラム
4日前
個人
詐欺保険
1か月前
個人
縁伊達ポイン
1か月前
個人
RFタグシート
1か月前
個人
5掛けポイント
1か月前
個人
職業自動販売機
25日前
個人
QRコードの彩色
2か月前
個人
ペルソナ認証方式
1か月前
個人
情報処理装置
1か月前
個人
自動調理装置
1か月前
個人
立体グラフの利用方法
4日前
個人
農作物用途分配システム
1か月前
個人
残土処理システム
2か月前
個人
サービス情報提供システム
27日前
個人
インターネットの利用構造
1か月前
個人
知的財産出願支援システム
2か月前
個人
タッチパネル操作指代替具
1か月前
NISSHA株式会社
入力装置
5日前
個人
携帯端末障害問合せシステム
1か月前
個人
スケジュール調整プログラム
1か月前
個人
学習用データ生成装置
6日前
個人
エリアガイドナビAIシステム
1か月前
キヤノン株式会社
情報処理装置
1か月前
株式会社ケアコム
項目選択装置
1か月前
キヤノン株式会社
印刷システム
1か月前
株式会社ケアコム
項目選択装置
1か月前
個人
帳票自動生成型SaaSシステム
2か月前
キヤノン株式会社
画像認識装置
19日前
キヤノン株式会社
情報処理装置
19日前
続きを見る
他の特許を見る