TOP
|
特許
|
意匠
|
商標
特許ウォッチ
Twitter
他の特許を見る
10個以上の画像は省略されています。
公開番号
2025171429
公報種別
公開特許公報(A)
公開日
2025-11-20
出願番号
2024076774
出願日
2024-05-09
発明の名称
情報処理装置、情報処理装置の情報処理方法、およびプログラム
出願人
PayPay株式会社
代理人
弁理士法人谷・阿部特許事務所
主分類
G06K
1/12 20060101AFI20251113BHJP(計算;計数)
要約
【課題】ユーザビリティの向上を図ることができる。
【解決手段】端末装置と、所定の媒体に光学シンボルを印刷する印刷装置と、の間で通信を行う情報処理装置であって、コードを用いた決済サービスを提供する電子決済サーバにおいて送金先のユーザーを識別するための識別情報を含み、かつ、送金先のユーザーに送金するための画面に遷移させるための遷移情報を含む情報コードと、情報コードを印刷装置で出力する際に用いられる出力設定を示す出力設定情報とを端末装置から受信する受信部と、出力設定情報に基づいて、情報コードを所定の媒体に出力する位置およびサイズのうちの少なくとも一方を調整する調整部と、調整部で調整されたコードを、印刷装置において印刷させる指示を送信する送信部と、を備える情報処理装置を提供する。
【選択図】図1
特許請求の範囲
【請求項1】
端末装置と、所定の媒体に光学シンボルを印刷する印刷装置と、の間で通信を行う情報処理装置であって、
コードを用いた決済サービスを提供する電子決済サーバにおいて送金先のユーザーを識別するための識別情報を含み、かつ、前記送金先のユーザーに送金するための画面に遷移させるための遷移情報を含む情報コードと、前記情報コードを前記印刷装置で出力する際に用いられる出力設定を示す出力設定情報とを前記端末装置から受信する受信部と、
前記出力設定情報に基づいて、前記情報コードを前記所定の媒体に出力する位置およびサイズのうちの少なくとも一方を調整する調整部と、
前記調整部で調整されたコードを、前記印刷装置において印刷させる指示を送信する送信部と
を備えることを特徴とする情報処理装置。
続きを表示(約 1,300 文字)
【請求項2】
前記画面において、前記送金先のユーザーへ送金する送金額を指定することが可能であることを特徴とする請求項1に記載の情報処理装置。
【請求項3】
前記受信部が、前記情報コードを、前記識別情報および前記遷移情報が埋め込まれたコード画像として受信すると、前記調整部は、前記コード画像について前記調整を行うことを特徴とする請求項1に記載の情報処理装置。
【請求項4】
前記コード画像は、当該コード画像に、個人間の送金が可能であることを示すロゴが付された画像であることを特徴とする請求項3に記載の情報処理装置。
【請求項5】
前記受信部が前記識別情報および前記遷移情報を受信すると、前記識別情報および前記遷移情報を埋め込んだコード画像を生成する生成部をさらに備えることを特徴とする請求項1に記載の情報処理装置。
【請求項6】
前記情報コードには、前記情報コードを利用可能な期限が設定されていないことを特徴とする請求項1に記載の情報処理装置。
【請求項7】
前記所定の媒体は、スマートフォンのケース、名刺、シール、カードケース、および木材のいずれかであることを特徴とする請求項1に記載の情報処理装置。
【請求項8】
端末装置と、所定の媒体に光学シンボルを印刷する印刷装置と、の間で通信を行う情報処理装置の情報処理方法であって、
コードを用いた決済サービスを提供する電子決済サーバにおいて送金先のユーザーを識別するための識別情報を含み、かつ、前記送金先のユーザーに送金するための画面に遷移させるための遷移情報を含む情報コードと、前記情報コードを前記印刷装置で出力する際に用いられる出力設定を示す出力設定情報とを前記端末装置から受信する受信工程と、
前記出力設定情報に基づいて、前記情報コードを前記所定の媒体に出力する位置およびサイズのうちの少なくとも一方を調整する調整工程と、
前記調整工程で調整されたコードを、前記印刷装置において印刷させる指示を送信する送信工程と
を含むことを特徴とする情報処理装置の情報処理方法。
【請求項9】
端末装置と、所定の媒体に光学シンボルを印刷する印刷装置と、の間で通信を行う情報処理装置のプログラムであって、
コンピュータに、
コードを用いた決済サービスを提供する電子決済サーバにおいて送金先のユーザーを識別するための識別情報を含み、かつ、前記送金先のユーザーに送金するための画面に遷移させるための遷移情報を含む情報コードと、前記情報コードを印刷装置で出力する際に用いられる出力設定を示す出力設定情報とを端末装置から受信する受信手順と、
前記出力設定情報に基づいて前記情報コードを前記所定の媒体に出力する位置およびサイズのうちの少なくとも一方を調整する調整手順と、
前記調整手順で調整されたコードを、前記印刷装置において印刷させる指示を送信する送信手順と
を実行させることを特徴とする情報処理装置のプログラム。
発明の詳細な説明
【技術分野】
【0001】
本開示は、情報処理装置、情報処理装置の情報処理方法、およびプログラムに関するものである。
続きを表示(約 1,800 文字)
【背景技術】
【0002】
銀行などの金融機関を介さずに、個人間で電子マネーの送金を行う送金サービスが普及しつつある。特に、スマートフォンなどの端末装置に搭載可能な決済用のアプリケーション(以降、電子決済アプリと称する)を用いた送金が、その利便性の高さから注目を集めている。
【0003】
特許文献1には、電子決済アプリ上に表示される、送金元の利用者が送金先の利用者を指定するための画面において、送金先の利用者をグループごとに表示する方法が開示されている。
【先行技術文献】
【特許文献】
【0004】
特開2023-006791号公報
【発明の概要】
【発明が解決しようとする課題】
【0005】
しかしながら、上記の従来技術には、送金サービスにおけるユーザビリティの向上を図る上で改善の余地がある。
【0006】
本開示は、ユーザビリティの向上を図ることを目的とする。
【課題を解決するための手段】
【0007】
本開示の一態様に係る情報処理装置は、端末装置と、所定の媒体に光学シンボルを印刷する印刷装置と、の間で通信を行う情報処理装置であって、コードを用いた決済サービスを提供する電子決済サーバにおいて送金先のユーザーを識別するための識別情報を含み、かつ、前記送金先のユーザーに送金するための画面に遷移させるための遷移情報を含む情報コードと、前記情報コードを前記印刷装置で出力する際に用いられる出力設定を示す出力設定情報とを前記端末装置から受信する受信部と、前記出力設定情報に基づいて、前記情報コードを前記所定の媒体に出力する位置およびサイズのうちの少なくとも一方を調整する調整部と、前記調整部で調整されたコードを、前記印刷装置において印刷させる指示を送信する送信部と、を備えることを特徴とする。
【発明の効果】
【0008】
本開示によれば、ユーザビリティの向上を図ることができる。
【図面の簡単な説明】
【0009】
情報処理の一例を示す図である。
システムの構成の一例を示す図である。
情報処理装置のハードウェア構成の一例を示すブロック図である。
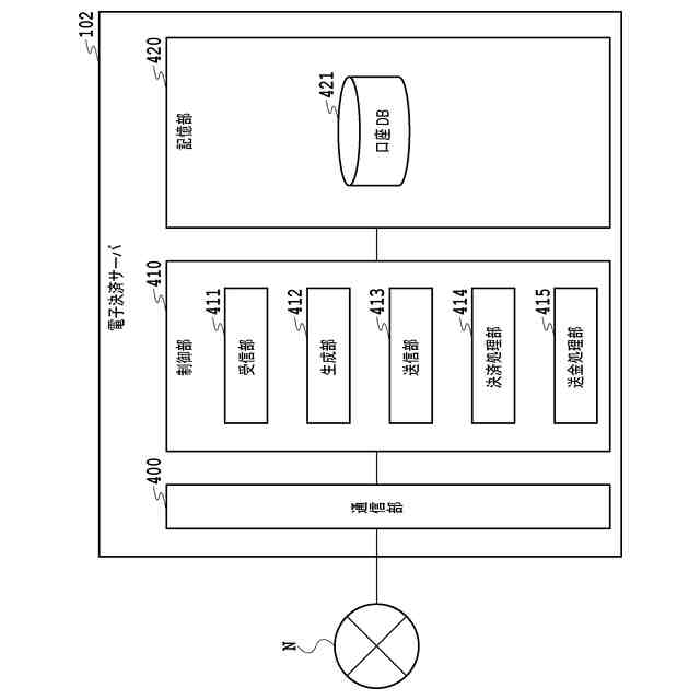
電子決済サーバのソフトウェア構成の一例を示す図である。
口座データベースに記憶された電子口座情報の一例を示す図である。
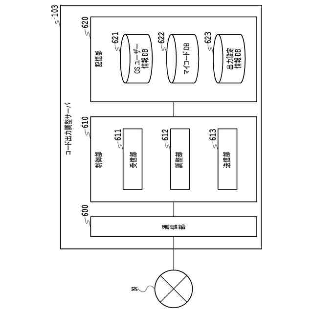
コード出力調整サーバのソフトウェア構成の一例を示す図である。
CSユーザー情報データベースに記憶されたCSユーザー情報の一例を示す図である。
マイコードデータベースに記憶されたCSユーザーのマイコードに関する情報の一例を示す図である。
出力設定情報データベースに記憶された出力設定情報の一例を示す図である。
印刷装置のソフトウェア構成の一例を示す図である。
情報処理の流れの一例を示すシーケンス図である。
端末装置に表示される画面の一例を示す図である。
コード出力調整サーバが実行する処理の一例を示すフローチャートである。
電子決済サーバのソフトウェア構成の一例を示す図である。
PSユーザー情報データベースに記憶された送金情報の一例を示す図である。
端末識別情報データベースに記憶された端末識別情報の一例を示す図である。
情報処理の一例を示す図である。
情報処理の流れの一例を示すシーケンス図である。
送金元の端末装置に表示される画面の一例を示す図である。
送金先の端末装置に表示される画面の一例を示す図である。
コード出力調整サーバのソフトウェア構成の一例を示す図である。
【発明を実施するための形態】
【0010】
以下に、本開示に係る情報処理装置、情報処理装置の情報処理方法、およびプログラムの好適な実施形態について図面を参照しつつ詳細に説明する。なお、以下の実施形態により本開示に係る情報処理装置、情報処理装置の情報処理方法、およびプログラムが限定されるものではない。また、以下の実施形態において同一の構成には同一の符号を付し、重複する説明は省略する。
(【0011】以降は省略されています)
この特許をJ-PlatPat(特許庁公式サイト)で参照する
関連特許
PayPay株式会社
情報処理装置、情報処理方法、およびプログラム
2か月前
PayPay株式会社
情報処理装置、情報処理方法、およびプログラム
4日前
PayPay株式会社
情報処理装置、情報処理方法、およびプログラム
27日前
PayPay株式会社
情報処理装置、情報処理方法、およびプログラム
4日前
PayPay株式会社
情報処理装置、情報処理方法及び情報処理プログラム
11日前
PayPay株式会社
情報処理装置、情報処理方法及び情報処理プログラム
11日前
PayPay株式会社
情報処理装置、情報処理方法及び情報処理プログラム
11日前
PayPay株式会社
情報処理装置、情報処理方法、及び情報処理プログラム
1か月前
PayPay株式会社
情報処理装置、情報処理方法、及び情報処理プログラム
1か月前
PayPay株式会社
辞書作成方法、辞書作成装置、プログラム、および情報提供装置
4日前
PayPay株式会社
情報処理装置、情報処理装置の情報処理方法、およびプログラム
19日前
PayPay株式会社
アプリケーションプログラム、決済システム、および端末装置の制御方法
4日前
PayPay株式会社
アプリケーションプログラム、決済システム、および端末装置の制御方法
4日前
PayPay株式会社
決済サーバ、金融機関サーバ、決済システム、決済方法、およびプログラム
2か月前
PayPay株式会社
アプリケーションプログラム、決済システム、決済管理装置、およびプログラム
4日前
PayPay株式会社
情報処理装置、情報処理方法、およびプログラム
4日前
PayPay株式会社
辞書作成方法、辞書作成装置、プログラム、および情報提供装置
4日前
PayPay株式会社
アプリケーションプログラム、決済システム、および端末装置の制御方法
4日前
PayPay株式会社
アプリケーションプログラム、決済システム、決済管理装置、およびプログラム
4日前
個人
詐欺保険
1か月前
個人
縁伊達ポイン
1か月前
個人
職業自動販売機
25日前
個人
RFタグシート
1か月前
個人
5掛けポイント
1か月前
個人
ペルソナ認証方式
1か月前
個人
地球保全システム
2か月前
個人
QRコードの彩色
2か月前
個人
情報処理装置
1か月前
個人
自動調理装置
1か月前
個人
立体グラフの利用方法
4日前
個人
残土処理システム
2か月前
個人
農作物用途分配システム
1か月前
個人
サービス情報提供システム
27日前
個人
インターネットの利用構造
1か月前
個人
タッチパネル操作指代替具
1か月前
個人
知的財産出願支援システム
2か月前
続きを見る
他の特許を見る