TOP
|
特許
|
意匠
|
商標
特許ウォッチ
Twitter
他の特許を見る
公開番号
2025177920
公報種別
公開特許公報(A)
公開日
2025-12-05
出願番号
2024085082
出願日
2024-05-24
発明の名称
辞書作成方法、辞書作成装置、プログラム、および情報提供装置
出願人
PayPay株式会社
代理人
個人
,
個人
,
個人
主分類
G06Q
20/24 20120101AFI20251128BHJP(計算;計数)
要約
【課題】クレジットカードが使用されたときに、利用者に分かりやすい通知を行う(或いは行うことができるように準備する)こと。
【解決手段】クレジットカードのネットワークで送受信されたオーソリ電文の情報の群と、クレジットカードのネットワークで送受信された売上電文の情報の群とを取得する処理と、取得された二つの情報の群のうち同じ決済に対応する情報の組を抽出する処理と、抽出された情報の組に基づいて、オーソリ電文に含まれる情報の少なくとも一部を検索キーとして、決済が行われた店舗が属する加盟店の加盟店名称であって、漢字を含む場合がある加盟店名称を出力する辞書を作成する処理と、を備える辞書作成方法。
【選択図】図6
特許請求の範囲
【請求項1】
辞書作成装置が実行する辞書作成方法であって、
クレジットカードのネットワークで送受信されたオーソリ電文の情報の群と、前記クレジットカードのネットワークで送受信された売上電文の情報の群とを取得する処理と、
前記取得された二つの情報の群のうち同じ決済に対応する情報の組を抽出する処理と、
前記抽出された情報の組に基づいて、前記オーソリ電文に含まれる情報の少なくとも一部を検索キーとして、決済が行われた店舗が属する加盟店の加盟店名称であって、漢字を含む場合がある加盟店名称を出力する辞書を作成する処理と、
を備える辞書作成方法。
続きを表示(約 1,700 文字)
【請求項2】
前記辞書作成装置は、前記抽出する処理において、前記オーソリ電文の情報の群に含まれる第1対象情報と、前記売上電文の情報の群に含まれる第2対象情報であって前記第1対象情報の種別と同じ種別の第2対象情報とを比較して、一致する前記第1対象情報と前記第2対象情報の組みを抽出する、
請求項1に記載の辞書作成方法。
【請求項3】
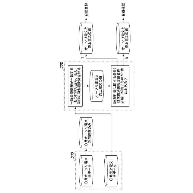
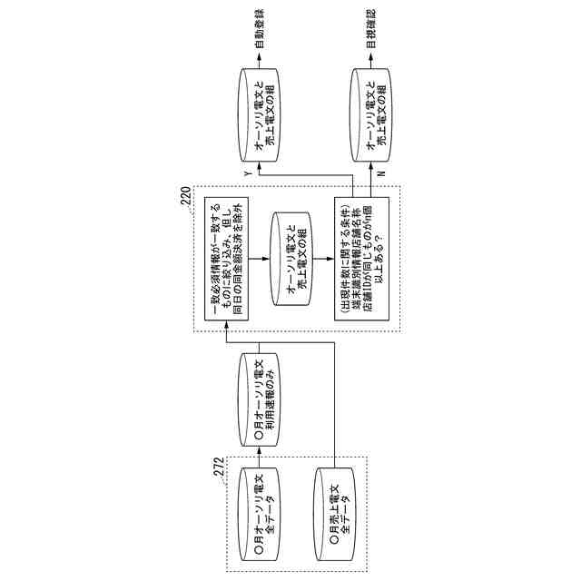
前記オーソリ電文の情報は、クレジットカード番号、利用日、決済金額、クレジット処理端末の端末識別番号、および店舗IDを少なくとも含み、
前記売上電文の情報は、前記クレジットカード番号、前記利用日、前記決済金額、および前記加盟店名称を少なくとも含み、
前記辞書作成装置は、前記抽出する処理において、前記クレジットカード番号、前記利用日、および前記決済金額が一致する情報の組のうち、出現数に関する条件を満たす情報の組を抽出する、
請求項1記載の辞書作成方法。
【請求項4】
前記辞書作成装置が、前記抽出する処理において、前記クレジットカード番号、前記利用日、および前記決済金額が一致する情報の組のうち、同じ前記利用日が対応付けられた複数の情報の組については、除外対象とする、
請求項3記載の辞書作成方法。
【請求項5】
前記出現数に関する条件は、前記端末識別番号、前記店舗ID、および前記加盟店名称が同じ情報の組が、所定期間において所定数以上、出現したことである、
請求項3記載の辞書作成方法。
【請求項6】
前記辞書作成装置は、前記出現数に関する条件を満たさない情報の組について、操作者の操作による承認および編集を経て、前記抽出される情報の組に追加する、
請求項3記載の辞書作成方法。
【請求項7】
クレジットカードのネットワークで送受信されたオーソリ電文の情報の群と、前記クレジットカードのネットワークで売上電文の情報の群とを取得する取得部と、
前記取得された二つの情報の群のうち同じ決済に対応する情報の組を抽出する抽出部と、
前記抽出された情報の組に基づいて、前記オーソリ電文に含まれる情報の少なくとも一部を検索キーとして、決済が行われた店舗が属する加盟店の加盟店名称であって、漢字を含む場合がある加盟店名称を出力する辞書を作成する作成部と、
を備える、
辞書作成装置。
【請求項8】
辞書作成装置のプロセッサに、
クレジットカードのネットワークで送受信されたオーソリ電文の情報の群と、前記クレジットカードのネットワークで売上電文の情報の群とを取得する処理と、
前記取得された二つの情報の群のうち同じ決済に対応する情報の組を抽出する処理と、
前記抽出された情報の組に基づいて、前記オーソリ電文に含まれる情報の少なくとも一部を検索キーとして、決済が行われた店舗が属する加盟店の加盟店名称であって、漢字を含む場合がある加盟店名称を出力する辞書を作成する処理と、
を実行させるためのプログラム。
【請求項9】
利用者がクレジットカードを使用した際のオーソリ電文の情報を取得したときに、取得した前記オーソリ電文の情報の少なくとも一部を用いて、請求項1から6のうちいずれか1項記載の辞書作成方法によって作成された辞書を検索する検索部と、
前記検索によって得られた前記加盟店名称を含む決済通知情報を、前記クレジットカードの利用者が利用する端末装置に通知する通知部と、
を備える情報提供装置。
【請求項10】
情報提供装置のプロセッサに、
利用者がクレジットカードを使用した際のオーソリ電文の情報を取得したときに、取得した前記オーソリ電文の情報の少なくとも一部を用いて、請求項1から6のうちいずれか1項記載の辞書作成方法によって作成された辞書を検索する処理と、
前記検索によって得られた前記加盟店名称を含む決済通知情報を、前記クレジットカードの利用者が利用する端末装置に通知する処理と、
を実行させるためのプログラム。
発明の詳細な説明
【技術分野】
【0001】
本発明は、辞書作成方法、辞書作成装置、プログラム、および情報提供装置に関する。
続きを表示(約 1,900 文字)
【背景技術】
【0002】
クレジットカードが使用されたときに、決済情報の一部を利用者に通知する技術が知られている(特許文献1等)。この通知は、利用者の端末装置で動作するアプリケーションプログラムを介したプッシュ通知で行われたり、電子メールで行われたりする。
【先行技術文献】
【特許文献】
【0003】
特許第5629479号公報
【発明の概要】
【発明が解決しようとする課題】
【0004】
クレジットカードが使用された場合にネットワークで送受信される情報(以下、電文と称する)には、クレジットカードの権限を確認するための電文(以下、オーソリ電文)と、決済額を連絡するための電文(売上電文)がある。オーソリ電文は使用のタイミングで送受信されるが、売上電文はそれに遅れて(例えば数日後に)送受信される。従って、リアルタイムに近い形で利用者に上記の通知を行う場合、オーソリ電文に基づいて通知文を作成することになるが、オーソリ電文に含まれる店舗名称は存在したりしなかったりする上に、存在したとしてもアルファベット表記(英語表記あるいはローマ字表記)であるため、そのまま利用者に通知しても一見して利用した店舗が分かりにくいものであった。このため、従来の技術では、クレジットカードが使用されたときに、利用者に分かりやすい通知を行うことができない場合があった。
【0005】
本発明は、このような事情を考慮してなされたものであり、クレジットカードが使用されたときに、利用者に分かりやすい通知を行う(或いは行うことができるように準備する)ことが可能な辞書作成方法、辞書作成装置、プログラム、および情報提供装置を提供することを目的の一つとする。
【課題を解決するための手段】
【0006】
本発明の一態様は、辞書作成装置が実行する辞書作成方法であって、クレジットカードのネットワークで送受信されたオーソリ電文の情報の群と、前記クレジットカードのネットワークで送受信された売上電文の情報の群とを取得する処理と、前記取得された二つの情報の群のうち同じ決済に対応する情報の組を抽出する処理と、前記抽出された情報の組に基づいて、前記オーソリ電文に含まれる情報の少なくとも一部を検索キーとして、決済が行われた店舗が属する加盟店の加盟店名称であって、漢字を含む場合がある加盟店名称を出力する辞書を作成する処理と、を備える辞書作成方法である。
【発明の効果】
【0007】
本発明の一態様によれば、クレジットカードが使用されたときに、利用者に分かりやすい通知を行う(或いは行うことができるように準備する)ことができるように支援することができる。
【図面の簡単な説明】
【0008】
クレジットカードサービスが提供されるためのシステムの一例を示す図である。
クレジットカード決済の処理の大まかな流れの一例を示す図である。
辞書174の内容の一例を示す図である。
端末装置10において決済通知情報が表示される画面の一例を模式的に示す図である。
辞書作成装置200の構成の一例を示す図である。
辞書作成装置200において実行される処理の流れの一例を示す図である。
【発明を実施するための形態】
【0009】
以下、図面を参照し、本発明の辞書作成方法、辞書作成装置、プログラム、および情報提供装置の実施形態について説明する。以下に登場する「サーバ」、「管理装置」「情報提供装置」などの、利用者にサービスを提供したり内部解析を行ったりするための各種装置は、分散化された装置群によって実現されてよく、それぞれの装置を運用する事業者は異なってもよい。また装置のハードウェアの保有者(クラウドサーバの提供者)と実質的な運用を行う事業者も異なってよい。
【0010】
アプリケーションプログラムとクレジットカードサーバは、協働してクレジットカードの使用に関する各種サービスを提供する。以下の説明ではアプリケーションプログラムをクレジットカードアプリと称する。クレジットカードアプリは、スマートフォンなどの端末装置を用いて行われる電子決済サービスを受けるための、決済アプリから呼び出されるミニアプリであってもよいが、以下の説明ではクレジットカードアプリが単体で動作するものとする。
(【0011】以降は省略されています)
この特許をJ-PlatPat(特許庁公式サイト)で参照する
関連特許
個人
職業自動販売機
25日前
個人
5掛けポイント
1か月前
個人
立体グラフの利用方法
4日前
個人
サービス情報提供システム
27日前
NISSHA株式会社
入力装置
5日前
個人
学習用データ生成装置
6日前
キヤノン株式会社
情報処理装置
19日前
キヤノン株式会社
画像認識装置
19日前
株式会社ワコム
電子ペン
1か月前
キラル株式会社
顧客体験提供システム
7日前
キヤノン株式会社
情報処理装置
1か月前
株式会社ワコム
電子ペン
1か月前
キヤノン株式会社
情報処理装置
19日前
個人
請求金額算出システム
11日前
キヤノン電子株式会社
情報処理システム
4日前
株式会社ITP
仮想展示システム
13日前
株式会社アジラ
行動推定システム
19日前
大同大學
スーパーアプリ構築方法
19日前
株式会社フジシール
識別情報利用システム
25日前
株式会社ゼロワン
ケア支援システム
1か月前
トヨタ自動車株式会社
作業計画装置
20日前
PRONI株式会社
受発注支援装置
25日前
PRONI株式会社
受発注支援装置
25日前
キヤノン株式会社
映像送受信システム
1か月前
個人
新規提案・特典情報提供システム
14日前
個人
キャリアウーマン家庭科実習プログラム
25日前
株式会社結設計
建築物再利用システム
4日前
村田機械株式会社
ストレージシステム
12日前
村田機械株式会社
タスク管理システム
19日前
エレコム株式会社
入力機器
25日前
トヨタ自動車株式会社
作業手順管理方法
20日前
株式会社大林組
運搬管理システム
12日前
株式会社大林組
進捗管理システム
19日前
株式会社神路社
おみくじシステム
19日前
個人
電子文書データ、電子文書の閲覧用電子機器
11日前
株式会社セガ
プログラム及び情報処理装置
1か月前
続きを見る
他の特許を見る